123146 (717117), страница 3
Текст из файла (страница 3)
При производстве хлорида калия из сильвинита около 80% извлекаемой из недр руды после переработки идет в отвал в виде галито-вых отходов, глинисто-солевых шламов и рассолов. На поверхности земли вблизи калийных предприятий скопились миллионы тонн солевых отвалов.
При коксовании каменного угля наряду с основным продуктом — коксом — образуются газ, бензол, сырая каменноугольная смола и другие продукты. Выход сырой смолы составляет до 5% от массы каменного угля. При фракционной разгонке смолы получают легкие, средние и тяжелые масла, содержащие ряд химических веществ, а также антраценовое масло и пек — компоненты дорожного дегтя. В процессе отстаивания каменноугольной смолы в хранилищах образуются фусы — отходы, содержащие смолистые вещества (50—80%), угольную и коксовую пыль, железистые и другие соединения. В процессе очистки серной кислотой бензольной фракции каменноугольной смолы образуется так называемая кислая смолка, представляющая собой черную вязкую массу с плотностью 1,28—1,3 г/см3.
К отходам коксохимического производства относятся также кубовые остатки ректификации сырого бензола и некоторые другие продукты.
Крупнотоннажные отходы образуются в процессе переработки нефти в виде кислых гудронов, нефтяных шламов, отработанных масел и др.
ГЛАВА 3. ИЗВЛЕЧЕНИЕ КРЕМНЕФТОРИСТОВОДОРОДНОЙ КИСЛОТЫ ИЗ ПРОЦЕССА ПРОИЗВОДСТВА ФОСФОРНОЙ КИСЛОТЫ
В процессе производства концентрированных фосфатных удобрений фосфорсодержащая руда подвергается экстракции раствором серной кислоты. Полученная разбавленная фосфорная кислота концентрируется упариванием и затем используется для получения концентрированных жидких и гранулированных фосфорсодержащих удобрений. В процессе экстракции фосфорной кислоты из руды серной кислотой образуется фтористый водород. При наличии диоксида кремния образуется кремнефто-ристоводородная кислота. Большое количество фтористых соединений остается в разбавленной фосфорной кислоте в виде фтористого водорода и кремнефтористоводородной кислоты. В процессе концентрирования упариванием большинство фтора выделяется вместе с паром в виде HF и четырехфтористого кремния в различных количествах, определяемых составом исходных руд. Токсичность этих соединений требует очистки отходящих газов. В то же время газы содержат ценный химический материал для получения фторсодержащих неорганических солей. На отдельных заводах от 10 до 30 тыс. т/год фторсодержащих соединений может быть получено в результате очистки отходящих газов.
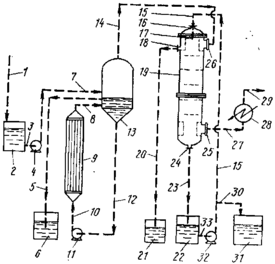
Использует прямоточный абсорбер для выделения фтора в виде крем-нефтористоводородной кислоты с невысоким содержанием фосфора из отходов производства фосфатов. Аппарат представляет собой усовершенствованный прямоточный абсорбер, использующий многократное циклонное разделение, прямоток и многократное капельное рассекание потока. Абсорбер и его место в общем процессе показаны на рис. 1.
При начале работы системы нагреватель 9, испаритель 13 и циркуляционный трубопровод 12 заполняются до требуемого уровня фосфорной кислотой. Уровень кислоты в испарителе 13 поддерживается постоянным и регулируется сливной трубой 5 (барометрическая труба). Далее в холодильник 28 подается вода и с помощью вакуумного насоса (не показан) в системе создается вакуум.
Включается циркуляционный насос И для подачи фосфорной кислоты и начинается подача пара в нагреватель 9. При этом кислотный раствор в трубках нагревателя перегревается и образуется паро-кислотная смесь, которая непрерывным потоком подается из 9 в испаритель 13. В испарителе 13 пары выходят по линии 14, а жидкость стекает в трубу 12. Таким образом осуществляется непрерывное циркулирование кислоты через линию 12 в нагреватель 9, через насос // и трубопровод 8, затем в испаритель 13 по линии 8 и из испарителя и циркуляционную трубу 12, после этого процесс повторяется.
Когда кислота в 12 достигает необходимой концентрации начинается непрерывная подача в систему разбавленной кислоты из резервуара 2 по линиям 3 и 7 с помощью насоса 4.
Концентрированная кислота при превышении уровня сливается из испарителя 13 по трубе 5 в резервуар для сбора концентрированной кислоты 6. В известном способе пары из 13 подавались в конденсатор 28 с помощью вакуумного насоса, при этом получалась кремнефтористоводородная кислота, загрязненная фосфорной кислотой.
Для выделения фторсодержащих соединений из паров дополнительно используется прямоточный абсорбер 19, который помещается между испарителем 13 и конденсатором 28. Пары из испарителя 13 по линии 14 проходят в верхнюю часть абсорбера 19 через ввод 26 и контактируют с рециркулируемым раствором. Затем пары выходят из 19 по линии 27 и конденсируются в конденсаторе 28. В нем поддерживается температура достаточно низкая для конденсации всех паров. Таким образом исключается возможность загрязнения воздуха.
При включении системы резервуар 22 заполняется водой и приводится в действие насос 32. Абсорбер 19 орошается раствором, подаваемым через ввод 17 насосом 32 по линии 15 из резервуара 22. При этом происходит промывка паров, поступающих из испарителя 13 через ввод 26. Водорастворимые компоненты паров поглощаются циркулирующим раствором.
В случае переработки газов производства фосфорной кислоты мокрым способом происходит реакция взаимодействия тетрафторида кремния с водой в соответствии с уравнением
Фтористый водород взаимодействует с диоксидом кремния с образованием кремне-фтористоводородной кислоты
Жидкость из абсорбера 19 проходит по трубе 23 в резервуар 22, откуда снова подается для орошения абсорбера насосом 32. По мере достижения концентрации кремнефто-ристоводородной кислоты ~30 %, раствор из 22 по линии 30 отводится в резервуар для хранения получаемого раствора кремнефтористоводородной кислоты 31.
Температура в аппарате для выделения фтористых соединений соответствует равновесной температуре пара при данном используемом давлении. Абсорбер 19 работает при давлении 13,5—98,5 КПа, температура пара при этих условиях составляет 20—95° С.
В верхней части абсорбера находится сливное отверстие 18 для удаления по линии 20 в резервуар 21 любых жидкостей, конденсирующихся перед подачей в абсорбер. В нижней части находится выходное отверстие 25 для удаления по линии 27 паров, остающихся после прохождения через абсорбер. В нижней части также находится отверстие 24 для вывода жидкости по линии 23 в резервуар для циркулирующей жидкости 22.
ЛИТЕРАТУРА
1. Кислотные методы переработки фосфатного сырья / Е.Л. Яхонтова, И.А. Петропавловский, В.Ф. Кармышов, И.А. Спиридонова. – М.: Химия, 1988. – 288 с.
2. Шуб Б.И. Перспективы развития полугидратного процесса получения экстракционной фосфорной кислоты / Б.И. Шуб, Э.В. Хлебодарова // Химическая промышленность. – 1999. - №11. – С.41-43.
3. Большая советская энциклопедия / под ред. А.Н. Прохорова. – М.: Советская энциклопедия, 1976. – Т.23.
4. Копылев В.Н. Технология экстракционной фосфорной кислоты / В.Н. Копылев. – М.: Химия, 1981. – 224 с.















