122926 (717052), страница 2
Текст из файла (страница 2)
установлюється в положення, при якому вісь труби проходить посередині резервуара. Занурення кінця термометра до центра труби, тобто в зону найбільшої швидкості потоку, поліпшує теплообмін між середовищем, що рухається.
Найбільш правильною є установка термометра уздовж осі трубопроводу на коліні з висхідним потоком (рис.4.2, а), тому що при цьому умови обтікання кінця гільзи досить сприятливі. На горизонтальному трубопроводі діаметром до 200 мм термометр установлюється похило до осі труби назустріч потоку (рис.4.2, б). При діаметрі трубопроводу більше 200 мм термометр може бути розташований за нормаллю до осі труби (рис.4.2, в). На прямій вертикальній ділянці трубопроводу з висхідним потоком термометр завжди встановлюється похило назустріч потоку (рис.4.2, г). Установлювати термометри на вертикальних трубопроводах зі спадним потоком не рекомендується.
4. Дилатометричні термометри
До дилатометричних термометрів відносяться стрижневі і пластинчастий (біметалічний) термометри, дія яких засноване на відносному подовженні під впливом температури двох твердих тіл, що мають різні температурні коефіцієнти лінійного розширення.
Стрижневий термометр (рис.4.3, а) має закриту з одного кінця трубку 1, що поміщується у вимірювальне середовище і виготовлену з матеріалу з більшим коефіцієнтом лінійного розширення. У трубку вставлений стрижень 2, що притискається до її дна важелем 3, з’єднаним із пружиною 4. Стрижень виготовлений з матеріалу з малим коефіцієнтом розширення. При зміні температури трубка змінює свою довжину, що приводить до переміщення в ній стрижня, що зберігає майже постійні розміри і з'єднаного за допомогою важеля 3 із вказівною стрілкою приладу.
Рисунок 4.3 - Дилатометричні термометри: а – стрижневий; б – пластинчастий.
Пластинчастий термометр (рис.4.3, б) складається із двох вигнутих і спаяних між собою по краях металевих смужок, з яких смужка 1 має великий коефіцієнт лінійного розширення, а смужка 2 — малий. Отримана пластинка міняє залежно від температури ступінь свого вигину, величина якого за допомогою тяги 3, важеля 4 і з'єднаної з ним стрілки вказується по шкалі приладу. При збільшенні температури пластинка вигинається убік металу з меншим коефіцієнтом лінійного розширення.
Дилатометричні термометри не одержали поширення як самостійні прилади, а використовуються головним чином як чутливі елементи в сигналізаторах температури. Крім того, пластинчасті термометри іноді застосовуються для компенсації впливу змінної температури навколишнього повітря на показання інших приладів, у які вони вбудовуються.
5. Манометричні термометри
Дія манометричних термометрів заснована на залежності тиску рідини, газу або пари з рідиною в замкнутому об’ємі (термосистемі) від температури. Зазначені термометри є промисловими що показують і самописними приладами, призначеними для вимірювання температури в діапазоні до 600°С. Клас точності їх 1-2,5.
Залежно від робочої речовини, яка використовується в термосистемі, манометричні термометри розділяються на газові, рідинні і конденсаційні (мають як робочу речовину органічні рідини з низькою температурою кипіння: хлористий метил, ацетон і фреон). Вибір робочої речовини виконується виходячи із заданого діапазону показань і умов вимірювання.
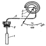
Рисунок 4.4 - Схема манометричного термометра, що показує
Схема манометричного термометра, що показує, приведена на рис.4.4. Термосистема приладу, заповнена робочою речовиною, складається з термобалону 1, що занурюється у вимірювальне середовище, манометричної трубчастої пружини 2, що діє за допомогою тяги 3 на вказівну стрілку 4, і капіляра 5, що з'єднує пружину з термобалоном.
Термобалон являє собою металеву трубку, закриту з одного кінця, а з іншого з'єднану з капіляром. За допомогою знімного штуцера 6 з різьбленням і сальником термобалон установлюється в трубопроводах, баках і т.п. Можлива установка його і у захисній гільзі. При нагріванні термобалона збільшення тиску робочої речовини передається через капіляр трубчастій пружині і приводить до розкручування останньої доти, поки діюче на неї зусилля, пропорційне різниці тисків у системі і навколишнім повітрі, не зрівноважиться силою її пружної деформації.
6. Термоелектричні термометри
Дія термоелектричних термометрів заснована на властивості металів і сплавів створювати термоелектрорушійну силу (термо-е.р.с), що залежить від температури місця з'єднання (спаю) кінців двох різнорідних провідників (термоелектродів), що утворюють чутливий елемент термометра — термопару. Маючи у своєму розпорядженні закон зміни термо-е.р.с. термометра від температури і визначаючи значення термо-е.р.с. електровимірювальним приладом, можна знайти шукане значення температури в місці вимірювання.
Термоелектричний термометр, що складається із двох спаяних і ізольованих по довжині термоелектродів, захисного чохла і головки із затискачами для підключення сполучної лінії, є первинним вимірювальним перетворювачем. Як вторинні прилади, що працюють із термоелектричними термометрами, застосовуються магнітоелектричні мілівольтметри і потенціометри.
Термоелектричні термометри широко застосовуються в енергетичних установках для вимірювання температури перегрітої пари, димових газів, металу труб котлоагрегатів і т.п. Позитивними властивостями їх є: великий діапазон вимірювання, висока чутливість, незначна інерційність, відсутність стороннього джерела електричного струму і легкість здійснення дистанційної передачі показань.
Для одержання порівняно високих значень термо-е.р.с. вибір термоелектродів проводиться таким чином, щоб у парі із платиною один з них створював позитивну, а інший негативну термо-е.р.с.
Термоелектричні термометри, що одержали практичне застосування, розділяються по матеріалам термоелектродів на дві групи: зі благородних (платина, платинородій) і неблагородних металів або сплавів (хром-алюмель, хромель-копеловий сплав). Термометри типів ТПП і ТПР із термоелектродами із благородних металів і сплавів застосовуються головним чином для вимірювання температури вище 1000°С, тому що вони мають велику термостійкість. Незважаючи на відносно малі значення що розвиває термо-е.р.с. термометри типу ТПП завдяки винятковій сталості термоелектричних властивостей і великому діапазону вимірювання одержали широке поширення головним чином як лабораторні, зразкові і еталонні.
Випускаються одинарні (з одним чутливим елементом) і подвійні (із двома чутливими елементами) термоелектричні термометри різних типів.
Подвійні термометри застосовуються для вимірювання температури в тому самому місці одночасно двома вторинними приладами, установленими в різних пунктах спостереження. Вони містять два однакових чутливих елементи, з’єднаних у загальні арматури. Термоелектроди ізольований одне від одного і знаходяться у захисному чохлі.
На рис.4.5 показаний устрій термометра типу ТПП. Термоелектроди, що утворюють робочий кінець (спай) 1, ізольовані по довжині порцеляновими трубками 2 і 3 і поміщені в захисний чохол 4, розрахований на атмосферний тиск. Для додання чохлу додаткової міцності неробоча частина його вставлена в сталеву трубку 5. За допомогою сталевих втулок 6 і 7 захисний чохол з'єднаний з корпусом 8, у якому закріплені два затискачі 9 із припаяними до них термоелектродами, ущільненими мастикою 10. Корпус закритий знімною кришкою 11 на різьбленні, ущільненим прокладкою 12. Для уведення в корпус зовнішніх сполучних проводів служить штуцер 13 з ущільненням 14. На поверхні закріплена металева табличка 15, на якій зазначені: тип термометра, допускаємий тиск і кінцеву температуру вимірюваного середовища, матеріал захисного чохла, дата виготовлення термометра і марка підприємства-виробника.
На точність вимірювання термоелектричним термометром великий вплив роблять спосіб установки і правильність проведення перевірки термометра і вторинного приладу.
Одним з основних вимог, які рекомендуються при установці термоелектричного термометра, є досягнення мінімального витоку тепла по його арматурах. Для цього термометр можливо глибше занурюють у вимірювальне середовище, що приводить до збільшення теплосприймаючій поверхні, і розташовується в місцях з великою швидкістю потоку, що поліпшує умови теплообміну.
Рисунок 4.5 - Термоелектричний термометр типу ТПП (А) иТХА (Б)
7. Термометри опору
Для вимірювання температури широке застосування отримали термометри опору, дія яких заснована на зміні електричного опору металевих провідників залежно від температури. Метали, як відомо, збільшують при нагріванні свій опір. Отже, знаючи залежність опору провідника від температури і визначаючи цей опір за допомогою електровимірювального приладу, можна судити про температуру провідника.
Застосовуються технічні (промислові), зразкові і еталонні платинові термометри опору.
Термометр опору, чутливий елемент якого складається з тонкого спірального дроту (обмотки), ізольованого і поміщеного в металевий захисний чохол з головкою для підключення сполучних проводів, є первинним вимірювальним перетворювачем, які живляться від стороннього джерела струму.
Як вторинні прилади, що працюють із термометрами опору, застосовуються врівноважені і неврівноважені вимірювальні мости і магнітоелектричні логометри.
Кінцева межа вимірів дротових термометрів опору, обумовлена стійкістю їх при нагріванні, дорівнює 650°С.
Достоїнствами термометрів опори є: висока точність вимірювання, можливість одержання приладів з безнульовою шкалою на вузький діапазон температур, легкість здійснення автоматичного запису і дистанційної передачі показань і можливість приєднання до одного вторинного приладу за допомогою перемикача декількох однотипних термометрів. До недоліків цих приладів ставиться потреба в стороннім джерелі струму.
8. Пірометри
Пірометри застосовуються для вимірювання температури тіл у діапазоні -30…6000С. Дія цих приладів заснована на залежності теплового випромінювання нагрітих тіл від їхньої температури і фізико-хімічних властивостей. На відміну від термометрів первинний перетворювач пірометра не підпадає під вплив високої температури і не змінює температурне поле, тому що перебуває поза вимірювальним середовищем.
З підвищенням температури нагрітого тіла інтенсивність його теплового випромінювання у вигляді електромагнітних хвиль різної довжини швидко зростає. При нагріванні до 500°С тіло випромінює невидимі інфрачервоні промені великої довжини хвилі, однак подальше збільшення температури викликає появу видимих променів меншої довжини, завдяки яким тіло починає світитися. Спочатку розпечене тіло має темно-червоні кольори, що у міру росту температури і появи променів, що поступово зменшуються за довжиною хвилі, переходить у червоний, жовтогарячий, жовтий і, нарешті, білі кольори, що складається з комплексу променів різної довжини хвилі.
Одночасно зі збільшенням температури нагрітого тіла і зміною його кольору сильно зростає інтенсивність часткового (монохроматичного або одноколірного) випромінювання (яскравість) для даної ефективної довжини хвилі, а також помітно збільшується інтенсивність сумарного випромінювання (радіація) тілом енергії, що дозволяє використовувати ці властивості для вимірювання температури нагрітих тіл.
Різні фізичні тіла, що нагріті до однієї і тієї ж температури, мають неоднакові часткову і сумарну інтенсивності випромінювання і мають різні коефіцієнти поглинання, що представляють собою відношення енергії, поглиненої тілом, до енергії, що падає на тіло.
Найбільшу здатність випромінювання і поглинання енергії має так називане абсолютно чорне тіло, у природі не існуюче, що представляє собою уявлюваний ідеальний випромінювач. Це тіло поглинає всі падаючі на нього промені, тобто має коефіцієнт поглинання, що дорівнює одиниці, і має найбільшу інтенсивність випромінювання. Фізичні тіла мають здатність відбивати частину падаючих на них променів і, отже, завжди мають коефіцієнт поглинання менше одиниці. Інтенсивність випромінювання і коефіцієнт поглинання при даній температурі залежать від складу речовини і стану його поверхні. Тіло, що має темну і шорсткувату поверхню, ближче по своїх властивостях до чорного тіла, чим тіло зі світлою і полірованою поверхнею.
У цьому зв'язку шкалу пірометра доводиться градуювати по випромінюванню чорного тіла. Тому що випромінювальна здатність реальних тіл менше, ніж чорних тіл, то показання пірометра будуть відповідати не дійсній температурі реального тіла, а дають умовну температуру або, у цьому випадку, так називану температуру яскравості. Пірометри, що вимірюють температуру яскравості по спектральній яскравості у видимій частині спектра, називають оптичними (квазімонохроматичні) візуальними пірометрами і фотоелектричними.















