122788 (717031), страница 3
Текст из файла (страница 3)
Различные схемы таких устройств. Вдоль линейной или замкнутой трассы конвейеров могут разместиться до 25 станков, а также общеучастковые накопители. Система обеспечения функционирования производства вынесена за пределы участка.
Наконец, практически применяются ГПС. использующие для межоперационных перемещений напольные рельсовые транспортные устройства, а также безрельсовые устройства без водителей. перемещающиеся по специальным проездам. Количество установленных станков определяется размерами выпуска. Использование подобных схем целесообразно для производственных участков, в которых станки располагаются группами разнообразной конфигурации и требуется создание криволинейных трасс для межоперационных перемещений, а также в тех случаях, когда различные склады и участки подготовки производства размещаются в отдалении от технологического оборудования. Транспортные трассы в таких случаях обычно бывают закольцованы.
Различные варианты подобных структур ГПС.
Система управления ГПС относится к многоуровневым иерархическим системам управления. Для иерархических систем характерно то, что информационно-управляющее взаимодействие происходит только между расположенными рядом уровнями иерархии управления. Например, третий уровень управления не может передавать управляющие воздействия на первый уровень управления, минуя второй. В случае структур ГПС к нижнему уровню управления относятся устройства числового программного управления отдельными станками, устройства управления краном-штабелером и отдельными устройствами, входящими в транспортно-складскую систему. Средний уровень системы управления ГПС обеспечивает прием плановых заданий от верхнего уровня системы управления (независимо от того, составляются эти плановые задания с помощью компьютерных систем или же человеком), автоматизацию оперативного управления централизованными службами обеспечения производства, координирует работу систем нижнего уровня. Наконец, на верхнем уровне управления ГПС производится разработка плановых и директивных документов (или массивов), определяющих функционирование данной ГПС в течение рассматриваемого временного интервала.
Информационной базой для управления ГПС является компьютерная модель, отражающая состояние этой ГПС и включающая модель склада-накопителя, транспортно-накопительной системы и пунктов загрузки-выгрузки.
Основные задачи компьютерной техники при управлении ГПС следующие:
-
оперативно-календарное планирование производства, включая подетальное планирование на месяц, расчет сменно-суточного задания, расчет подетально-операционного плана на заданный период времени, отображение, контроль и коррекция сменно-суточных заданий, формирование партий запуска и выпуска, расчет загрузки оборудования;
-
технологическая подготовка производства, включая планирование и учет комплектования ГПС инструментом, оснасткой и управляющими программами на заданный календарный период, планирование обеспечения ГПС заготовками, разработку карт наладок и укомплектовочных карт инструмента, автоматизацию разработки технологических процессов и управляющих программ для станков с ЧПУ;
-
оперативное управление и ведение отчетности, включая выполнение сменно-суточных заданий, комплектование заказов, обеспечение заготовками, запуск деталей в обработку и их движение, возникновение брака, поступление и местонахождение грузоединиц в складах-накопителях, работу и простой оборудования;
-
технико-экономическое планирование и учет, включая учет выполнения производственной программы за сутки, смену и с начала месяца, расчет плана технико-экономических показателей ГПС и учет его выполнения;
3. Основные признаки по которым различают автоматические линии
Рассмотрим классификации автоматических линий машиностроительного производства по различным признакам.
По технологическому признаку различают линии механообработки, сборки, сварки, окраски и т.д., а также комплексные линии. Последние включают позиции штамповки, механообработки, термообработки и сборки. Наиболее часто такие линии встречаются в подшипниковом производстве и при изготовлении деталей автомобилей.
По технологической гибкости линии бывают непереналаживаемые, для -групповой обработки и гибкие. Линии для групповой обработки проектируются по условной детали, которая включает все элементы данной детали. Детали одной группы относятся К одному типу деталей (валы, диски, рычаги), имеют одинаковый технологический маршрут обработки и отличаются только размером поверхностей. Примером могут служить вилки карданных валов, промежуточные валы коробки передач, ступицы колес различных автомобилей.
Непереналаживаемые линии проектируются для обработки деталей с большой программой выпуска, конструкция которых не меняется длительное время (например, детали подшипников качения, изделия оборонной промышленности). Гибкие линии обладают возможностью переналадки для обработки однотипных, хотя и различных деталей, имеющих одинаковый маршрут обработки.
Линии для групповой обработки характеризуются возможностью обработки двух-трех однотипных деталей без переналадки оснастки и оборудования.
4. Области применения линий циклического и непрерывного действия
По принципу работы линии разделяются на две группы Первую группу представляют линии циклического действия. Дня этях линий характерна периодичность перемещения объекта производства по линии и цикличность работы, когда все элементы цикла
(установка, обработка, снятие и транспортировка детали) выполняются последовательно один за другим, не перекрываясь по времени. Производительность линии циклического действия ограничивается из-за потерь на холостые ходы. Однако эти линии имеют большие технологические возможности, так как позволяют обрабатывать самые разнообразные детали и собирать разные агрегаты машин (двигатели, редукторы, фильтры и т.д.). Поэтому основной парк автоматических линий в машиностроении — это линии циклического действия.
Вторая группа линий по принципу действия — это линии непрерывного действия. В этих линиях объект производства перемещается непрерывно, и во время перемещения выполняются рабочие ходы. Таким образом сводятся к минимуму внутрицикловые потери и обеспечивается высокая производительность.
Линии непрерывного действия создаются на базе роторных машин, и их часто называют роторными линиями. Различают рабочие (технологические), загрузочные и транспортные роторы. Рабочий ротор представляет собой непрерывно вращающийся стол 2. По периферии стола 2 устанавливаются объекты производства 3. Над столом 2 располагаются инструментальные блоки 1 в строгом соответствии с объектом производства. Инструментальные блоки / вращаются синхронно со столом 2 и в рабочей зоне ротора под действием неподвижного копира 4 получают технологические (рабочие) движения, в результате которых на рабочем роторе выполняются технологические операции.
Возможность разместить на одном рабочем роторе большое «число инструментальных блоков, выполняющих одну и ту же операцию, позволяет линии работать с высокой степенью концентрации операций и, следовательно, с высокой производительностью.
Линии непрерывного действия компонуются из рабочих роторов, связанных между собой транспортными роторами. На каждом рабочем роторе выполняется одна операция. Объект производства последовательно перемещается от одного рабочего ротора к другому и таким образом проходит весь технологический процесс. Производительность рабочего ротора определяется промежутком времени Т1 между двумя выходами объектов с ротора:
Где
; l — расстояние между соседними инструментальными
блоками; v — скорость перемещения инструментальных блоков. Кроме высокой производительности роторные линии обладают еще одним важным достоинством. Они позволяют объединить операции с различной продолжительностью без изменения производительности всей линии.
При этом изменяются размеры рабочих роторов и число инструментальных блоков. Действительно,
где R — радиус рабочего ротора; φ — угол между соседними инструментальными блоками (рад).
Чем больше продолжительность операции, тем больше R и меньше φ. Таким образом, произведение Rφ может оставаться неизменным.
Вместе с тем роторные линии имеют ряд существенных недостатков, которые ограничивают область их применения. Основной недостаток связан с низкими технологическими возможностями этих линий. Инструментальные блоки совершают простые возвратно-поступательные движения, что позволяет выполнять только простейшие операции (прошивку, резку, дозировку, пайку и т.д.).
Так как число рабочих роторов определяется числом операций технологического процесса, роторные линии очень громоздкие и требуют достаточно больших производственных площадей.
Ограниченные технологические возможности роторных линий не позволяют применять их для обработки деталей сложной формы, больших размеров и с большим числом операций. Поэтому такие линии нашли в основном применение в пищевой, оборонной, электротехнической промышленности при изготовлении простых изделий без снятия стружки, методами штамповки, выдавливания, пайки, дозировки материала, для сборки и контроля, когда технологический процесс состоит из небольшого числа (до 8) простых операций.
5. Устройства обеспечивающие гибкую связь между участками линий
По виду связи между позициями различают линии с жесткой и гибкой связью.
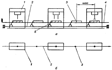
Отличительным признаком линии с жесткой связью является то, что объект производства непосредственно перемешается от одной позиции к другой. На рисунке показана схема такой линии с шаговым транспортером. Штанга транспортера 2 совершает возвратно-поступательные движения и обеспечивает шаговое перемещение заготовок с помощью толкающих элементов («собачек») 5 по направляющим 4. На рисунке б показана условная схема этой же линии, которой удобно пользоваться на практике.
Жесткая связь между позициями обусловливает согласованность по времени (синхронность) работы машин. Либо все заготовки одновременно обрабатываются, либо одновременно все транспортируются. Поэтому эти линии часто называют синхронными линиями.
Линии с жесткой связью компактны, просты в управлении, имеют низкую стоимость. Однако они эффективны, только если станкоемкость позиций примерно одинакова и число позиций небольшое (8... 12
Основным недостатком линий с жесткой связью является их низкая надежность, так как при отказе одной позиции простаивает вся линия. Это снижает ее производительность
где tц – время цикла в мин;
- коэффициент технического использования линии;
- удельная длительность простоев i-й позиции линии по техническим причинам; например, если Bi=0,002, то на 1000 мин работы линии в среднем за год приходится 2 мин простоя по техническим причинам; n – число позицій линии;
- время простоев i-й позиции линии, отнесённое к одному циклу; tпрi – суммарное время простоев i-й позиции линии по техническим причинам за период наблюдения за линией (смену, неделю, месяц, год); N – число изделий, которое за время простоев могло сойти с линии.
Коэффициент технического использования ηт.и характеризует техническое состояние и надежность линии. Если ηт.и =0,8, то это означает, что линия 20% рабочего времени простаивает по техническим причинам (ремонт, техническое обслуживание).
Стремление повысить надежность линии привело к созданию линии с гибкой связью. Гибкость связи на линии достигается установкой накопителей между позициями и участками. Накопителями называют специальные устройства – емкости для размещения заготовок. Основное значение накопителей – локализовать отказы, предотвратить остановку линии.
Схема линии, в которой накопители устанавливаются после каждой позиции. Применение накопителей делает работу соседних позиций на определенное время независимой. Емкость накопителей зависит от размеров заготовки, времени цикла и надежности соседних позиций (участков):
,
где Еср – средняя емкость накопителя; К – коэффициент запаса, в зависимости от размеров заготовки принимающий значения 1,5…5,0; τв – среднее время восстановления позиции (мин), определяемое опытным путем.
Обычно емкости накопителей обеспечивают бесперебойную работу линии в случае отказа в течении нескольких часов. Вместе с тем накопители существенно усложняют линию, повышают её стоимость, требуют дополнительных производственных площадей. Поэтому экономически целесообразно устанавливать накопители между участками которые образуют линию с комбинированной связью.
Деление линии на участки является важной задачей при её проектировании, от решения которой зависит фактическая производительность и экономическая эффективность линии.














