122626 (716972), страница 2
Текст из файла (страница 2)
Конструкция АИГ-Nd ЛАЗЕРОВ
Среди многообразия лазеров с непрерывной накачкой широкое применение нашли три вида: одномодовые лазеры с модуляцией добротности, лазеры с 'преобразованием частоты и мощные лазеры непрерывного режима.
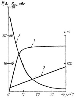
Одномодовые лазеры с модуляцией добротности. Лазеры серии ЛТИ-500 генерируют моду ТВМоо наинизшего порядка. В случае непрерывной накачки импульсный режим работ с большой частотой -повторения (5—50 кГц) обеспечивается модуляцией добротности резонатора акустооптическим затвором. При выключенном затворе лазеры работают в непрерывном режиме. Зависимость мощности излучения от мощности накачки для лазера ЛТИ-502 приведена на рис. 6. Зависимости средней мощности излучения Рw, длительности импульса излучения τ и пиковой мощности от частоты -повторения импульсов для лазеров с модуляцией добротности резонатора имеют вид, 'представленный на рис. 7. При больших частотах повторения значение средней мощности: асимптотически стремится к уровню мощности в непрерывном режиме генерации. С уменьшением частоты повторения средняя мощность падает и при низких частотах линейно стремится к нулю, поскольку накопленная инверсия в промежутках между импульсами генерации расходуется на люминесценцию
Рис. 6 Зависимость мощности излучения лазера ЛТИ-502 от мощности накачки
Рис. 7. Зависимости средней мощности 1), длительности импульса 2) и пиковой мощности 3) от частоты повторения импульсов излучения лазера ЛТИ- 502
. Длительность импульсов (излучения при повышении частоты повторения «монотонно увеличивается, так как накопленная инверсия в промежутках между импульсами становится меньше. Значения пиковой мощности, приведенные на графике, рассчитаны по формуле Рпик = Р/fτ по данным, определенным из эксперимента.
Лазеры ЛТИ-500 могут работать также в многомодовом режиме генерации (без селектирующей диафрагмы в резонаторе), при этом мощность излучения составляет 20—40 Вт.
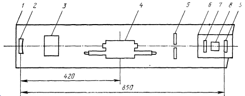
Рис. 8. Оптическая схема излучателя лазеров ЛТИ-501 и ЛТИ-502: 1 — излучатель; 2 — глухое зеркало; 3 — квантрон; 4 — селектирующая диафрагма; 5 — акустооптический затвор; 6 — выходное зеркало
Квантрон представляет собой несущий корпус, выполняемый обычно из нержавеющей стали, внутри которого находятся отражатель, активный элемент и лампа наклачки. Отражатель изготавливают из монолитной заготовки легированного европием кварцевого стекла в форме эллиптического цилиндра. В отражателе параллельно оси просверлены два отверстия, внутри которых располагают активный элемент и лампу накачки. Одноламповый осветитель с отражателем такой конструкции обеспечивает высокую эффективность накачки в одномодовом режиме генерации за счет фокусировки излучения накачки в центральную часть активного элемента, а также фильтрацию ультрафиолетового излучения
Отличительной особенностью лазера ЛТИ-503 является использование в качестве источника накачки высокочастотной безэлектродной лампы, которая одновременно выполняет функции отражателя. В связи с отсутствием электродов долговечность и число включений лампы существенно больше, чем у ламп обычной конструкции, но КПД лазера несколько меньше из-за распределенного источника свечения.
Оптическая схема резонатора, примененная в лазере ЛТИ-504, позволяет свести к минимуму искажение резонатора из-за нестационарных термически наведенных аберрационной линзы и клина активного элемента. Если центр кривизны вогнутого отражающего зеркала расположен в активном элементе (на его главной оптической плоскости), то возникающий в нем оптический клин вызывает смещение оси излучения только на этом зеркале, тогда как положение оси излучения в активном элементе и на выходном зеркале строго фиксировано. Положение выходного зеркала определяется из условия, что размер каустики пучка в резонаторе при заданной мощности накачки в первом приближении не зависит от оптической силы линзы активного элемента (рис. 9). Реализация предложенной схемы резонатора позволила существенно повысить стабильность энергетических и пространственных характеристик одномодовых твердотельных лазеров.
Рис. 9. Оптическая схема резонатора лазера ЛТИ-504: R — радиус кривизны глухого зеркала; F —фокусное расстояние термически наведенной линзы в активном элементе
Работа акустооптического затвора в резонаторе лазера основана на дифракции лазерного луча на ультразвуковой волне, возбуждаемой в фотоупругой среде. Вследствие дифракции часть света, прошедшего через затвор, отклоняется от первоначального положения и не принимает участия в генерации. Другими словами, в резонатор вносятся дополнительные потери. В случае, когда коэффициент суммарных потерь преобладает над коэффициентом усиления, генерация прекращается. В отсутствие генерации под действием непрерывной накачки происходит возрастание инверсной населенности. После быстрого переключения затвора в состояние с малыми потерями начинается развитие генерации, и запасенная энергия излучается в виде «гигантского» импульса.
Звукопровод затвора, в котором свет взаимодействует с бегущей ультразвуковой волной, изготавливают из высококачественного плавленого кварца, который практически не вносит в резонатор дополнительных потерь. Также для снижения потерь боковые грани звукопровода. имеют просветляющие покрытия на длину волны генерации, остаточное отражение при этом не превышает 0,5%. Возбуждение продольной ультразвуковой волны производится пьезопреобразователем из кристаллического кварца Х-среза. В случае продольных звуковых волн эффективность взаимодействия для различных плоскостей поляризации света оказывается разной. Максимальная дифракция соответствует плоскости поляризации света, перпендикулярной к направлению распространения звука, и уменьшается в несколько раз (до 5 раз при малых значениях акустической мощности) для ортогональной поляризации. Из-за неравномерного распределения излучения накачки 'по сечению активного элемента, характерного для выбранной конструкции квантрона, излучение лазеров в одномодовом режиме имеет преимущественное направление поляризации в плоскости, перпендикулярной направлению «лампа — активный элемент». Причем в некоторых областях мощности накачки может существовать излучение только с этой поляризацией. Затвор устанавливается в резонаторе с учетом этого обстоятельства, что значительно повышает его эффективность.
Лазеры с преобразованием частоты. Лазеры серии ЛТИ-701 с преобразованием частоты во вторую и четвертую гармоники построены на основе лазера ЛТИ-502.
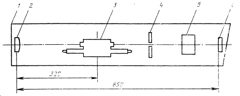
В лазерах ЛТИ-701, ЛТИ-702 (рис. 10) происходит внутри- резонаторное «преобразование во вторую гармонику излучения лазера, работающего в режиме акустооптической модуляции добротности резонатора с длиной волны 1,06 мкм. В качестве преобразователя частоты используется кристалл иодата лития (LiIO3), не требующий термостатирования, достаточно эффективный и относительно стойкий к лазерному излучению. При модуляции добротности мощность лазерного излучения внутри резонатора велика, поэтому специальных мер для его фокусировки в нелинейный элемент не требуется. Преобразователь частоты МЧ-104 включает в себя специальное выходное зеркало («глухое» на основной длине волны и пропускающее на длине волны гармоники), элемент из иодата лития размером 10x10x10 мм и оптический фильтр. Каквидно из рис. 10, оптический фильтр является третьим внутрирезонаторным зеркалом, предназначенным для однонаправленного вывода излучения второй гармоники. Преобразователь МЧ-104 крепят к корпусу лазера вместо узла выходного зеркала.
Рис. 10. Оптическая схема излучателя лазеров ЛТИ-701, ЛТИ-702: 1—излучатель; 2 — глухое зеркало на 1,06 мкм; 3 — акустооптический затвор; 4 — квантрон; 5 — селектирующая диафрагма; 6 — преобразователь во вторую гармонику; 7— фильтр; 8 — нелинейный элемент; «9 — выходное зеркало
Зависимость средней мощности излучения второй гармоники Р2ω от частоты повторения имлульсов /имеет максимум в области 6—8 кГц, что соответствует расчетным данным (рис. 11).
Максимальная средняя мощность на длине волны 0,53 мкм для лазера ЛТИ-701 составляет не менее 4 Вт. Коэффициент преобразования с учетом дополнительных потерь, вносимых в резонатор, близок к 100%. Резкое уменьшение Р2ω в области малых частот f связано с падением средней мощности основного излучения при f→0. Оправа от максимума снижение Р2ω) сначала достаточно резкое, затем идет более плавно, что соответствует зависимости пиковой мощности основного излучения от частоты повторения импульсов.
Рис. 11. Зависимости средней мощности 1),длительности импульса 2) и пиковой мощности 3) излучения второй гармоники от частоты повторения импульсов для лазера ЛТИ-701
Мощные лазеры непрерывного режима. Серия лазеров ЛТН-100 обладает мощностью излучения 63—250 Вт на длине волны 1,06 мкм при расходимости излучения по уровню 0,5 мощности до 10—12 мрад.
При выборе схемы резонатора для многомодовых лазеров определяющим является возможность достижения максимальной выходной мощности при сохранении относительно небольшой расходимости излучения. Этому условию удовлетворяет резонатор, образованный плоскими зеркалами, расположенными на расстоянии 360 мм один от другого. Такой резонатор обеспечивает прямолинейную зависимость мощности излучения во всем рабочем диапазоне мощности накачки.
В составе излучателей лазеров ЛТН-100 используются квантроны с активным элементом размерами 6,3x100 мм и лампой накачки ДНП-6/90. Корпус излучателя лазеров ЛТН-101 и ЛТН-102 короче (длина 550 мм), чем у других лазеров. Лазер ЛТН-102 имеет две модификации: ЛТН-102А и ЛТН-102Б с мощностью излучения не менее 125 и 30 Вт на длине волны 1,06 и 1,32 мкм соответственно (при мощности накачки не более 4,5 кВт).
Увеличение мощности излучения в два раза в лазере ЛТН-103 достигнуто за счет установки второго квантрона и удвоения длины резонатора. Корпус излучателя ЛТН-103 такой же, как у ЛТИ- 500/700, а необходимое расстояние между зеркалами 720 мм обеспечено изменением конструкции узлов крепления зеркал. Мощность излучения не менее 250 Вт достигается при мощности накачки 9 кВт. В состав лазера ЛТН-103 входит источник питания повышенной мощности и 'более эффективная система охлаждения УО2.
Некоторые применения лазеров с непрерывной накачкой.
Излучение одномодовых лазеров импульсного режима работы ЛТИ-500 может 'быть сфокусировано в пятно размером несколько десятков микрон, поэтому такие лазеры применяют для выполнения тонких технологических операций. С использованием этих лазеров созданы автоматизированные установки скрайбирования полупроводниковых пластин, которые обеспечивают глубину надреза 150—200 мкм при ширине 30—50 мкм.
Лазеры с непрерывной накачкой применяют для подгонки номиналов резисторов, а также функциональной подгонки гибридных интегральных схем (установки серии «Гибрид»). Созданы полуавтоматы-нарезки резисторов МЛТ-0,125, выполняющие эту операцию одновременно с измерением номинала сопротивления. В производстве прецизионных фольговых резисторов (эталоны сопротивлений) лазеры используют как при изготовлении фотошаблонов, так и при окончательной подгонке с погрешностью 10~3% . Невозможно числить разнообразные применения этих лазеров, диапазон которых включает в себя маркировку малогабаритных деталей, распиловку алмазного сырья, скрайбирование поликоровых ситалловых подложек и др.
Лазеры с преобразованием частоты во вторую и четвертую гармонику обеспечивают излучение видимого (красное, зеленое), а также ультрафиолетового диапазонов. Лазер ЛТИ-701 (с длиной волны 0,53 мкм) используется для накачки лазера на органических красителях, излучение которого плавно перестраивается в диапазоне длин волн от 550 до 660 нм. На его основе созданы установки лазерного отжига (в этом случае лазер одновременно излучает на длинах волн 0,53 и 1,06 мкм). Лазер с длиной волны около 0,53 мкм используется в медицинской практике для визуального контроля кварцевых стекол, в голографии и ряде других.
Ряд технологических установок создан на основе мощных лазеров непрерывного режима работы ЛТН-100 (длина волны 1,06 мкм). К их числу относятся установки направленного термораскалывания стекла («Квант-20»), базовая установка автоматизированной пайки, сварки и резки материалов («Квант-50»). Применение установки «Квант-50» при операции пайки микросхем на печатные платы позволяет автоматизировать процесс и повысить производительность труда в 10 раз по сравнению с ручной пайкой. Наиболее массовым применением этой группы лазеров является резка листовых материалов. На основе лазера ЛТН-103 (мощность излучения 250 Вт) создана установка автоматизированного изготовления шаблонов для контроля износа штампов.
Мощные лазеры на гранате находят все новые области применения благодаря своей компактности, высокой эксплуатационной надежности, хорошему качеству лазерного излучения (высокая стабильность и малый диаметр луча при относительно небольшой расходимости) по сравнению с лазерами на молекулах СОг. При дальнейшем повышении уровня мощности до 500—1000 Вт лазеры серии ЛТН-100 смогут широко применяться для сварки и термоупрочнения деталей и инструмента.
Список литературы
Г. М. Зверев, Ю. Д. Голяев, Е. А. Шалаев, А. А. Шокин. Лазеры на алюмоиттриевом гранате с неодимом — М.: Радио и связь, 1985. — 144с, ил
Звелто О. Принципы лазеров: Пер. с англ.— 3-е перераб. и доп. изд. — М.: Мир, 1990.— 560с, ил.
Для подготовки данной работы были использованы материалы с сайта http://referat.ru















