122577 (716945), страница 2
Текст из файла (страница 2)
Количество тепла, отдаваемого помещению нагревательными приборами, зависит от количества поступающей в прибор воды и ее температуры. В свою очередь, количество воды, которое может быть пропущено через трубопровод к прибору, зависит от циркуляционного давления, заставляющего воду двигаться по трубе. Чем больше циркуляционное давление, тем меньше может быть диаметр трубы для пропуска определенного количества воды и наоборот чем меньше циркуляционное давление, тем больше должен быть диаметр трубы.
Но для нормального действия системы отопления требуется еще одно условие: чтобы циркуляционное давление было достаточным для преодоления всех сопротивлений, которые встречает движущаяся в этой системе вода. Известно, что вода при своем движении в системе отопления встречает сопротивления, вызываемые трением воды о стенки труб, а кроме них, еще и местные сопротивления, к которым относятся отводы, тройники, крестовины, краны, нагревательные приборы и котлы.
Сопротивление вследствие трения зависит от диаметра и длины трубопровода, а также от скорости движения воды (если скорость увеличится в два раза, то сопротивление - в четыре раза, т.е. в квадратичной зависимости). Чем меньше диаметр и больше длина трубопровода и чем выше скорость воды, тем больше сопротивление создается на пути воды и наоборот. В схеме отопления, изображенной на рис. 1.1а имеется два кольца: одно, проходящее через ближайший к котлу стояк, и другое, которое проходит через дальний стояк. Так как первое кольцо короче второго, то при одинаковой в обеих кольцах тепловой нагрузке и одинаковых диаметров труб будет проходить по короткому кольцу больше воды, чем требуется по расчету, ж в результате по длинному кольцу будет проходить меньше воды, чем следует по расчету. Чтобы этого избежать необходимо для дальнего стояка применять трубы большего диаметра, чем для ближайшего стояка, и таким образом уравнять сопротивления в обеих кольцах. При большей длине труб сопротивление возрастает, с увеличением диаметра труб оно падает.
Величина местного сопротивления зависит, во-первых, от скорости воды, следовательно, и от изменения сечения, вызывающего изменение этой скорости (например, в кранах, нагревательных приборах, котлах и т.д.), во-вторых, от изменения направления, по которому движется вода, и изменения количества воды (например, в отводах, тройниках, крестовинах, вентилях).
Показанная ка рис. 1.1а система отопления - это система с верхней разводкой. Здесь горячая вода поднимается через главный стояк в магистральный трубопровод, прокладываемый обычно на чердаке.
На рис. 1.16 показана система отопления с нижней разводкой. В этой системе подающая магистраль, питающая восходящие стояки, располагается на первом этаже в подпольном канале или же в подвале здания. Обратные стояки присоединяются к общей обратной магистрали.
По принципу действия система отопления с нижней разводкой не отличается от системы с верхней разводкой. И тут, и там циркуляция создается потому, что горячая вода, как более легкая, вытесняется обратной водой вверх по стоякам; остывая в нагревательных приборах, эта вода опускается вниз через обратные стояки и снова поступает в котел.
В системах с естественным побуждением в зданиях небольшой этажности величина циркуляционного давления невелика, и поэтому в них нельзя допускать больших скоростей движения воды в трубах; следовательно, диаметры труб должны быть большими. Система может оказаться экономически невыгодной. Поэтому применение систем с естественной циркуляцией допускается лишь для небольших зданий.
Перечислим недостатки систем отопления с естественной циркуляцией воды:
сокращен радиус действия (до 30м по горизонтали) из-за небольшого циркуляционного давления;
повышена стоимость (до 5-7% стоимости здания), в связи с применением труб большого диаметра;
увеличены расход металла и затраты труда на монтаж системы;
замедлено включение системы в действие;
повышены опасность замерзания воды в трубах, проложенных в неотапливаемых помещениях.
Вместе с тем, отметим преимущества системы с естественной циркуляцией воды, определяющие в отдельных случаях ее выбор:
относительная простота устройства и эксплуатации;
независимость действия от снабжения электрической энергией;
отсутствие насоса, а соответственно шума и вибраций;
сравнительная долговечность (при правильной эксплуатации система может действовать 35-40 лет и более без капитального ремонта);
саморегулирование, обусловливающее ровную температуру помещений. В системе при изменении температуры и плотности воды изменяется и расход вследствие возрастания или уменьшения естественного циркуляционного давления. Одновременное изменение температуры и расхода воды обеспечивает теплопередачу приборов, необходимую для поддержания заданной температуры помещений, т.е. придает системе тепловую устойчивость.
Устройство систем водяного отопления с искусственной циркуляцией теплоносителя
В системах водяного отопления с естественной циркуляцией циркуляционные давления измеряются всего лишь десятками миллиметров водяного столба. Столь малые давления не позволяют устраивать данные системы в зданиях, .имеющих большую протяженность, кроме того,
они требуют применения труб значительных диаметров, что ведет к большому расходу металла.
Перечисленных недостатков лишены системы водяного отопления с искусственной циркуляцией. В них циркуляция воды создается центробежными насосами. Насосы, действующие в замкнутых кольцах системы: отопления, заполненных водой, воду не поднимают, а только ее перемещают, создавая циркуляцию, и поэтому называются циркуляционными.
Циркуляционный насос включает, как правило, обратную магистраль системы отопления для увеличения срока службы деталей, взаимодействующих с горячей водой. На рис. 1.2 изображены системы отопления с искусственной циркуляцией. Расширительный бак подсоединяют не к подающей, а к обратной магистрали.
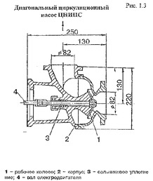
В системах отопления целесообразно применять специальные циркуляционные насосы перемещающие значительное количество воды и развивающие сравнительно небольшие давления. Это малошумные горизонтальные лопастные насосы центробежного типа, соединенные в единый блок с электродвигателями и закрепляемые непосредственно на трубах (без фундамента), например насосы типа ЦНИПС (рис. 1.3) или ЦВЦ (рис. 1.4).
Применение насосных: систем отопления позволяет существенно увеличить протяженность, трубопровода и уменьшить металлоемкость системы отопления за счет уменьшения диаметров разводящих трубе проводов. Кроме того, с установкой циркуляционного насоса появляется возможность применения новых схемных решений системы отопления, например, отказ от верхней разводки трубопроводов. Однако применение насосных систем отопления возможно только при условии надежного электроснабжения.
При отсутствии теплогенераторов на твердом топливе с топками длительного горения могут найти применение системы водяного отопления с баком аккумулятором и циркуляционным насосом типа ЦВЦ (рис. 1.5) такая система позволяет значительно сократить эксплуатационные затраты по обслуживанию генератора теплоты.
Принцип подобной системы отопления состоит в том, что тепловую мощность теплогенератора выбирают в 3 раза больше, чем теплопотери отапливаемого дом, за счет чего появляется возможность не только обеспечивать компенсацию теплопотерь дома, но и аккумулировать теплоту в специальном баке, которы начинает работать по прекращении эксплуатации теплогенератора. Объем бака-аккумулятора подбирают таким образом, чтобы время его разрядки составляло не менее 8 часов (при работе теплогенераторов два раза в сутки по 4 часа). Для эффективной работы системы бак-аккумулятор тщательно теплоизолирован с целью исключении потерь теплоты.
Конструктивные схемы систем водяного отопления
Конструктивно системы водяного отопления (как с естественным, так и с искусственным побуждением) подразделяют:
по шесту прокладки подающей магистрали - на системы с верхней и нижней разводкой;
по способу присоединения нагревательных приборов к подающим стоякам - на однотрубные и двухтрубные;
по расположению стояков - на системы с вертикальными и горизонтальными стояками;
по схеме прокладки магистрали - на системы с тупиковой схемой и с попутным движением воды в магистралях.
Однотрубные и двухтрубные системы отопления
Однотрубные системы водяного отопления не имеют обратных стояков, и вода, охлажденная в нагревательных приборах, возвращается в подающие стояки.
В однотрубных системах в нижние нагревательные приборы поступает смесь горячей воды и воды, охлажденной в верхних приборах. Так как температура этой смеси ниже температуры воды б приборах верхних этажей, то поверхность нагрева нижних приборов должна быть несколько увеличена.
В однотрубных системах вода циркулирует в нагревательных приборах и стояках, которые их питают, вследствие разности температур воды в тех и других. Однотрубные системы можно устраивать по двум схемам. При схеме радиаторы поступает из стояка только часть воды, остальная вода направляется по стояку к нижерасположенным радиаторам, Количество воды для каждого нагревательного прибора можно регулировать кранами, установленными у приборов.
Другая проточная система.. Здесь вся вода из стояка проходит последовательно через все нагревательные приборы, начиная с верхней. В отличии от простой однотрубной системы, в проточной системе в нижележащие радиаторы поступает не смесь горячей и охлажденной в верхних приборах воды, а только охлажденная вода.
В проточных системах нельзя ставить у нагревательных приборов обычные краны двойной регулировки. Если бы были установлены такие краны, то, перекрыв у того или иного прибора крап, уменьшили бы подачу воды во все приборы, присоединенные к стояку, а полностью закрыв один из кранов, можно прекратить циркуляцию воды через все приборы данного стояка. Между тем установка нагревательных приборов без кранов влечет за собой большие неудобства, так как тогда становится невозможным регулировать температуру воздуха в помещениях.
Однотрубные системы отопления могут выполнятся только с верхней развод-ком, поэтому их применяют в зданиях, где имеются чердаки и где можно располагать подающие магистрали в верхних этажах. Поэтажный пуск данных систем в действие невозможен, и в этом их недостаток,
Однако по сравнению с двухтрубными системами (рис. 1.6) отопления однотрубные проще в монтаже и, кроме того, имеют более красивый внешний вид. Достоинство их в том, что на устройство однотрубной системы требуется меньше труб, чем на устройство двухтрубной.
Все эти положительные особенности однотрубных систем весьма существенны и вполне оправдывают их широкое применение.
Системы отопления с вертикальными и горизонтальными стояками
Если нагревательные приборы разных этажей подключаются к единому стояку, то такая система является системой с вертикальными стояками. Если нагревательные приборы одного этажа подключаются к единому стояку - это система с горизонтальными стояками. Преимуществом системы с горизонтальным расположением стояка является меньшая стоимость монтажа и экономия труб. Недостатком является сложность эксплуатации и возможность скопления воздуха в нагревательных приборах с образованием воздушных пробок.
Системы отопления тупиковые я с попутным движением воды в магистралях
Показанные на рис. 1.2 системы отопления относятся к так называемым тупиковым системам, в которых циркуляционные кольца не равны по длине, причем самое короткое кольцо проходит через стояк, ближайший к котлу, а самое длинное - через стояк, наиболее отдаленный от котла.
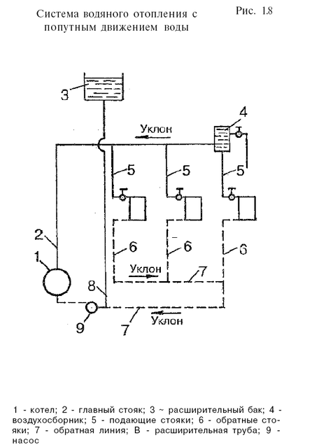
На рис. 1.8 изображена система отопления другого типа, где длина всех колец одна и та же и, следовательно, одинаково сопротивление колец (при одинаковой тепловой нагрузке стояков). Такие системы называют системами с попутным движением воды, причем их обычно устанавливают только в системах с насосной циркуляцией. В этих системах все стояки и нагревательные приборы находятся почти в равных условиях, что значительно облегчает регулировку.
Недостаток систем с попутным движением воды: состоит в том, что для их устройства требуется большее количество труб, чем для тупиковых систем.
Список литературы
Чернов Г.С.- Водяное отопление дома, дач,2005
Горбов А.Н.- Ремонт сантехники,2001
Белов Н.В.- Сам себе слесарь, 2003
Большая энциклопедия Кирилла и Мефодия – 2007
Журнал "Сантехника, отопление, кондиционирование, 2002. №4
Интернет: http://tgv.ulstu.ru/library/scientists/
Для подготовки данной работы были использованы материалы с сайта http://referat.ru/















