ref-18456 (709258)
Текст из файла
Министерство образования Российской Федерации
Ставропольский Аграрный Государственный Университет
Контрольная работа
По дисциплине: Нетрадиционные источники энергии
Тема: Энергосбережение материального склада при помощи ветроэнергетической установки с вертикальным валом.
Выполнил: студент 4 курса заочного отделения специальность
311400 электрификация и автоматизация с/х Николаенко Сергей Сергеевич
Шифр 39353
Проверил:
Ставрополь 2004
Содержание
Введение ……………………………………………….стр.3
-
Конструктивные особенности……………………..стр.4
-
Выбор и обоснование конструкции
электроагрегата……………………………………..стр.9
-
Конструкции энергоагрегатов……………………. стр.10
-
Расчет энергопотребителя………………………… стр.16
-
Расчет ветроэнергетической установки…..……… стр.17
-
Правила эксплуатации ВЭУ………………………. стр.18
-
Оценка экономической эффективности ВЭУ……..стр.19
-
Схема энергообеспечения склада……………...….. стр.20
Литература……………………………………………… стр.22
ВВЕДЕНИЕ
Существование человека немыслимо без потребления энергии. Уровень развития промышленности, транспорта, сельского хозяйства и быта человека в значительной степени определяются запасами и использованием энергоресурсов. Вся история развития цивилизации – это поиск более совершенных источников питания. Кроме традиционных источников энергии топлива дров, угля, урана существуют также и не традиционные источники энергии солнца, ветра, земли.
Перед нами в данной курсовой работе поставлена задача, в помещении материального склада с помощью не традиционных источников энергии обеспечить энергоснабжение. Основными потребителями энергии в помещении материального склада являются освещение, т.е. лампы накаливания и установка для отопления.
-
Конструктивные особенности.
В здании склада будут иметься некоторые конструктивные особенности.
Рассмотрим несколько конструкций:
а) Покрытия и стены здания утеплены. Здание ориентировано на местности таким образом, чтобы одна из его продольных стен была ориентирована на юг. Верхняя часть стены южного фасада на высоту 1,8 метра выполнена вертикально, а нижняя под углом 60 градусов к отмостке здания. В нижней наклонной части южного фасада устроен солнечный коллектор, длина коллектора 22 метра, высота 2,5 метра. Светопрозрачная теплоизоляция коллектора выполнена из двух слоев стеклопластика с воздушной прослойкой 2 мм. Подогретый в коллекторе воздух поступает в каналы специального настила из пустотельных бетонных блоков.
Рис. 1. 1 - солнечный коллектор
2 – светопрозрачная теплоизоляция
3 – канал для подачи горячего воздуха
4 – теплоизоляция
5 – песок
По верху настила уложен слой песка толщиной 18 см, а снизу слой теплоизоляции служит пенопласт (рис. 1). Это позволяет аккумулировать дополнительную солнечную энергию под полом.
б) Склад имеет двухскатную крышу. Южный скат крыши покрыт прозрачным стеклопластиком. Северная часть крыши и стены утеплены пеноплеуританом. Холодный воздух поступает в чердачное помещение склада через отверстия с южной стороны здания. В чердачном помещении воздух нагревается солнечными лучами, проходящими через стеклопластик. Нагретый воздух через потолок поступает в помещение склада. Теплоизоляция выполнена из пенополиуритана толщиной 10 мм. Циркуляция воздуха осуществляется при помощи вытяжного вентилятора создающего разряжение (рис. 2). В помещении склада поддерживается температура 18,3-21,1 градус Цельсия.
Рис. 2. Конструкция с крышным коллектором.
1 – прозрачный теплопластик,
2 - вытяжной вентилятор
3 – теплоизоляция.
в) При установке плоского постепенного коллектора для помещения материального склада вдоль его южной стены выполняют площадку из пустотельных бетонных блоков. Кладку окрашивают с наружной стороны устанавливают деревянную рамку оббитую листами прозрачного стеклопластика. Ширину прослойки между поверхностью стены и стеклопластика принимают равной 10 мм. Воздух нагнетается вентилятором в чердачное помещение, поступает в солнечный коллектор, нагревается. Между фундаментом и первым рядом кладки из пустотельных блоков, устанавливают ряд из сплошных блоков, установленных с зазорами.
Рис.3 Схема с настенным коллектором.
-
нагревательный вентилятор
-
верхняя щель
-
стена покрашенная в черный цвет
-
стеклопластик
-
пустотелый блок
-
нижняя щель
Нагретый воздух, поступая в пустоту, нагревает стенку, таким образом кладка является аккумулятором, затем нагретый воздух через щель, сделанную в верхней части кладки поступает в склад (рис. 3). Удаляется воздух через отверстие в серверной стене здания.
г) Еще одно из конструкций склада в которой грунт и основание над ним служат аккумулятором теплоты. Под складом в фундаменте имеется углубление, которое заполнено каменными булыжниками. Каменная подушка в данном случае служит аккумулятором теплоты. Аккумулятор со всех сторон теплоизолирован. Солнечные коллекторы размещают с южной стороны крыши. Изолируют двойным прозрачным слоем стеклопластика. Нагретый воздух поступает днем с помощью насоса в аккумулятор, а ночью за счет того, что теплый воздух поднимается вверх, воздух циркулирует естественной циркуляцией (рис. 4).
Рис. 4. Схема с крышным коллектором и подпольным аккумулятором
1 – солнечный коллектор
2 – сверхпрозрачная изоляция
3 – насос
4 – каменная подушка.
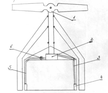
д) Кроме солнечных коллекторов можно также использовать ветроэнергетическую установку, совмещенную с импеллерным устройством. Импелеерное устройство размещается в чердачном помещении. К нему подключается водопровод с прямой и обратной водой. По периметру склада размещены радиаторы. При входе в импеллерное устройство в обратном трубопроводе установлен насос, который осуществляет циркуляцию воды. Ветроагрегат расположен на кровле здания. (рис.5)
Рис.5. Схема ВЭУ совмещенной с импеллерным устройством
1 – ветроэнергетическая установка
2 – импеллерное устройство
3 – прямой трубопровод
4 – радиатор
5 – обратный трубопровод
6 – нагнетательный насос
-
Выбор и обоснование конструкции энергоагрегата.
Для энергоснабжения материального склада мы выбираем ветроэнергетическую установку, т.к. использование солнечных коллекторов в зимнее время неэффективно.
По заданию нам дана ветроэнергетическая установка с вертикальным валом. Такая установка дает нам возможность разместить редуктор и генератор внизу, что в значительной мере облегчает его техническое обслуживание.
Выбираем ветродвигатель карусельного типа.
-
Конструкции энергоагрегатов.
Рассмотрим некоторые конструкции энергоагрегатов.
а) Плоский солнечный коллектор
Плоские коллекторы улавливают энергию прямых и рассеянных лучей, то есть работают и в пасмурную погоду. Они состоят (рис. 6) из светопрозрачного защитного слоя, теплоприемника поглощающего солнечную энергию, труб или коробов для теплоносителя, слоя теплоизоляции и защитного короба, который может быть элементом коллектора или здания. Ультрафиолетовые солнечные лучи проходят через светопрозрачный защитный слой и достигают теплоприемника – темной абсорбирующей панели. Панель нагревается и начинает излучать новую инфракрасную радиацию. Для инфракрасных лучей защитный слой лучей не пропускает. Поэтому внутри коллектора температура повышается . Теплоту выводит из коллектора воздушный или жидкий теплоноситель. Защитный слой 1 обладает высокой проводимостью и пропускает солнечную радиацию в коллектор, а также предотвращает потери теплоты из него. Стекло для него изготавливают с низким содержанием железа
Рис. 6. Схема гелиоустановки.
1 – Двухслойное остекление
2 – трубопровод для циркуляции жидкости
3 - панель-теплоприемник
4 – слой теплоизоляции
5 – защитный короб
6 – направление солнечных лучей
8 – насос для теплоносителя
9 - теплообменник
10 – аккумулятор
11,12 – вода нагретая и холодная
или противоотражающим покрытием. В сельской местности защитный слой изготавливают из 2-х и более слоев светопрозрачной пленки. Теплоприемник
Изготавливают из листов меди или алюминия окрашенных в черный цвет. Поток теплоносителя должен проходить вдоль теплоприемника по трубам, коробам или в замкнутой поверхности солнечной панели. Роль жидкого теплоносителя обычно играет вода. В зимних условиях для этих целей лучше использовать не замерзшую жидкость: антифриз, трансформаторное масло. Жидкий теплоноситель циркулирует по трубопроводам, воздушный – или по трубопроводам или в изолированном от внешней среды пространстве между теплоприемником и светопрозрачной поверхностью.
б) Теплоаккумулирующее устройство.
Теплоаккумуляторы – важная часть теплоаккумулирующего устройства. Солнце светит ограниченное число часов в сутки и не каждый день, а тепловая энергия нужна постоянно и особенно в ночное время суток зимой. Поэтому солнечную энергию необходимо сохранить для потребителя. Этой цели служат теплоаккумуляторы (рис. 7). Теплоаккумулирующее устройство может представлять собой закрытую сверху яму, наполненную булыжником. Циркуляция воздуха от коллектора к теплоаккумулятору и из него в обогреваемое помещение можно обеспечить не только при помощи вентиляционной системы (рис. 7), но и путем естественной конвенции.
Рис. 7 Аккумулятор теплоты с каменевой подушкой
1,4,6 – выход соответственно холодной жидкости, направленной к солнечной панели, теплой воды, пригодной к использованию, теплого воздуха.
2,3,5 – вход соответственно холодного воздуха, нагретой в солнечной панели жидкости, холодной воды, которая проходит через змеевик в теплонакопительной камере
7 – корпус накопителя
8 – камни теплоаккумуляторы
9 – змеевик.
в) Конструкции ВЭУ
В состав ВЭУ входят: ветродвигатель, редуктор, преобразователь механической энергии, аккумулятор и потребитель. Ветродвигатель преобразует энергию ветра в механическую или электрическую.
Промышленность выпускает в основном ветроэнергетические агрегаты с крыльчатым колесом (рис.9а). Во время сильных ураганов, ветров и штормов центробежные силы могут разрушить полости, поэтому в состав ВЭУ включены специальные устройства для перевода лопастей во флюгерное положение. Их ξ достаточно высокий: 0,3….0,46. Окружная скорость двигателей не превышает скорости ветра, масса на единицу мощности небольшая. Их используют для установок с малым начальным крутящим моментом, а также чтобы обеспечить работу центробежных насосов или энергогенераторов.
У ветродвигателей с вертикальной осью вращения ветроколеса, линейная скорость вращения лопастей в несколько раз больше ветра. Такие ветродвигатели подразделяют на карусельные (рис,9б) и роторные (рис. 9б). Полуцилиндры ротора устанавливают на одинаковом расстоянии от вертикальной оси. Вращение ветровых колес не зависит от направления ветра. Они медленно реагируют на изменения скорости ветра, т.е. работают стабильно.
Характеристики
Тип файла документ
Документы такого типа открываются такими программами, как Microsoft Office Word на компьютерах Windows, Apple Pages на компьютерах Mac, Open Office - бесплатная альтернатива на различных платформах, в том числе Linux. Наиболее простым и современным решением будут Google документы, так как открываются онлайн без скачивания прямо в браузере на любой платформе. Существуют российские качественные аналоги, например от Яндекса.
Будьте внимательны на мобильных устройствах, так как там используются упрощённый функционал даже в официальном приложении от Microsoft, поэтому для просмотра скачивайте PDF-версию. А если нужно редактировать файл, то используйте оригинальный файл.
Файлы такого типа обычно разбиты на страницы, а текст может быть форматированным (жирный, курсив, выбор шрифта, таблицы и т.п.), а также в него можно добавлять изображения. Формат идеально подходит для рефератов, докладов и РПЗ курсовых проектов, которые необходимо распечатать. Кстати перед печатью также сохраняйте файл в PDF, так как принтер может начудить со шрифтами.















