kursovik (708331), страница 3
Текст из файла (страница 3)
Устройство и принцип действия газовых пищеварочных котлов
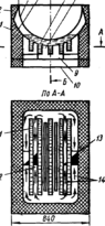
Газовые котлы КПГ-40М, КПГ-60М (рис. 2.8.) конструктивно выполнены как КПЭ-40, КПЭ-60, т. е. варочный сосуд 1 установлен в наружном корпусе 2, покрытом теплоизоляцией 3. и облицовкой. Между варочным сосудом и наружным корпусом находится пароводяная рубашка 4. Отличительная особенность котлов КПГ-40М и КПГ-60М - наличие скобы на кожухе котла, с помощью которой при опрокидывании прекращается подача газа в горелку 8, установленную в постаменте 7, так как скоба нажимает на рукоятку крана и поворачивает ее.
Рис. 2.7 Электрический опрокидывающийся пищеварочный котел:
а - общий вид; б - в разрезе.
Парогенератор 5 котла и газогорелочная камера такие же, как в газовых котлах КПГ-160, КПГ-250. Для лучшего использования тепла отходящих продуктов сгорания увеличивается поверхность нагрева за счет установки в газоходах ребер - кольцевых пластин, приваренных к карманам парогенератора. Дымовой патрубок 6 опрокидывающихся котлов состоит из подвижной и неподвижной частей. Подвижный патрубок крепится к котлу. При опрокидывании котла он поворачивается вместе с ним.. К арматуре котлов относятся: манометр 10, наполнительная воронка 11, кран уровня 12, двойной предохранительный клапан. Варочный котел заполняется водой с помощью поворотной головки 9.
Рис. 2.8. Газовый опрокидывающийся котел КПГ- 40М (КПГ-60М)
Котлы опрокидывающиеся имеют газовую автоматику регулирования и безопасности типа 2АРБ-1. Блок автоматики 14 устанавливается на коллекторе котла, датчики - в регулируемой среде.
В настоящее время начат выпуск газовых секционных модульных котлов типа КПГСМ-60. Парогенератор таких котлов выполнен в виде двух цилиндрических каналов различной высоты. Наружные стенки этих карманов образуют топочное пространство и два кольцевых газохода. В топке установлена инжекционная горелка с кольцевой насадкой и запальник.
Котел типа КПГСМ-60 (рис. 2.9.)
Котел выполнен в виде параллелепипеда. Он состоит из внутреннего цилиндрического варочного сосуда, наружного корпуса и малоемкого парогенератора.
Рис. 2.9. Котел пищеварочный газовый секционный модульный КПГСМ-60:
1 - дымоход; 2 - наружный корпус; 3 - варочный сосуд; 4-арматурный узел; 5-крышка; 6-кран уровня; 7 - маховичок; 8 - дверца; 9 - ножки, регулируемые по высоте; 10-рама; 11-патрубок; 12-кожух;13 - горелка; 14 - топка; 15 - кольцевые газоходы; 16 - парогенератор; 17 - наружная облицовка котла
Парогенератор выполнен в виде двух цилиндрических карманов разной высоты, наружные стенки которых образуют топку и два кольцевых газохода. Цилиндрическая внешняя стенка второго газохода не экранирована. Она переходит в нижнюю коническую торцевую стенку кольцевых газоходов. Наружный корпус котла покрыт теплоизоляцией и облицован плоскими эмалированными панелями. Под топкой в специальном цилиндрическом кожухе установлена газовая горелка с кольцевой насадкой и запальником. Для подсоса вторичного воздуха в днище топочной камеры имеются специальные отверстия.
Между задней стенкой котла и облицовочным листом установлен вертикальный дымоход прямоугольного сечения, обеспечивающий отвод продуктов сгорания.
В правой стойке котла смонтированы опрокидывающее устройство и подводящий газопровод. В левой - расположены трубопроводы горячей и холодной воды.
Котел снабжен газовой автоматикой безопасности и регулирования 2АРБ и контрольно-измерительной арматурой, аналогичной арматуре котла КПГ-60М.
Котел типа КПГСМ-250
Котел пищеварочный газовый секционный модульный КПГСМ-250. Котел (рис. 2.10) выполнен в виде прямоугольного параллелепипеда и имеет варочный сосуд в форме горизонтального полуцилиндра. Форма варочного сосуда предопределяет коридорную форму топки и щелевых газоходов. Топку образуют три кармана парогенератора. Средний карман разделяет топку на две части, что увеличивает радиационную поверхность нагрева центрального кармана, который облучается пламенем с двух сторон. В топочной камере между карманами располагается двухтрубная горелка. Горелка имеет малогабаритный многосопловый смеситель с периферийной подачей газа. Продукты сгорания из открытых торцевых окон расходятся, поворачиваясь на 180° по двум прямолинейным газоходам, образованным наружными стенками двух основных карманов и стенками газохода. Для увеличения поверхности нагрева по всей длине газохода расположены два дополнительных кармана, высота которых меньше высоты основного газохода.
Рис. 2.10. Котел пищеварочный газовый секционный модульный КПГСМ-250:
1 - облицовка;2 - изоляция; 3 - крышка; 4-варочный сосуд; 5- наружный корпус; 6-11 - прямолинейные карманы парогенератора; 7 - топка; 8 - горелка; 9 - короб; 10 - нижний дымоход; 12 - подвесные прямолинейные карманы парогенератора; 13 - стенки газохода; 14 - газоход. Стрелками указано направление движения продуктов сгорания газа
Таким образом, три основных кармана и два дополнительных создают компактный парогенератор с малым заполнением его водой (около 26 л) и развитой поверхностью нагрева (2,1 м2). Из газоходов продукты сгорания через короба выводятся в нижний дымоход. Снизу двухтоннельные газоходы и топка закрываются листом с щелевыми отверстиями для установки горелки и подсоса вторичного воздуха.
Котел снабжен газовой автоматикой безопасности и регулирования 2АРБ, контрольно-предохранительной арматурой и тепловой изоляцией.
2.2. Устройство и принцип действия твердотопливных и паровых пищеварочных котлов
Котел пищеварочный твердотопливный (рис. 2.11) состоит из трех основных частей: варочного сосуда, парогенератора с рубашкой и наружного корпуса. Парогенератор котла представляет собой два концентрично расположенных кольцевых кармана, сообщающихся через отверстия в верхней части с рубашкой котла, и служит для получения насыщенного пара с давлением 140...150 кПа.
Кипяченая или дистиллированная вода в парогенератор заливается через специальную воронку до уровня, определенного контрольным краном уровня.
Рис. 2.11. Котел пищеварочный твердотопливный КПТ-160:
1 - варочный сосуд; 2 - пароводяная рубашка; 3 - сферическое дно корпуса; 4 - корпус с парогенератором; 5 - тепловая изоляция; 6,7 - кольцевые карманы; 8-топочная камера; 9 - зольниковая коробка; 10 - колосниковая решетка; 11 - ящик для сбора золы; 12 - дверца с жалюзи; 13 - горловина топки; 14 - топочная дверца; 15 - наполнительная воронка; 16-клапан-турбинка; 17-розетка-отражатель; 18-двухстенная крышка; 19 - дымоотводный патрубок; 20 - поворотная заслонка; 21 - кольцевой газоход; 22 - лючки для очистки газоходов; 23 - трубопроводы горячего и холодного водоснабжения; 24 - соединительный патрубок; 25 - сливная трубка.
Внутренняя стенка внутреннего кармана парогенератора образует топочную камеру, сводом которой служит сферическое дно варочного сосуда. В нижней части топочной камеры размещена колосниковая решетка. Под топочной камерой размещена зольниковая камера, в которой установлен выдвижной ящик для сбора золы. Для регулирования подачи воздуха под колосниковой решеткой рядом с зольником смонтирована дверца с жалюзи.
Горловина загрузочного окна топки закрывается топочной дверцей. Через стенки первого (внутреннего) кольцевого кармана проходит патрубок, концы которого вварены в стенки цилиндра. Кольцевое пространство между внутренними и наружными карманами является газоходом. Патрубок во внутреннем кармане служит для соединения топочной камеры с этим кольцевым газоходом. Последний через дымоотводный патрубок, снабженный поворотной заслонкой, с помощью которой регулируют тягу в процессе горения топлива, сообщается с дымовой трубой.
Такая конструкция топочной камеры и парогенератора снижает температуру уходящих продуктов сгорания и уменьшает потери теплоты, что приводит к увеличению кпд котла. Кольцевой газоход образует сложный конвективный тракт, по которому перемещаются продукты сгорания. При этом поток продуктов сгорания турбулизируется, что приводит к увеличению коэффициента теплоотдачи. За счет наличия кольцевого газохода существенно удлиняется путь движения топочных газов, а конструкция парогенератора в виде двух карманов увеличивает его теплопередающую поверхность. Все это в совокупности способствует более полному использованию теплоты уходящих продуктов сгорания. При горении топлива в топочной камере пламя и горячие продукты сгорания обогревают внутреннюю стенку внутреннего кармана парогенератора. Далее продукты сгорания через патрубок во внутреннем кармане устремляются в кольцевой газоход и, двигаясь по нему, обогревают наружную стенку внутреннего кармана и внутреннюю стенку наружного кармана (направление движения топочных газов показано на рис. 8.10 стрелками). Пройдя по кольцевому газоходу-, остывшие продукты сгорания удаляются из котла через дымоход в окружающую среду.
В целях очистки кольцевого газохода от золы и сажи в боковой стенке второго кольцевого цилиндра имеются три лючка с крышками. Для наполнения котла водой служит поворотный кран, соединенный с трубопроводами горячего и холодного водоснабжения, которые скрыты под облицовкой каркаса. Между облицовкой и стенками наружного корпуса размещен слой тепловой изоляции.
На крышке котла смонтирован клапан-турбинка, а на арматурной стойке установлены заливочная воронка, двойной предохранительный клапан и манометр.
Полезная вместимость 160 л, продолжительность нагрева его содержимого до температуры кипения - 75...80 мин при расходе 11 кг полусухих дров или 6 кг антрацита, кпд котла в процессе нагрева до кипения равен 30 %, в процессе «тихого» кипения - 49...55%.
Повторное использование котла сокращает время нагрева его содержимого до кипения на 15…20 мин, уменьшает расход топлива и повышает кпд до 47%. Габариты котла, мм: длина – 1210, ширина – 1190, высота – 1110. Объем парогенератора 63 дм3, площадь греющей поверхности котла – 2,6 м2.
Котел КПТ-100 имеет аналогичную конструкцию.
Устройство и принцип действия паровых пищеварочных котлов
На предприятиях общественного питания используются паровые пищеварочные котлы КПП-100, КПП-160 и КПП-250. Они имеют аналогичную конструкцию и различаются только размерами. От неопрокидывающихся электрических и газовых котлов они отличаются тем, что пар, обогревающий варочный сосуд, образуется не в самом котле, а поступает в паровую рубашку по паропроводу извне.
Рис. 2.12. Котел пищеварочный паровой КПП-100:
а - общий вид; б - сливной кран; в - изменение толщины пленки конденсатора и коэффициента теплоотдачи вдоль вертикальной стенки; 1 - варочный сосуд; 2 - наружный корпус; 3 - основание; 4 - вентиль; 5 - конденсатоотводчик; 6 - кран; 7 - мановакуумметр; 8 - перекидной кран; 9 - крышка; 10 - клапан-турбина; 11 - отражатель клапана-турбинки; 12 - - резиновый уплотнитель; 13 - накидной рычаг- 14 - двойной предохранительный клапан; 15 - рычаг; 16- сливной кран; 17 - тепловая изоляция; 18 - облицовка.
Котел КПП-100 (рис. 2.12. а, б) состоит из варочного сосуда и наружного котла, покрытого изоляцией. Пространство между варочным сосудом и наружным котлом представляет собой паровую рубашку, в которую подается по паропроводу пар. Количество подаваемого пара регулируется с помощью парозапорного вентиля. Варочный сосуд герметично закрывается откидной крышкой с резиновым уплотнителем. На крышке устанавливается клапан-турбинка. Котел снабжен двойным предохранительным клапаном, манометром, воздушным клапаном, конденсатоотводчиком и продувочным краном. Двойной предохранительный клапан и манометр, показывающий давление пара в паровой рубашке, установлены на арматурной стойке. Конденсатоотводчик и продувочный кран расположены в полости между дном паровой рубашки и днищем облицовочного кожуха и предназначены для отвода из паровой рубашки конденсата.
Нагрев варочного сосуда парового котла осуществляется за счет теплоты парообразования. Пар, попадая в рубашку котла, соприкасается с холодными стенками варочного сосуда и наружного котла и конденсируется. При этом выделяется скрытая теплота парообразования, которая идет на нагрев содержимого котла.
Паровые котлы обладают целым рядом преимуществ перед другими типами котлов. Использование централизованно приготовленного пара как теплоносителя позволяет упростить конструкцию котлов (отсутствие парогенератора). Коэффициент теплоотдачи от конденсирующего пара довольно высок, что также повышает эксплуатационные показатели парового котла.















