109112 (707892), страница 2
Текст из файла (страница 2)
G – предмет обработки
Потребность в данной системе
| ТС | D | G |
| Мясорубка | Рубка, измельчение, рез | Мясо, продукты |
Основная функция мясорубки, как ее и назначение, является рубания (рез) мяса.
2.2 Конструктивная схема (эскиз) технической системы. Описания,назначения.
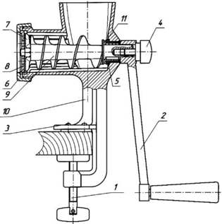
Рис. 1 (а). Мясорубка
Устройство мясорубки
| № позиции | Элемент |
| 1 | Винт |
| 2 | Рукоятка |
| 3 | Опора |
| 4 | Винт |
| 5 | Втулка |
| 6 | Гайка нажимная |
| 7 | Нож |
| 8 | Решётка |
| 9 | Шнек |
| 10 | Корпус |
| 11 | Втулка шнека |
Мясорубка состоит из следующих элементов:
Винт 1, который с помощью опоры 3 крепится к столу; рукоятки 2, закрепленной с помощью винта 4 со шнеком 9; последний вращается в тулке 5 и втулке шнека 11; на конце шнека 9 закреплены нож 7 и решетка 8, которые в свою очередь в месте со шнеком 9 фиксируются нажимной гайкой 6.
2.3 Разделение технической системы
| Обозначение элемента на эскизе | Наименование элемента |
| Е0 | Нож |
| Е1 | Шнек |
| Е2 | Втулка шнека |
| Е3 | Втулка |
| E4 | Решетка |
| E5 | Гайка нажимная |
| E6 | Ручка |
| E7 | Винт |
| E8 | Опора |
| E9 | Винт |
| E10 | Корпус |
Главным элементом технической системы является – нож. Его функция, как и функция всей технической системы состоит в том, чтобы измельчать мясо, продукты.
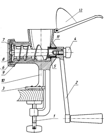
С помощью вращения ручки 2 (рис 1 (б)), крутящий момент с помощью винта 4 и втулки шнека 11 и 5 передается на шнек 9, который в свою очередь создает продвижение продуктов, мяса, по корпусу 10 мясорубки. На шнеке зафиксирован нож 7, последний режет, рубит, измельчает мясо и выдавливает его через решетку 8 которая закреплена прижимной гайкой 6. Корпус 10 крепится за счет опоры 3 и винта 1.
Рис 1. (б). Мясорубка
2.4 Описания функций выполняемых каждым элементом, составление таблицы функций.
Таблица функций согласно эскизу (рис. 1 (б))
| Элемент | Функция | |||
| Обозна-чение | Наименование | Обозна-чение | Наименование | |
| E0 | Нож | Ф0 | предназначен для измельчения, рубки мяса и обработки других продуктов | |
| E1 | Шнек | Ф1 | предназначен для проталкивания мяса и других продуктов. | |
| E2 | Втулка шнека | Ф2 | предназначена для снижения сил трения возникающих при вращении шнека. | |
| E3 | Втулка | Ф3 | предназначена для снижения сил трения возникающих при вращении шнека. | |
| E4,V1 | Решетка | Ф4 | предназначена для выдавливания мяса и других продуктов определенной формы. | |
| E5 | Гайка нажимная | Ф5 | служит фиксатором шнека, ножа и решетки. | |
| E6 | Ручка | Ф6 | предназначена для вращения шнека, ножа. | |
| E7 | Винт | Ф7 | является креплением рукоятки со шнеком. | |
| E8 | Опора | Ф8 | служит для жесткого крепления мясорубки. | |
| E9 | Винт | Ф9 | предназначен для крепления (к столу, доске и д.р.) а также удержания мясорубки. | |
| E10,V2 | Корпус | Ф10 | является несущим элементом всей мясорубки. | |
V1 – решетка V2 - корпус
2.5 Определение объектов окружающей среды
Объекты окружающей среды для главных элементов, как правило, совпадают с объектами, на которые направлено действие технической системы, так и в данном случае объектом окружающей среды для мясорубки является рука человека и продукты питания подлежащие измельчению.
2.6 Построение конструктивной функциональной структуры
Совершенствование конкретной технической системы, методом технического творчества
Основные недостатки существующей системы
Основным недостатком ручной мясорубки является использование ручного труда человека, что приводит к быстрому уставанию руки человека и производству мясорубки.
Совершенствование технической системы методом технического творчества.
Так как в ручной мясорубки используется ручной труд человека, то работа ее зависит непосредственно от человеческого труда. Т.е. вращение шнека и проталкивание мяса, продуктов и т.д. осуществляет человек. Предлагаю установить на мясорубку прижимной механизм (крышку). Такая модернизация облегчит работу человека, соответственно сократит время потраченное на перемалывание мяса и обработку его.
Данная техническая система может модернизироваться в верхней части корпуса мясорубки, путем установления прижимного механизма (крышки). Это позволит нам сократить время для обработки мяса и продуктов и соответственно облегчить труд человека.
Построение конструктивной структуры
Данная техническая система (рис 2) состоит из: Винта 1,который с помощью опоры 2 крепится к столу, рукоятки 2, закрепленной с помощью винта 4 со шнеком 9,последний вращается во втулке 5 и шнека 11, на конце шнека закреплены нож 7 и решетка 8, которые в свою очередь вращаются и затянуты нажимной гайкой 6. Нажимной механизм (крышка) 12 закреплен в верхней части мясорубки и способствует прижиму (придавливанию) мяса, продуктов и т.д.
Рис. 2
Список литературы
А.И. Половинкин Основы инженерного творчества: учебное пособие для студентов вузов. – М. – Маштностроение,1988. -368 с
Для подготовки данной работы были использованы материалы с сайта http://referat.ru/
















