108888 (707791), страница 4
Текст из файла (страница 4)
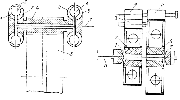
Гидрореверсивная передача, изображенная на рис. 1.5, включает в свой состав гидромуфту и гидротрансформатор. В данной схеме продолжительный передний ход осуществляется передачей крутящего момента от вала 7 на шестерню 4 непосредственно через фрикционную или кулачковую муфту (на рис. 1.5 не показана ), а внутренняя полость гидромуфты может быть либо заполненной рабочей жидкостью, либо опорожненной. Для перехода на задний ход нужно заполнить рабочей жидкостью гидромуфту,
КК
ВД
КВД
КС
ТВД
ТНД
ТВ
Рис.1.5.
Принципиальная схема реверсивного редуктора.
1— фрикцион ЗХ; 2 — колесо ЗХ; 3 — паразитная шестерня; 4, 5 — ведущие шестерни редуктора; 6 — ведомое колесо ПХ; 7 — фрикцион ПХ; 8 — выходной вал редуктора.
Рис. 1.11. Принципиальная схема гидрореверсивной передачи.
1 — гидротрансформатор; 2 —неподвижный направляющий аппарат ГТ 3 — турбинное колесо ГТ; 4— ведущая шестерня редуктора: 5 — турбинное колесо гидромуфты; 6 — насосное колесо гидромуфты; 7 — вал турбины винта; 8 — ведомое колесо редуктора.
разобщить жесткую муфту, заполнить рабочей жидкостью полость В гидротрансформатора, опорожнить рабочую полость А гидромуфты. Недостаток этой передачи—низкий КПД гидротрансформатора (0,85—0,87).
Механическая реверсивная передача может быть выполнена по схеме, представленной на рис. 1.5. Принцип действия реверсивного редуктора основан на применении двойного комплекта ведущих шестерен и ведомых колес, расположенных между входным и выходным валами редуктора. Так, при движении судна передним ходом крутящий момент от ГТД передается через шестерню 5 колесу 6 и далее — через включенный фрикцион переднего хода 7—на выходной вал редуктора 8. При движении судна задним ходом крутящий момент от ГТД передается на шестерню 4, паразитную шестерню 3, колесо заднего хода 2 и далее через включенный фрикцион заднего хода 1 на выходной вал редуктора 8.
1.3.3. Винт регулируемого шага
Реверс посредством ВРШ осуществляется перекладкой лопастей винта при помощи механизма изменения шага (МИШ) из положения ПХ в положение ЗХ, или наоборот. Механизм изменения шага расположен в ступице ВРШ, в связи с чем его диаметр по сравнению с ВФШ несколько увеличен. Тяги, воздействующие на МИШ, размещены внутри пустотелого гребного вала и управляются гидроприводами.
1.4. Средства и посты управления
Автоматизация управления ГТУ осуществляется с использованием топливной системы ГТД, с помощью которой подается топливо при пуске, изменяется режим работы, выполняется остановка. Отключением подачи топлива в КС осуществляется аварийная защита ГТД. Конструкцией системы предусматривается, чтобы фактическое изменение подачи топлива в камеру сгорания ГТД не приводило к опасному повышению температуры газа, появлению неустойчивых режимов работы и другим негативным последствиям. Обслуживающие ГТУ автономные вспомогательные механизмы представляют собой автоматизированные агрегаты, которые могут дистанционно принимать команды на пуск, изменение режима, остановку и которые имеют собственные защитные и прочие устройства. Кроме механизмов в состав ГТУ входит разнообразная автоматическая арматура, например устройства отключения линий всасывания и нагнетания резервных насосов, свечи зажигания и пусковые форсунки, приводы органов реверса и антипомпажных устройств и так далее.
Система управления ГТУ включает совокупность устройств, дающих командные сигналы на включение и отключение нагрузки части двигателей установки, на разворот лопастей ВРШ и т. п. Управление ГТУ и ее обслуживание невозможно без различных средств контроля параметров и сигнализации о положении органов управления, таких как панели контрольно-измерительных приборов, панели сигнализации в виде мнемосхемы или сигнальных ламп, а на высокоавтоматизированных судах—системы централизованного контроля (информационно-измерительные).
Централизованная система управления представляет собой пульт с рукоятками и кнопками, посредством которых осуществляется любой из предусмотренных режимов работы ГТУ и всего силового' комплекса судна. Она может быть электрической, гидравлической, комбинированной и т. д. На высокоавтоматизированном судне в системе управления могут быть использованы ЭВМ, которые вырабатывают по данным измерений управляющие сигналы, облегчающие работу оператора .
Автоматические устройства, обеспечивающие управление главной установкой, обычно размещаются в центральном, запасном (аварийном) постах управления, в ходовой рубке судна или на капитанском мостике.
Средства управления и контроля скомпонованы в пульты управления, панели сигнализации и КИПов, в блоки управления, размещенные в отдельных шкафах. Одновременное управление из разных постов исключается. Узлы переключения постов управления обычно предусматривают принудительную передачу управления любому посту или произвольное взятие управления «на себя» из любого поста, причем запасной пост получает на это право по разрешающему сигналу из центрального поста.
Запасной пост управления обычно размещается вблизи ГТУ. Количество информации о состоянии ГТУ и всего силового комплекса судна неодинаково на разных постах, в частности в ходовой рубке информация ограничивается сведениями, необходимыми капитану для принятия решения об использовании ГТУ. Наибольший объем информации поступает в ЦПУ.
1.5. Преимущества комбинированной установки
Комбинированная главная установка включает в свой состав разнотипные главные двигатели, которые могут быть термодинамически связанными друг с другом или термодинамически независимыми.
Преимущества КУ обычно определяются характером использования судна и его главной установки, а также особенностями главных двигателей различных типов.
Характер использования судов некоторых типов определяет их плавание преимущественно на скоростях, меньших полной. Так, китобойные и рыболовные траулеры, ледоколы, транспортные суда активного ледового плавания не все ходовое время эксплуатируются на полной скорости, чему препятствует ледовая обстановка или иные решаемые судном задачи.
В связи с примерно кубической зависимостью эффективной мощности установки от скорости водоизмещающего судна и ухудшением экономичности ГТУ при отклонении от расчетного режима желательно на скоростях, меньших полной, применять специальный двигатель, относительно маломощный с высокими экономичностью и долговечностью. Таким требованиям в наибольшей степени отвечает ДВС, не исключено применение и других типов двигателей. Полный ход можно быстро развить с помощью двигателя (установки), который кроме высокой маневренности должен быть весьма мощным с относительно малой долговечностью (что позволяет выполнить его легким и малогабаритным). Такому требованию наиболее полно отвечает ГТУ, которая к тому же относительно проста в обслуживании.
ЗАКЛЮЧЕНИЕ.
Из рассмотренных выше материалов видно, что судовые газотурбинные установки, обладая определенными преимуществами перед другими типами, в тоже время обладают очень существенным недостатком-низкой экономичностью. В сочетании с малыми массогабаритными показателями, высокой приемистостью, быстрой подготовкой к пуску, высокой степенью готовности к приему нагрузки это предопределило использование газотурбинных двигателей на военных кораблях.
Первые ГТД в качестве опытных начали устанавливать на кораблях советского ВМФ на рубеже 40-50 годов. Однако эти двигатели обладали крайне малым ресурсом и были крайне ненадежны в эксплуатации. Первыми серийными комбинированными дизель-газотурбинными установками были ДГТУ типа Д2 и Д2М. Д2 включали в свой состав 2 ГТД типа Д54 и 2 дизеля М504 и устанавливались на малых противолодочных кораблях проекта 204, Д2М-2 таких же ГТД и 2 дизеля типа 58 и устанавливались на сторожевых кораблях проекта 35. Недостатком этих кораблей была высокая взрывопожароопасность из-за крайне неудачного расположения газотурбинных двигателей в кормовом отсеке. В конце 50-х годов была создана установка типа М2, которая включала в свой состав 2 ГТД, работающих на бортовые валы и дизель, работающий на средний вал на ВРШ. Эта установка была спроектирована для сторожевого корабля проекта 159 и показала высокие эксплуатационные качества. Эти корабли строились более 15 лет и находились в составе флота до середины 90-х годов. Всего было построено около 50 таких кораблей, из них более 20-на экспорт.
В начале 60-х годов был построен первый в мире полностью газотурбинный корабль – большой противолодочный проекта 61 с двухвальной установкой М3. М3 включала в свой состав 4 ГТД типа ДЕ59(по 2 на каждый вал) и 2 реверсивных редуктора с гидромуфтами. Общая мощность установки составляла 72000 л.с., и для своего времени это был настоящий прорыв для газотурбинных установок. В конце 60-х годов были запущены в серию следующие типы установок:
-2-х вальная М5 для большого противолодочного корабля проекта 1134Б, на каждый вал работал 1 маршевый и 2 форсажных ГТД, общая мощность 86000 л.с., впервые в мировой практике применен газовый реверс;
-2-х вальная М7 для сторожевого корабля проекта 1135, на каждый вал работал 1 МД и 1ФД, общая мощность-58000 л.с., газовый реверс. Особенностью этой установки являлось применение маршевой редукторной приставки, специального редуктора, установленного между редукторами маршевых двигателей, который позволял при работе 1МД распределять мощность на оба вала. Установка М7 оказалась настолько конструктивно удачной, что с некоторыми изменениями ее применили на БПК проекта 1155 и СКР проекта 1154, ПСКР проекта 11351, которые на настоящий момент составляют основу противолодочных сил Российского ВМФ.














