73203-1 (707722)
Текст из файла
Автоматизированная система защиты и диагностики парка электродвигателей промышленного предприятия
Каргапольцев Василий Петрович, Заместитель директора ОКБ “Гидродинамика”, Симахин Иван Яковлевич, Директор предприятия “Энергис”
Современные стандарты большинства стран мира, в том числе и России, предъявляют все более высокие требования к повышению безопасности работы персонала и росту экономической эффективности во всех отраслях промышленности. Эти факторы определяют потребность в защите и наблюдении за оборудованием и механизмами, приводимыми в действие асинхронными электродвигателями. Пренебрежение указанными требованиями приводит к непредвиденному и значительному ущербу от снижению срока службы оборудования, к повышению вероятности травмирования персонала.
На сегодняшний день существует три направления развития систем защиты: - механические; - электромеханические; - электронные.
К первой группе относятся различные механические устройства, обеспечивающие разрыв вала двигателя с нагрузкой при перегрузках двигателя (фрикционные муфты). Электромеханические системы осуществляют контроль величины тока нагрузки и отключают питающую сеть при перегрузках и коротких замыканиях (автоматический выключатель с тепловым и электромагнитным расцепителями).
Для повышения эффективности и снижения стоимости конечного продукта специалисты предприятий различных отраслей промышленности реализуют проекты, направленные на модернизацию электропривода машин и механизмов. Наиболее рационально эти цели могут быть достигнуты применением электронных систем защиты. В настоящее время разработаны различные методы определения режима работы двигателя. Наибольшее распространение получили две идеологии: угло-фазовый метод, реализованный в большинстве импортных дорогостоящих устройств, и контроль параметров двигателя по величине действующего тока в каждой из питающих фаз. Второй метод положен в основу работы монитора тока двигателя (МТД), разработанного кировским предприятием “Энергис” на основе 12-летнего опыта работ по обеспечению безаварийного режима работ электродвигателей (фото.1). С одной стороны, он может предотвратить поломки оборудования и травмы персонала, подавая сигналы управления при неноминальной нагрузке двигателя. С другой стороны, при своей сравнительно небольшой стоимости, монитор с успехом заменяет более дорогое и трудоемкое в обслуживании оборудование.
Монитор имеет набор различных выходных сигналов (реле, стандартный токовый и др.), а также органов управления (кнопки, переключатели, различные интерфейсы), и может быть легко встроен в различные системы управления и автоматизации промышленного оборудования.
МТД кроме доступной для российских производителей цены, обладает целым рядом преимуществ. Наличие функции автоматической настройки позволяет простым и доступным способом получить высокоэффективную защиту от недогрузки или перегрузки вследствие заклинивания, обрыва ремня или цепи, сухой работы или поврежденния подшипников.
Возможности МТД включают в себя: - задержку при реверсе двигателя от 1 до 99 секунд; - задержку отключения двигателя при перегрузке (недогрузке) от 1 до 99 секунд; - отображение текущего тока любой фазы на дисплее.
Действующее значение тока нагрузки в каждой фазе измеряется при помощи трех гальванически изолированных датчиков тока.
Простое и удобное меню позволяет запрограммировать параметры срабатывания МТД: - перегрузка относительно номинального тока; - недогрузка относительно номинального тока; - время задержки перед включением двигателя в противоположном направлении (реверс) ; - время задержки отключения при 4-х кратной перегрузке; - время задержки отключения при перегрузке; - время задержки отключения при недогрузке.
Основные свойства МТД. При активации режима автоматической настройки, обычно при первом запуске, МТД по истечении 15 секунд записывает номинальный ток двигателя и устанавливает параметры защиты. Наличие возможности установки величины перегрузки и недогрузки, а также длительности задержки срабатывания защиты при возникновении аварии позволяет реализовать в одном приборе функции монитора недогрузки и монитора перегрузки. МТД защищает электрооборудование от следующих аварийных ситуаций: - превышение номинального тока в 4 раза; - перегрузка; - недогрузка; - обрыв любой из фаз.
В 2002 году в муниципальном предприятии тепловых сетей г.Кирова были проведены испытания МТД, где они были установлены на электродвигателях насосов системы отопления центральных тепловых пунктов. По завершении испытаний было получено заключение, рекомендовавшее МТД для широкого применения в производстве. Было также отмечено, что предложенное устройство реализует защиту двигателя в более полном объёме, чем применяемые ранее устройства ФУЗ-МУ, АЗДМ, УЗД, БТЗ.
Рис. 1
В 2004 году кировское предприятие “Энергис” провело ряд исследований по проблемам диспетчеризации производственных обьектов в контексте контроля защитой и управления оборудованием с асинхронным электроприводом. В результате удалось сформулировать и воплотить новое функциональное решение – монитор тока с приемо/передачей данных (МТД – RS). Появилась дополнительная возможность контролировать работоспособность и экономичность электрооборудования, собирая временные графики по величинам тока, напряжения, полной потребленной мощности. Так выглядят основные характеристики нового монитора (рис.2):
Рис. 2
НАЗНАЧЕНИЕ. Монитор тока двигателя c функцией обмена данными и управлением по интерфейсу RS-485 (МТД-RS) в комплекте с первичными преобразователями – датчиками тока предназначен для измерения тока и защитного отключения нагрузки в сетях переменного тока частотой 50 Гц, напряжением 220/380 В и номинальными токами нагрузки от 1 до 250 А. Для местного визуального контроля применен двухстрочный 16-миллиметровый ЖКИ-индикатор с постоянной подсветкой. Прибор МТД-RS может быть использован в системах контроля, управления и защиты при выполнении технологических процессов в разных отраслях промышленности, сельского хозяйства и жилищно-коммунальной сферы.
ПРИМЕНЕНИЕ: - защитное отключение нагрузки при возникновении аварийных ситуаций в питающей сети и в нагрузке;
- защита трехфазных двигателей: насосов, систем вентиляции, компрессоров, конвейеров, мельниц;
- защита нагревательного оборудования (ТЭНы),
- защита осветительного оборудования.
ВЫПОЛНЯЕМЫЕ ФУНКЦИИ: - активация функций и изменение заводских уставок потребителем;
- защитное отключение электроустановок в системах переменного тока;
- контроль и индикация тока, напряжения, мощности и частоты каждой фазы;
- передача информации через последовательный стык RS-485 на ЭВМ верхнего уровня по специальному протоколу, обеспечивающему защиту информации от искажения и потерь;
- дистанционная установка настроек самого прибора и настроек на нагрузку: допустимых пределов тока, напряжения, частоты питающей сети, времени длительной перегрузки, времени срабатывания защиты превышения допустимых параметров, времени срабатывания защиты обрыва фазы, защитного времени переключения реверса питающих фаз;
- дистанционная диагностика функций прибора.
Основные технические характеристики:
- электропитание МТД-RS осуществляется от одной фазы трехфазной электрической сети напряжением 220 В +10-15%, частотой 50 Гц ± 1 Гц;
- номинальная мощность нагрузки должна находиться в пределах 1-110 кВт;
- МТД-RS содержит два встроенных реле переменного тока 4 А - 220 В;
- длина линии, соединяющей МТД-RS с датчиками тока – не более 30 м.
Рис. 3
Программное обеспечение
В основном режиме работы программы на экране отображается сводная информация мониторинга состояния контролируемых объектов. Данные мониторинга представлены в виде таблицы. Пример внешнего вида основного окна программы представлен на рис.3. Поле состояние может принимать следующие значение:
“Нет “связи” – нет связи с контроллером;
“Выключен” – двигатель (контролируемый объект) выключен;
“Вперед” – двигатель вращается вперед;
“Назад” - двигатель вращается назад;
“Авария” - МТД-RS обнаружил аварийное состояние двигателя.
При нормальном функционировании двигателя соответствующая клетка “Состояния” подсвечена зеленым цветом. При выключенном двигателе выделение цветом не производится. При обнаружении проблем поле состояния соответствующего объекта и “проблемные поля” параметров подсвечиваются красным цветом.
Кроме состояния в каждой строке таблицы выводятся значения тока и напряжения для каждой фазы, значение частоты питающей сети, полной мощности.
После задания временного периода, на экране отобразиться график контролируемой величины.
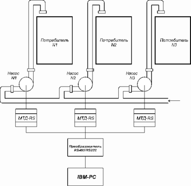
ПРИМЕР ИСПОЛЬЗОВАНИЯ (рис.5):
Рис. 5
- защита двигателей насосов станции от аварийных режимов работы (перегрузка по току, обрыв фазы, перекос фаз, чередование фаз);
- ограничение пикового потребления электроэнергии путем блокирования одновременного включения насосов;
- ведение статистики работы насосов;
- включение/ отключение насосов по графику заданному пользователем.
Количество реализованных функций, простота и удобство в работе, а также невысокая цена для оборудования такого класса делают МТД лидером среди защитных приборов и оборудования. Опыт применения мониторов в промышленности показывает, что установка МТД на двигатели мощностью 7,5 кВт и более экономически оправдана даже по стоимости перемотки вышедшего из строя двигателя.
Список литературы
Для подготовки данной работы были использованы материалы с сайта http://www.sciteclibrary.ru
Характеристики
Тип файла документ
Документы такого типа открываются такими программами, как Microsoft Office Word на компьютерах Windows, Apple Pages на компьютерах Mac, Open Office - бесплатная альтернатива на различных платформах, в том числе Linux. Наиболее простым и современным решением будут Google документы, так как открываются онлайн без скачивания прямо в браузере на любой платформе. Существуют российские качественные аналоги, например от Яндекса.
Будьте внимательны на мобильных устройствах, так как там используются упрощённый функционал даже в официальном приложении от Microsoft, поэтому для просмотра скачивайте PDF-версию. А если нужно редактировать файл, то используйте оригинальный файл.
Файлы такого типа обычно разбиты на страницы, а текст может быть форматированным (жирный, курсив, выбор шрифта, таблицы и т.п.), а также в него можно добавлять изображения. Формат идеально подходит для рефератов, докладов и РПЗ курсовых проектов, которые необходимо распечатать. Кстати перед печатью также сохраняйте файл в PDF, так как принтер может начудить со шрифтами.














