8552-1 (707149), страница 2
Текст из файла (страница 2)
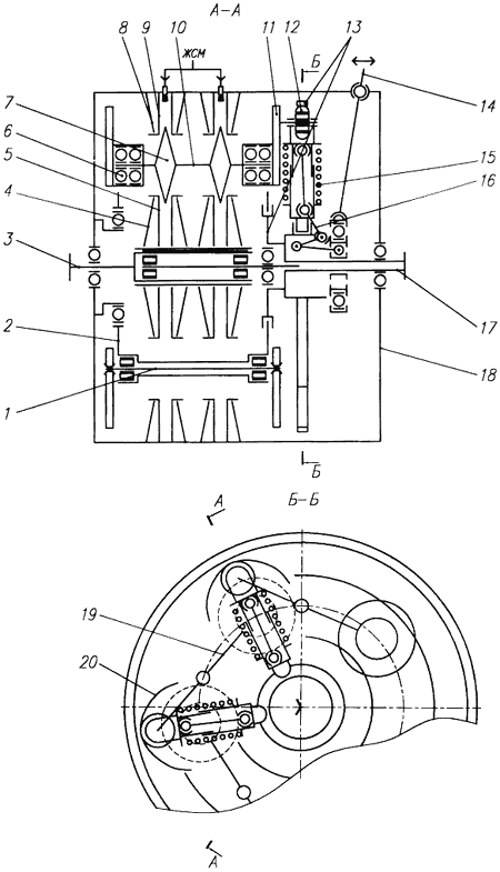
Рис. 3. Схема нового планетарного дискового прогрессивного вариатора: 1 – ось поворотных рычагов; 2 – водило; 3 – входной вал; 4 – тарельчатая пружина; 5 – внутренний центральный фрикционный диск; 6 – подшипники сателлитов; 7 – сателлит; 8 – плоская дисковая пружина; 9 – неподвижный внешний центральный фрикционный диск; 10 – ось сателлитов; 11 – противовес; 12 – ролик; 13 – прорезной диск; 14 – рычаг; 15 – пружина; 16 – рычажный механизм; 17 – выходной вал; 18 – корпус-эпицикл; 19 – поворотный рычаг; 20 – фасонная прорезь прорезного диска; ЖСМ – жидкий смазочный материал.
Поворотные рычаги 19 сидят на осях 1, закрепленных в водиле 2. Ролики 12 отжимаются на периферию пружинами 15, усилие которых может изменяться принудительно с помощью рычажного механизма 16, воздействие на который осуществляется рычагом 14. Рычаг может передвигаться как вручную (например, с помощью винтового механизма, если нужно принудительно устанавливать нужные передаточные отношения), так и с помощью усилителей, имеющих упругую характеристику (например, пневмокамер, управляемых от пневмосистемы). Следует отметить, что вариатор является прогрессивным и без механизма изменения усилия пружин. Но тогда он будет иметь всего одну «мягкую» рабочую характеристику, например, как у гидротрансформатора или электродвигателя постоянного тока с последовательным возбуждением. Описанный механизм изменения усилия пружин (как в сторону его уменьшения, так и увеличения) изменяет лишь степень «мягкости» характеристики вариатора, позволяя работать на любом режиме, что особенно важно для автомобильной автоматической трансмиссии. В таком случае рычаг 14 будет связан с педалью управления скоростью автомобиля, с дополнительным усилителем или без него.
При изменении крутящего момента на выходном валу 17, ролик 12, находящийся до этого в прорези 20 в уравновешенном состоянии, под действием усилий пружин 4, 8, 15, тангенциальных усилий рабочего момента и других усилий в механизме вариатора, изменяет свое положение в прорези, меняя при этом передаточное отношение. Нажимные пружины 4 и 8 при этом упруго деформируются за счет расклинивающего действия сателлитов, что при вращении фрикционных дисков связано с ничтожным сопротивлением трению, и имея специально подобранные характеристики «сила-деформация», обеспечивают оптимальный по КПД нажим фрикционных дисков, с запасом β=1,25...1,5. Прорезь 20 может быть выполнена и такого профиля, когда она лишь уменьшает или полностью устраняет усилие перевода ролика 12 при изменении передаточного отношения. Таким образом, свойство прогрессивности является как бы «врожденным» свойством, присущим конструкции вариатора, и достигается лишь подбором формы прорези 20 и жесткости пружины 15.
Опытный образец описанного вариатора в виде мотор-вариатора был рассчитан и спроектирован авторами данной работы и изготовлен на АМО ЗИЛ по совместному тематическому плану с Московским государственным индустриальным университетом (МГИУ). При расчете вариатора были использованы созданные при участии авторов методики и программы [3]. Проектирование вариатора осуществлялось в системе трехмерного моделирования CATIA (рис.4). Заметим, что опытный образец мотор-вариатора, имеющий самостоятельное значения для общепромышленного назначения, для АМО ЗИЛ является первым этапом создания автоматической бесступенчатой коробки передач, в частности для автобуса ЗИЛ-3250.
Рис. 4. Изометрия мотор-вариатора
Для испытаний мотор-вариатор был снабжен тормозным устройством с водяным охлаждением тормозного барабана и с возможностью регулирования тормозного момента (рис.5).
Рис. 5. Общий вид мотор-вариатора с тормозным устройством
Испытания опытного образца показали, что вариатор действительно является прогрессивным, имея «мягкую» характеристику, представленную на рис.6.
Рис. 6. Зависимость крутящего момента на выходе Мвых от частоты вращения выходного вала n2 и передаточного отношения i мотор-вариатора
При этом на высоких передаточных отношениях, в данном случае кинематическом, равном i=9, а реальном около i=13, проскальзывание достигало 35%, а значение передаваемого крутящего момента все возрастало. Эту необыкновенную «живучесть» фрикционного вариатора мы объясняем высоким значением фактора верчения при высоких передаточных отношениях данного вариатора. Похожий эффект возрастания коэффициента УГД-трения при высоких значениях проскальзывания и фактора верчения был получен проф. H.Vojacek в трибологической лаборатории в г. Гмунде, Германия [4]. Как известно, при малых значениях фактора верчения уже небольшие значения скольжения вызывают падение коэффициента УГД-трения и буксование фрикционной передачи, что показано многочисленными испытаниями на роликовых стендах.
Концепция нового прогрессивного вариатора в его автомобильном назначении в качестве автоматической бесступенчатой коробки передач была описана в [5, 6], в качестве составной части автомобильного гибрида в [7, 8], и в качестве нового перспективного типа движителя автомобиля, где вариатор встроен в ступицу ведущего колеса – вариоколеса, в [9].
Наиболее крупной спроектированной конструкцией на основе разработанного вариатора является вариатор-мультипликатор для ветроустановки мощностью 680кВт. Следует заметить, что сдвоенный вариатор такой мощности с одним механизмом управления, расположенным в середине, может передать мощность 1,5МВт, что достаточно для самой распространенной в перспективе модели ветроустановки. Следует отметить, что как мощность, передаваемая через каждую зону контакта при этом, так и особенно мощность потерь, переходящая в тепло, здесь значительно меньшие, чем способна передать зона контакта даже меньшего размера, что показано испытаниями на стендах [10].
В качестве жидкого смазочного материала (ЖСМ) предполагается использование как моторного масла (например, для коробки передач к автобусу ЗИЛ-3250, имеющей большой запас по мощности), так и специально разработанных трактантов «Santotrac» и «Variotrac», широко выпускаемых в США и Германии, а также отечественного трактанта ВТМ-1. Заметим, что использование трактантов существенно повышает несущую способность, долговечность и КПД вариаторов и перспективы их применения сомнений не вызывают.
Список литературы
Многодисковый планетарный вариатор / Н.В.Гулиа. – Патент России №2140028; 26.05.98.
Автоматическая бесступенчатая передача / Н.В.Гулиа. – Патент России №2138710; 16.06.98.
Гулиа Н.В., Юрков С.А., Петракова Е.А., Ковчегин Д.А., Волков Д.Б.Методика расчета основных параметров фрикционного дискового вариатора // Справочник. Инженерный журнал. – 2001. – №1. – С.30...39.
Vojacek H., Traktionsfluide Struktur und Eigenschaften vor alle Reibungsverhalten, Elmatik GmbH, 8036 Herrsching 2/BRD, 1985.
Отрохов В.П., Гулиа Н.В., Петракова Е.А., Юрков С.А.Бесступенчатая коробка передач для ЗиЛ-5301 // Автомобильная промышленность. – 1998. –№7. – С.16...18.
Гулиа Н.В., Власов А.Е., Юрков С.А.Механическая бесступенчатая передача для грузовых автомобилей и автобусов. Перспективы использования // Грузовик & Автобус, троллейбус, трамвай. – 1999. – №12. – С.7...12.
Гулиа Н.В., Юрков С.А.Гибридные силовые агрегаты для городских автобусов // Грузовик & Автобус, троллейбус, трамвай. – 2000. – №1. – С.10...14.
Гулиа Н.В., Юрков С.А.Новая концепция электромобиля // Автомобильная промышленность. – 2000. – №2. – С.14...17.
Гулиа Н.В., Мартин Ф., Юрков С.А.Вариоколесо и его перспективы для автомобилей // Автомобильная промышленность. – 2000. – №10. – С.19...21.
Елманов И.М., Колесников В.И.Термовязкоупругие процессы трибосистем в условиях упругогидродинамического контакта. – Ростов-на-Дону: Центр Высшей школы, 1999. – 173с.















