66316 (696233)
Текст из файла
План
-
ОБЩАЯ ХАРАКТЕРИСТИКА и АССОРТИМЕНТ Рубленых полуфабрикатов
-
ИЗМЕЛЬЧЕНИЕ МЯСА
-
СОСТАВЛЕНИЕ ФАРША РУБЛЕНЫХ ПОЛУФАБРИКАТОВ
-
ФОРМОВАНИЕ ПОЛУФАБРИКАТОВ
-
ФАСОВАНИЕ И УПАКОВЫВАНИЕ
1. ОБЩАЯ ХАРАКТЕРИСТИКА и АССОРТИМЕНТ Рубленых полуфабрикатов
Рубленые полуфабрикаты - порционные изделия из фарша, составленного в соответствии с рецептурой, основой которой является рубленое (измельченное) мясо.
В торговлю поступают в основном полуфабрикаты из мяса убойного скота: бифштекс рубленый, котлеты и фрикадельки.
Рубленые полуфабрикаты характеризуются высокой пищевой ценностью (табл. 1.1), усвояемостью и вкусовыми достоинствами.
Таблица 1.1
| Название рубленых полуфабрикатов | Содержание, % | ||||||
| воды | белков | липидов | угле- водородов | золы | энергетическая ценность, 100 г/кДж | ||
| Бифштекс | 7,9 | 17,8 | 23,1 | 1,2 | 1223 | ||
| Котлета Московская | 3,0 | 19,0 | 8,8 | 0,5 | 2,7 | 775 | |
| Котлета Домашняя | 2,7 | 18,0 | 9,4 | 0,8 | 3,1 | 792 | |
Основным сырьем для рубленых полуфабрикатов является котлетное мясо, которое может заменяться жилованным мясом. В качестве дополнительного сырья для бифштексов используют шпик, для котлет -жирсырец, лук, пшеничный хлеб, замоченный в воде, и др. Вспомогательными материалами для всех изделии являются соль (1,2% массы фарша), перец черный (0,04—0,00%) и вода (6,7—20,8%), добавляемая в фарш котлет для повышения его сочности. Введение в фарш рубленых полуфабрикатов казеппата натрия, изолированного соевого белка, копрецппптата (высокобелкового молочного концентрата) в количестве 10—20% позволяет заменить до 10% мяса, улучшить их органолептпческне качества, повысить пищевую и биологическую ценность, увеличить водосвязывающую способность, снизить потери при жарке.
При производстве рубленых полуфабрикатов мясо и дополнительное сырье измельчают на волчке, последовательно загружают в мешалку, куда добавляют соль в виде раствора, перец, а если предусмотрено рецептурой, то яйца и другое сырье. Фарш перемешивают до образования однородной массы. Для понижения температуры массы при перемешивании в мешалку добавляют лед вместо 20 % предусмотренной по рецептуре воды. Фарш формуют в автоматах высокой производительности. Форма изделий округлая, фрикаделек — цилиндрическая (диаметром 28 мм и высотой не более 15 мм). Изделия укладывают на лотки, котлеты панируют при этом панировочной мукой из пшеничных сухарей. Фрикадельки подвергают затем замораживанию до температуры не выше — 10°С и расфасовывают в коробки по 350 г.
Бифштекс рубленый приготовляют из говяжьего котлетного мяса или мяса жилованного 2-го сорта (80%), шпика несоленого (12%), нарезанного на кусочки 3х3 мм, вспомогательных материалов. Масса порции — 50, 75 и 100 г.
Московские котлеты изготовляют из говяжьего мяса (50%), пшеничного хлеба (14%), жира-сырца говяжьего или свиного (9%), лука репчатого, панировочной муки и вспомогательных материалов.
Киевские котлеты вырабатывают, как и Московские, но из свинины, с содержанием жира около 30 %•
Домашние котлеты приготовляют из говяжьего и свиного мяса, взятых в количестве по 30,5% (рецептура № 1) или соответственно 42 и 10% (рецептура № 2), с добавлением в фарш яиц, меланжа или кровяной сыворотки (2%).
Особые котлеты вырабатывают из мякоти окорочков мяса кур или индеек ((>2%), хлеба пшеничного (14%), воды (21,4%), соли (0,5%), сухарей панировочных (4%).
Котлеты выпускают порциями по 50 и 100 г.
Школьные котлеты, обладающие высокой биологической ценностью за счет сочетания мясного и молочного сырья п предназначенные для детей школьною возраста, приготовляют из говяжьего и свиного котлетного мяса, молока обезжиренного сухого, хлеба пшеничного, панировочных сухарей и вспомогательных материалов.
О с т а и к и н с к и е ф р и к а д е л ь к и изготовляют из говяжьего жилованного мяса 1-го сорта (78%), лука (16%), жира-сырца говяжьего, обрезков шпика пли жирной свинины.
К и е в с к и е ф р и к а д е л ь к и готовят из говядины жилованной 1-го сорта (38%), свинины полужирной и свиной щековины или обрези (42%), лука (0%), сухого молока и яиц. Средняя масса одной фрикадельки— 10 г.
Фрикадельки предназначены для приготовления как первых (варят до готовности в 1,5—2 л воды), так и вторых блюд (панируют в муке, обжаривают в масле, добавляют томат-пюре, специи, бульон и тушат до готовности).
Для питания детей дошкольного и школьного возраста разработаны рецептуры фрикаделек детских — из говяжьего и свиного котлетного мяса, крупы манной, молока сухого цельного, лука и вспомогательных материалов и ленинградских, сырьем для которых является также меланж, а вместо манной крупы используют вареный рис. Масса одной фрикадельки — 7—9 г.
Заготовочные предприятия общественного питания вырабатывают для реализации котлеты особые — из мяса кур или индеек (02%), хлеба (14%), воды (22%), соли и панировочных сухарей, порциями 50 и 100 г.
За рубежом (США, Швеция, Нидерланды и другие страны) вырабатывают рубленые прессованные замороженные полуфабрикаты типа натуральных порционных (бифштексы, лангеты, антрекоты и пр.). Эти полуфабрикаты приготовляют из мяса с высоким содержанием соединительной ткани (котлетное мясо, мясная обрезь и др.). Вырабатывают их из блочного замороженного бескостного мяса, которое нарезают чешуйками, перемешивают, прессуют в виде брусков, последние нарезают на ломтики, которые упаковывают на вакуум-упаковочных машинах и замораживают. Полуфабрикаты сохраняют структуру, водосвязывающую способность, сочность и вкус натурального мяса.
2. ИЗМЕЛЬЧЕНИЕ МЯСА
Степень измельчения мяса оказывает большое влияние им вкус рубленых полуфабрикатом. При тонком измельчении, например при куттеронании, аромат и вкус полуфабрикатом будут заметно хуже, чем приготовленных из мяса, измельченного на полчке. Это обусловлено сильным связыванием тонко измельченной структурой мяса ароматических и вкусовых веществ, а из-за значительного связывания воды при пережевывании меньше выделяется мясного сока и вкус продукта ощущается слабее. В полуфабрикатах из мяса ручной обвалки органолептические свойства более выраженные.
Тем не менее, в торговую сеть часто поступают полуфабрикаты, особенно пельмени, изготовленные из тонкоизмельченного мяса. Конечно, при тонком измельчении мясо лучше удерживает воду, чем и пользуются некоторые производители, добавляя в фарш воду, чтобы получить дополнительный выход продукции, не принимая во внимание заметное ухудшение вкуса.
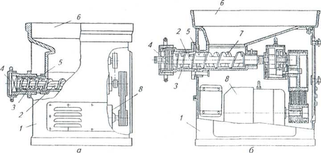
При изготовлении рубленых полуфабрикатов мясо измельчают на волчках. Промышленные волчки по конструкции мало отличаются от бытовых мясорубок, они просты в исполнении, по конструкции и надежны в работе. На рис. 2.1 приведены схемы типичных волчков с обычной и принудительной подачей сырья к режущему механизму. Волчок состоит из станины 1, привода 8, загрузочной горловины 6, приемного 5 и рабочего 3 цилиндров, режущего (ножевого) механизма 4 и устройств для подачи к нему сырья—червяка 2 в волчках с обычной подачей сырья, а также червяка 2 и шнека 7 в волчках с принудительной подачей. Мясо через загрузочную
Рис. 2.1. Схемы волчков с обычной (а) и принудительной подачей сырья в рабочий цилиндр (б):
/ — станина; 2—шнек рабочий (черняк); 3— цилиндр рабочий; 4 — механизм режущий; .5 — цилиндр приемный; 6 — горловина загрузочная; 7— шнек подачи; 8— привод
горловину попадает в приемный цилиндр, откуда червяком (или шнеком и червяком) подается в рабочий цилиндр. Под действием давления, обусловленного уменьшением шага витков червяка, мясо проталкивается через последовательно собранные ножи и решетки, и выходит из волчка в измельченном виде. Внутри рабочей камеры имеются ребра, которые направляют движение мяса, предотвращая его смятие.
Принудительная подача сырья в рабочую часть машины обеспечивает постоянную загрузку режущего механизма (на уровне заданной производительности) и высокую удельную производительность. Уменьшается удельный расход энергии на измельчение по сравнению с подачей вручную или самотеком. Однако конструкция волчка с принудительной подачей более сложная, следовательно, стоимость его возрастает, так что принудительная подача мяса дает положительный эффект только при большой производительности волчков. Чем длиннее рабочий шнек (червяк), тем меньше мяса вытесняется обратно в загрузочную часть и выше производительность волчка: при большом числе витков образуется как бы лабиринт, что снижает возможность передавливания фарша из зоны давления в зону загрузки.
Важнейшая часть волчка — режущий механизм. Он может быть плоским и коническим. Наиболее распространены волчки с плоским режущим механизмом, который набирают из ножей и решеток (как для мясорубок). Обычно решетка неподвижна, а нож вращается. Плоские режущие механизмы проще в исполнении и удобнее в работе — легче регулировать степень прижатия решеток и ножей, от которой зависит эффективность измельчения мяса. Конические режущие механизмы сложнее в исполнении, но позволяют снизить расход энергии для измельчения мяса.
а
б
Рис. 2.2. Схемы сборки режущего механизма волчка:
а — для мелкого измельчения; б — для крупного измельчения: / — решетка приемная; 2— нож двусторонний; 3 — решетка крупная; 4— решетка мелкая; 5—приемное кольцо узкое; 6 — приемное кольцо широкое; 7— гайка зажимная
Производительность волчка и удельный расход энергии можно регулировать путем комплектования режущего механизма, который может быть набран из 1—6 режущих плоскостей. При мелком и среднем измельчении мяса устанавливают больше режущих плоскостей. Типичные варианты набора и схемы сборки ножей и решеток режущего механизма волчка показаны на рис. 2.2.
При грубом измельчении сырья режущий механизм собирают в такой последовательности: на палец рабочего шнека надевают односторонний приемный нож, затем решетку, которую шпонкой неподвижно закрепляют в рабочем цилиндре. Нож вращается вместе с рабочим шпеком, заточенные лезвия ножа прилегают к решетке. Поверхности решетки и ножа шлифуют для более плотного прилегания, что улучшает условия резания.
Режущий механизм необходимо собирать так, чтобы измельчение было вначале более грубым, затем более тонким. Это обеспечивает меньшие затраты энергии, и соответственно измельчаемый продукт меньше нагревается. В ножевом механизме с четырьмя режущими плоскостями на палец рабочего шнека надевают приемную решетку, двусторонний нож, крупную решетку с отверстиями большего диаметра, например 16 или 25 мм, второй двусторонний нож, мелкую решетку и прижимное кольцо. Ножи и решетки умеренно затягивают зажимной гайкой.
Производительность волчка определяется пропускной способностью режущего механизма, которая, в свою очередь, зависит от диаметров решетки и отверстий в ней. Диаметр решетки является характеристикой, по которой различают волчки (например, волчок с решеткой диаметром 120 мм, или 120-миллиметровый волчок). В волчках отечественного производства приняты решетки диаметрами 82, 120, 160, 220 мм, зарубежных— 100, 130, 160, 200 и 300 мм. Решетки изготовляют с отверстиями диаметрами 2, 3, 4, 6, 8, 12, 16, 20, 25 мм (иногда 5, 9 и 13 мм).
Производительность режущего механизма зависит от числа перьев на ножах. Наиболее распространены крестообразные ножи, т.е. с четырьмя перьями. С увеличением числа перьев на ноже производительность волчка возрастает, если при этом не снижается степень использования решетки (перья ножей не перекрывают слишком большую площадь решетки).
Характеристики
Тип файла документ
Документы такого типа открываются такими программами, как Microsoft Office Word на компьютерах Windows, Apple Pages на компьютерах Mac, Open Office - бесплатная альтернатива на различных платформах, в том числе Linux. Наиболее простым и современным решением будут Google документы, так как открываются онлайн без скачивания прямо в браузере на любой платформе. Существуют российские качественные аналоги, например от Яндекса.
Будьте внимательны на мобильных устройствах, так как там используются упрощённый функционал даже в официальном приложении от Microsoft, поэтому для просмотра скачивайте PDF-версию. А если нужно редактировать файл, то используйте оригинальный файл.
Файлы такого типа обычно разбиты на страницы, а текст может быть форматированным (жирный, курсив, выбор шрифта, таблицы и т.п.), а также в него можно добавлять изображения. Формат идеально подходит для рефератов, докладов и РПЗ курсовых проектов, которые необходимо распечатать. Кстати перед печатью также сохраняйте файл в PDF, так как принтер может начудить со шрифтами.














