kursovik_mintai (696074), страница 9
Текст из файла (страница 9)
применение в конструкциях оборудования быстродействующих средств защитного отключения возможных источников зажигания;
применение технологических процессов и оборудования, удовлетворяющих требованиям электростатической искробезопасности;
поддержание такой температуры нагрева поверхностей оборудования, устройств, веществ и материалов, могущих войти в контакт с горючей средой, которая была бы ниже предельно допустимой, составляющей 80% наименьшей температуры самовоспламенения горючего;
исключение возможности появление в горючей среде искрового разряда, обладающего энергией, равной минимальной энергии зажигания или большей;
применение не искрящего инструмента при работе с легко воспламеняющимися жидкостями или газами;
ликвидация условий для возгорания имеющихся веществ;
соблюдение правил совместного хранения веществ и материалов;
выполнение установленных правил пожарной безопасности.
Установленное оборудование отвечает всем перечисленным выше мерам пожарной безопасности.
Из первичных средств пожаротушения в цехе имеются огнетушители, внутренние пожарные краны с рукавами и стволами, пожарные кошмы, ящики с песком, бочки с водой, пожарные щиты с набором стандартного оборудования.
-
Охрана окружающей среды
Во всех технологических процессах используется вода. При этом происходит ее насыщение вредными веществами (загрязнение), которые способны пагубно влиять на флору и фауну водоёма. Поступление промышленных вод в окружающую среду может привести к ухудшению экологической обстановки в данном регионе.
Все загрязняющие вещества можно разделить на минеральные, органические и бактериальные.
Минеральные (химические) загрязняющие вещества включают в себя грунт, песок, шлак, нефть и нефтепродукты, растворы минеральных солей, кислот, щелочей и других веществ.
Органические (биологические) загрязняющие вещества содержатся в фекальных - хозяйственных сточных водах, пищевых отходах и других производств. Органические загрязняющие вещества бывают растительного и животного происхождения. Они наиболее опасны в санитарном отношении (особенно физиологические выделения человека и животных), т.к. могут вызывать желудочно-кишечные и другие инфекционные заболевания.
Бактериальными загрязняющими веществами являются различные микроорганизмы: дрожжевые и плесневые грибки, мелкие водоросли и др. Бактериальную загрязненность сточных вод характеризуют значениями коли-титра и коли-индекса.
Применимо к рассматриваемому производству, основным источником загрязнения является санитарная обработка оборудования. При мойке оборудования используется пресная вода, поступающая через систему водоснабжения из природных источников. Отработанная в процессе мойки вода содержит минеральные, органические и бактериальные загрязняющие вещества. Эта вода сливается после мойки в общую систему канализации, куда попадает через систему сбора сточных вод, и поступает в главную очистительную систему предприятия. После очистки вода может быть повторно использована для технологических нужд предприятия (замкнутый цикл) или сбрасывается в естественные водоемы.
Загрязнение вод - основная причина качественного истощения водных ресурсов. Главную опасность представляют сточные воды – промышленные, сельскохозяйственные и бытовые. Они, попадая в водоём, нарушают его естественный режим: поглощая растворённый в воде кислород, нарушают кислородный баланс водоёма, ухудшают качество воды, нередко парализуют жизнедеятельность флоры и фауны. Загрязнение природных вод приводит к тому, что они оказываются непригодными для питья, купания и для технических нужд. Особенно пагубно загрязнение влияет на рыб, водоплавающих птиц, животных и на другие организмы. Кроме того, органические вещества, скапливающиеся в почве и на её поверхности, загнивают, поражают воздух неприятными запахами. При проникновении сточных вод в глубь грунта они могут сильно загрязнять грунтовые воды.
Состав сточных вод указан в таблице 3.17.
Таблица 3.17.
Состав сточных вод
| Наименование | Содержание, мг/л |
| Белки Жиры Углеводы Минеральные соли Прочее | 50-2100 6-20 24-600 140-150 60-720 |
Для выяснения состава загрязнений осуществляют систематический отбор проб воды с ее последующим химическим анализом.
Для вредных веществ, присутствие которых в воде вредно для здоровья людей или ухудшает её качество, установлены предельно-допустимые концентрации (ПДК).
На предприятии принимают меры к предотвращению потерь всех вредных веществ с помощью очистки сточных вод.
Очистка сточных вод заключается в разложении грязи и вредных веществ и удалении их, а также в ликвидации бактериального загрязнения, т.е. уничтожении патогенных микроорганизмов.
Механическую очистку применяют для удаления из сточных вод нерастворимых примесей. Для механической очистки используют решета, сита, песколовки, отстойники, жироловки, различные фильтры. Для выделения тяжелых грубодисперсных примесей сточных вод широко применяются гидроциклоны. Применение гидроциклонов позволяет значительно снизить продолжительность очистки.
Химическая и физико-химическая очистка загрязненных вод заключается в добавлении к ним реагентов, которые вступают в реакцию с загрязняющими веществами и способствуют выпадению вредных веществ в осадок или преобразованию их в соединения, не проявляющие отрицательного воздействия на здоровье людей и качество продукции промышленных предприятий.
Посредством химической очистки из сточных вод удаляются мелкие твердые и жидкие частицы загрязнений, растворимые газы, минеральные и органические вещества. Методы химической очистки: хлорирование, окисление озоном.
Биологическая очистка заключается в минерализации органических соединений воды посредством аэробных биохимических процессов, в результате чего вода становится прозрачной, содержащей кислород и нитраты. Она осуществляется в естественных и искусственных условиях.
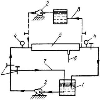
На рисунке 3.1. приведена ультрафильтрационная очистная установка.
-
накопительная емкость;
-
центробежный насос;
-
вентиль;
-
манометр;
-
ультрафильтрационный модуль;
-
трубка для отвода фильтрата;
-
перепускная система;
-
система мойки
-
Заключение.
В проектируемой линии производства мороженого филе минтая получили следующие показатели:
-
производительность цеха – 25 т/сут.
-
Площадь цеха – 576 м2.
Данный цех можно с помощью небольшой модернизации переоборудовать для выпуска филе других видов рыбы, а также для выпуска мороженой рыбы.
-
ЛИТЕРАТУРА
-
Андрусенко П.И. «Технология рыбных продуктов» - М., Агропромиздат, 1989.
-
Беков В.П. «Технология рыбных продуктов» - М., Пищевая промышленность, 1971.
-
Воскресенский Н. А., Лагунов Л.Л. «Технология рыбных продуктов», - М., Пищевая промышленность, 1968.
-
Гинзбург А.С. «Теплотехнические характеристики пищевых продуктов», - М., Агропромиздат, 1990.
-
ГОСТ 13-615 «Ящики из гофрированного картона».
-
ГОСТ 13-830 «Соль поваренная пищевая».
-
ГОСТ 32-82 «Проволока стальная низкоуглеродистая».
-
ГОСТ 39-48 «Филе рыбное мороженое».
-
ГОСТ Р51-074 «Продукты пищевые. Информация для потребителя. Общие требования».
-
ГОСТ Р51-232 «Вода питьевая».
-
ГОСТ 60-34 «Декстрин».
-
ГОСТ 76-31 «Рыба. Правила приемки, органолептический метод. оценки качества, методы отбора проб».
-
Дегтярев В.Н. «Сборник методических указаний, лабораторных работ по технологическому оборудованию рыбообрабатывающих производств», - г. Петропавловск-Камчатский, ПКВМУ, 1991.
-
Дикис М.Я., Мальский А.Н. «Технологическое оборудование пищевая промышленность», - М., Пищевая промышленность, 1969.
-
Кизеветтер И.В. «Биохимия сырья водного происхождения», - М., Пищевая промышленность, 1973.
-
Кизеветтер И.В. «Технологическая и химическая характеристика промысловых рыб тихоокеанского бассейна», - Владивосток, Дальиздат, 1971.
-
Новиков В.М. «Технология рыбных продуктов и технологическое оборудование рыбообрабатывающих предприятий», - М., Пищевая промышленность, 1980.
-
Н-75 (Нормы расхода тары упаковочных и оберточных материалов при производстве пищевой рыбопродукции на предприятиях Дальрыбы).
-
Осипов Н.И. «Оборудование рыбообрабатывающих предприятий», - М., Пищевая промышленность, 1980.
-
ОСТ 15-930 «Полимерные пакеты».
-
«Правила по технике безопасности и производственной санитарии», - М., Пищевая промышленность, 1968.
-
Романов А.А. и др. «Справочник по технологическому оборудованию рыбообрабатывающего производства» Т 1.2, - М., Пищевая промышленность, 1979.
-
«Санитарные правила для рыбообрабатывающих предприятий», - М., Минздрав СССР, 1971.
-
«Сборник технологических инструкций по обработке рыбы», в 2-х частях, - М., Пищевая промышленность, 1982.
-
«Справочник технолога рыбной промышленности» под редакцией Новикова, - М., Пищевая промышленность, 1971.
-
Кизеветтер И.В. 2-е изд. «Технология обработки водного сырья», - М., Пищевая промышленность, 1976.
-
ТУ 15-01 393 «Этикетки и ярлыки бумажные».
-
ТУ 15-01 440 «Минтай-сырец».
-
Чепрасов Н.Н. «Оборудование предприятий и судов рыбной промышленности и его эксплуатация», - М., Пищевая промышленность, 1980.
-
Чупахин В.М. «Технологическое оборудование рыбообрабатывающих предприятий», - М., Пищевая промышленность, 1976
-
Перечень графического материала.
4.1. План цеха и технологическая схема производства в контурах оборудования – 1 лист.
4.2. Рыбомойка универсальная модернизированная В5-ИРМ – 1 лист.
ДОМ ТР. 04. 0 . 0 . 0 .ПЗ | Лист | |||||
Изм. | Листт | № докум. | Подп. | Дата |















