63463 (695330)
Текст из файла
БЕЛОРУССКИЙ ГОСУДАРСТВЕННЫЙ УНИВЕРСИТЕТ ИНФОРМАТИКИ И РАДИОЭЛЕКТРОНИКИ
Кафедра ЭТТ
РЕФЕРАТ
На тему:
«Модель Кронинга-Пенни. Структура энергетических зон»
МИНСК, 2008
Модель Кронига-Пенни.
d=a+b
E<
В модели Кронига-Пенни рассматривается движение электронов в линейной цепочке прямоугольных потенциальных ям. Амплитудное уравнение Шредингера для движения в таком поле имеет вид:
Как показал Блох, решением этого уравнения является волновая функция такого типа:
Она представляет собой произведение уравнения плоской бегущей волны
, описывающей движение свободного электрона в поле с постоянным потенциалом, на периодическую функцию U(x), зависящую от волнового числа k и имеющую тот же период, что и период потенциала U(x) – период решетки d.
Для областей I(U=0) и областей II(U=
) получаем:
;
;
В области потенциального барьера волновой вектор принимает мнимое значение
, а за пределами барьера при
=0 действительное α, А. В, С, Д- постоянные коэффициенты.
С помощью функции Блоха
найдем вид функции U(x) для областей I и II:
Определить А, В, С, D можно с учётом того, что функция u(x) и её первая производная являются непрерывными в местах скачка потенциала
( с U1=0 до U2=U0 )
И обладает свойствами периодичности с периодам равным d=a+b
.
Решая систему из четырёх уравнений при условии
и что определитель равен 0 получаем:
Использование этих условий позволяет определить не только А, В, С, D, но установить связь между
и
. Введём дополнительные упрощения и будем считать, что ширина барьера
, а высота
так что произведение bU=const.
Для бесконечно тонкого и бесконечно высокого барьера получаем:
, где
.
Это уравнение выражает зависимость энергии электрона E, входящей в переменную
от волнового вектора
для барьеров различной прозрачности Р.
Так как
изменяется в пределах от (+I) до (-I) то
может принимать только такие значения при которых:
.
В соответствии с формулой:
заштрихованные участки определяют область разрешенных энергий электрона – энергетические зоны.
Эти зоны отделены друг от друга полосами запрещенных энергии - запрещенными зонами. Им отвечают области значений
, в которых, в которых
должна была бы быть больше +I или меньше -I, что запрещено выражением
.
С увеличением энергии электрона ширина разрешенных зон увеличивается, а ширина запрещенных зон уменьшается.
Ширина зон зависит также от параметра Р. При
разрешенные зоны сужаются, превращаясь в дискретные уровни, соответствующие
где
т.е. к значениям, соответствующим изолированной потенциальной яме. При
, наоборот, исчезают запрещенные зоны и электрон становится свободным.
Выразим Е с помощью
Рассмотрим зависимость энергии электрона от волнового вектора
. Штрихпунктирная линия изображает зависимость Е(
) для свободного электрона.
Внутри каждой зоны энергии электрона непрерывно растет с ростом волнового вектора. При значениях:
энергия претерпевает разрыв, приводящий к образованию запрещенных зон.
Мы получим формулу Вульфа-Бреггa, выражающую условие отражения волн от плоской решетки для случая, когда угол падения равен 90°. Разрывы в энергетическом спектре электрона в кристалле происходят при выполнении условия Брегговского отражения электронных волн от плоскости решетки. Электроны с такой длиной волны претерпевают в кристалле полное внутреннее отражение и распространяться в кристалле не могут.
Пусть на решетку действуют лучи с длиной волны λ. Лучи, отраженные от атомных плоскостей, интерферируют между собой и
усиливают или ослабляют друг друга.
Усиление происходит в том случае, если разность хода лучей отраженных от соседних атомных плоскостей, будет целократна длине волны. Разности хода лучей
Поэтому условие усиления запишется:
Лучи падающие на атомные плоскости под углом, удовлетворяющим этому условию, полностью отражаются и через решетку пройти не могут. При
мы получаем:
В случае связанного электрона при значениях волнового вектора кратных π/a энергия терпит разрыв. С увеличением силы связи электрона высота разрывов становится больше.
Зоны Бриллюэна.
При изменении волнового вектора от О до ± 2(π/a), энергия растет при k = π/a непрерывно, она претерпевает первый разрыв. При дальнейшем увеличении k энергия снова растет непрерывно, пока при k = ±2(π/a) не испытает второго разрыва и т.д.
Области значений k , в пределах которых энергия электрона изменяется непрерывно, а на границах претерпевает разрыв, называются зонами Бриллюэна.
Зона I для линейной модели кристалла простирается от - π /a до + π/a, зона II - от -2(π/a) до - π /a и от + π /a до +2(π /a) и имеет протяженность равную 2(π/a). Все зоны Бриллюэна имеют одну и туже протяженность равную 2(π/a).
Понятие зон Бриллюэна распространяется и на случай двух- и трехмерных решеток. В пределах каждой зоны энергия электрона изменяется непрерывно с изменением волнового вектора, на границах зон она претерпевает разрыв. Утверждения о равенстве всех зон Бриллюэна справедливо для двух- и трехмерных случаев.
Теперь об обратной решетке. Всякой пространственной решетке может быть противопоставлена обратная решетка. Обратная решетка обладает теми же геометрическими свойствами, что и прямая. В основе обратной решетки лежит элеметарная ячейка, образуемая тремя независимыми базисными векторами b1; b2 .
Параллельным переносом элементарной ячейки (трансляцией) можно получить всю обратную решетку. Все узлы обратной решетки могут быть описаны вектором:
Базисные векторы обратной решетки (или постоянные обратной решетки) связаны с постоянными прямой решетки следующими соотношениями в виде векторных произведений:
Из приведенных выражений видно, что вектор b перпендикулярен как a2 так и a3. Численные значения базисных векторов обратной решетки равны:
b1 = 2π/a1 ; b2 = 2π/a2 ; b3= 2π/a3
Каждому виду элементарной ячейки в прямой решетке соответствует определенный вид элементарной ячейки в обратной решетке. Так, простой кубической ячейке соответствует также простая кубическая ячейка обратной решетки с ребрами 2π/a (см. рис.)
Более сложную обратную решётку имеют гранецентрированная кубическая решётка и решётка типа алмаза (см. рис.).
Зона Бриллюэна трёхмерного кристалла совпадает с его обратной решёткой. В кристалле в с простой прямоугольной решёткой энергия электрона является периодической функцией k с периодами 2π/а1, 2π/а2, 2π/а3 по соответствующим осям решётки (см. рис.). Таким образом, пространство обратной решётки представляет собой пространство волнового вектора.
Зона Бриллюэна для решётки типа алмаза представляет собой многогранник, окружённый шестью плоскостями типа (100) и восемью плоскостями типа (111). Зона Бриллюэна лежит в пределах волнового вектора -2π/а ≤ k ≤ 2π/а.
Обозначения: [0 2π/а 0], [0 1 0].
Электроны обладают волновыми свойствами, и их движение через кристалл можно представлять себе как процесс распространения электронных волн. Если для этих волн условие Вульфа-Брэггов не выполняется, то движение электрона описывается бегущей волной eikx и связь энергии E с волновым числом является однозначной. При выполнении условия Вульфа-Брэггов, т.е. в точках kn=nπ/а наступает отражение электронных волн от атомных плоскостей, интерференция отражённых волн с бегущими и образование стоящих волн. Поэтому в точках kn=nπ/a электроны следует представлять уже не бегущей волной, а стоячей, состоящей из двух одинаковых бегущих волн:
eikx и e-ikx,
распространяющихся в противоположные стороны. Эти волны дают два решения уравнения Шрёдингера. Для точки k=π/a эти решения имеют следующий вид:
ψ1=A1ei(π/a)x- B1e-i(π/a)x,
ψ2=A2ei(π/a)x+B2e-i(π/a)x.
Решениям ψ1 и ψ2 соответствуют разные энергии. Решению ψ2 отвечает энергия Emin, которая соответствует верхней границе первой зоны (точка А); решению ψ1 — энергия Emax, отвечающая нижней границе второй зоны (точка B). При k несколько меньшем π/а энергия электрона меньше Emin; при k несколько больше π/а собственные значения энергии электрона лежат выше Emax. В промежутке между Emin и Emax не лежит ни одно собственное значение энергии электрона, т.е. область между Emin и Emax представляет собой запрещённую зону энергии.
О структуре энергетических зон.
В трёхмерном кристалле периодичность решётки в разных направлениях различная: a ≠ b ≠ c. Поэтому в трёхмерном векторном пространстве (kx, ky, kz) kx = ±nπ/a, ky = ±nπ/b, kz = ±nπ/c, при которых наступает брэгговское отражение электронных волн и возникают разрывы в энергетическом спектре электрона, для разных направлений в решётке должны быть различными.
I. Предположим, что область энергии, запрещённая для одних направлений, является разрешённой для других направлений. В этом случае запрещённые полосы, соответствующие этим направлениям, не перекрываются.
На рисунке: кривые зависимости энергии электрона от волнового числа для направлений kx, ky, kz. Запрещённые полосы, соответствующие этим направлениям, не перекрываются.
Направления не перекрываются
Кривые зависимости энергии электрона от волнового числа для направления kx ky kz. Запрещенные полосы соответствующие этим направлениям не перекрываются.
Запрещенные полосы перекрываются.
Поэтому, хотя определенные области энергий запрещены для электронов, движущихся в одном направлении, они являются разрешимыми для электронов движущихся в другом направлении. Энергетический спектр в целом оказывается квазинеприрывным.
2. Случай. Предположим теперь, что полосы запрещенных энергий для направлений a, b, c, перекрываются. В этом случае существуют области энергий, запрещенные для электронов движущихся в любых направлениях. Энергетический спектр таких электронов будет состоять тогда из зон разрешенных энергий, разделенных полосами запрещенных энергий.
Внутри зоны волновое число h меняется от -П/а до П/а . Положение периодических краевых условий ограничивает k следующими значениями
k=n2П/L, n=± 0, ± 1, ± 2, ... ± L/2
где L – длина атомной цепочки, a – параметр решетки.
Из формулы видно, что число независимых значений k равно L/a=N, где N – число атомов в цепочке.
Таким образом, в интервале -П/а до П/а k может принять только N различных значений, которым соответствует N различных энергетических уровней, для трехмерного кристалла N представляет собой число атомов в кристалле.
Приведенные зоны.
Рассмотренные представления о периодическом характере зависимости энергии от волнового вектора, позволяют привести зависимость к первой зоне Бриллюэна.
Энергия электронов в каждой разрешенной энергетической зоне является периодической функцией k при переходе из одной зоны Бриллюэна в другую. Период этой зависимости для линейной решетки определяется величиной 2π/а. Это означает, что последующие зоны Бриллюэна дают состояния, эквивалентные состояниям первой зоны Бриллюэна. Иначе говоря, можно сдвинуть все кривые E(k) в разных зонах Брилллюэна на целое число периодов 2π/а, так чтобы они попали в первую зону Брилллюэна. Совокупность кривых E(k) для разных энергетических зон, нанесенных в первой зоне Брилллюэна, позволяет представить всю зонную схему в пределах одной - приведенной зоны Брилллюэна.
А) -завивисимость энергии электрона от волнового вектора для случая слабой связи. Штриховой Линией показана зависимость Е(h) для свободного электрона;
Зависимости энергии электрона от волнового вектора для трех направлений в h-пространстве, когда энергетические зоны не перекрываются (Б) и валентная зона в направлении kz перекрывается с зоной проводимости в направлении ky. Удобно пользоваться упрощенным видом энергетических зон, для чего энергетическую зону представляют в виде набора энергетических уровней, принадлежащих всему объему кристалла (см. Рис.).Число Энергетических уровней в каждой зоне, очевидно, равно числу разрешенных значений волнового вектора. При построении энергетических уровней необходимо иметь в виду, что в качестве исходных зон следует выбирать зоны Бриллюэна в тех направлениях, в которых имеются максимальные значения энергии. Например, для кристалла с кубической решеткой такими направлениями являются (100) и (100) в k-пространстве.
Возможные случаи зонной структуры твёрдых тел.
В нейтральном изолированном атоме внутренние энергетические уровни полностью заполнены. Внешний валентный уровень может быть незаполненным, частично заполненным, заполненным полностью. В зависимости от того, каким является внешний валентный уровень отдельных атомов и в твёрдом теле заполнение зон оказывается неодинаковым. Зоны, образованные за счёт внутренних уровней всегда полностью заполнены электронами. В ряде случаев зона, образованная валентными уровнями, может оказаться не полностью заполненной NZ(N – число ат., Z – число эл., 2N – число квантовых состояний в каждой зоне, NZ/2N = Z/2 - число заполненных зон.).
Зону, образованную в твёрдом теле за счёт валентных уровней отдельных атомов, называют валентной зоной. Степень заполнения валентной зоны электронами определяются химической природой атомов, образующих твёрдое тело, кристаллической структурой и ещё целым рядом факторов.
В изолированном атоме выше валентного уровня располагаются уровни которые могут и не быть заполнены электронами, но на которые электроны перейдут, если атом будет возбуждён. Для этого валентному электрону необходимо преодолеть энергетический барьер, равный потенциалу возбуждения атома.
При образовании из отдельных атомов твёрдого тела выше валентной зоны всегда будет находится полностью свободная от электронов зона, которую называют зоной проводимости.
Степень заполнения энергетических зон.
Металлические кристаллы либо имеют незаполненную валентную зону, либо их валентная зона перекрывается зоной проводимости.
Все одновалентные элементы являются металлами, поскольку их валентная энергетическая зона заполнена наполовину.
Двухвалентные элементы имеют полностью заполненную валентную зону. Однако все они являются металлами. Это объясняется перекрытием валентной зоны зоной проводимости.
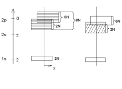
Рассмотрим перекрытие зон на примере бериллия (2эл. – I S и 2-2 S). Состояния 2p – свободны. При образовании кристалла N атомов формируется 1s и 2s зоны имеющие по 2N – разрешенных состояний. Зона 2s – является валентной. Разрешенный атомный уровень 2p, не содержащий электронов (их может быть 6) образует 6 разрешенных но незаполненных электронами состояний. Кристаллы трехвалентных элементов Al, Ga, In, Tc имеющие по три валентных электрона, обладают высокой электропроводностью, поскольку верхняя энергетическая зона заполнена на ½. Своеобразную зонную структуру имеют элементы четвёртой группы периодической системы. Углерод в виде алмаза представляет собой полупроводник с узкой запрещённой зоной, а в другой – металл. Изменение структуры кристалла олова меняет форму зоны Бриллюэна. Свинец является металлом.
Валентные электроны изолированного атома кремния образуют один уровень 3s и три уровня 3p. В невозбуждённом состоянии четыре валентных электрона занимают, очевидно, один уровень 3s и один уровень 3p с учетом принципа Паули.
При образовании кристалла кремния четыре энергетических уровня расцепляются в четыре зоны. Три из них перекрывают друг друга, образуя валентную зону, содержащую 6N состояний. Четвертая зона, содержащая 2N состояний, отделена от валентной зоны и является зоной проводимости. В валентной зоне при переходе электрона в зону проводимости среди электронов образуется вакантное место. Это вакантное место обычно называют дыркой. Дырка как носитель заряда проявляется лишь при ковалентной связи между атомами в кристалле. Далее мы рассмотрим это более подробно. А теперь перейдём к зонной структуре твёрдых тел.
Если зона проводимости отделена от валентной зоны запрещённой зоной, то заполнение зоны проводимости может произойти только тогда, когда электроны валентной зоны получают дополнительную энергию, необходимую для преодоления энергетического барьера, равного ширине запрещённой зоны. Известны четыре типа зонной структуры твёрдых тел.
Тип 1. Такая зонная структура наблюдается у металлов. На внешней валентной оболочке у таких металлов находятся электроны, в то время как полностью заполненная внешняя оболочка должна иметь минимум два электрона, максимум 6. В этом случае валентная зона заполнена только наполовину. При действии электрического поля на такой кристалл электроны получают дополнительную энергию и переходят на более высокие энергетические уровни. Как видно из рис. 5а, во всех глубоко лежащих зонах этот процесс невозможен, так как в них все уровни полностью заполнены электронами. Так как в этом случае валентная зона заполнена лишь частично, то в ней переходы электронов будут происходить беспрепятственно. В таком кристалле под действием электрического поля прохождение электрического тока будет иметь место при любой температуре. Таким образом, для одновалентных металлов электропроводность практически не изменяется при изменении температуры.
ТипII. Зонная структура ряда твердых тел может характеризоваться следующим образом. У этих материалов валентная зона заполнена полностью, но запрещенная зона между валентной зоной и зоной проводимости отсутствует. (Рис. 5б).
Такие твердые тела обладают хорошей электропроводностью, которая слабо изменяется с изменением температуры. Этот тип зонной структуры соответствует металлическому состоянию. В отдельных атомах, из которых образовано данное твердое тело, валентные уровни заполнены полностью. Особенностью, отличающей данный тип зонной структуры является то, что ближайшие к валентным уровни отстоят от последнего на очень набольшие расстояния и при сближении атомов при образовании твердого тела валентная зона и зона проводимости оказываются взаимно перекрытыми.
Тип III и тип IV. Зонную структуру этих типов (Рис. 5 в, г ) будем рассматривать совместно, так как с физической точки зрения качественного отличия между ними нет. Они отличаются друг от друга только количественно. Но тем не менее количественные отличия столь существенны, что проводимости на два класса: полупроводников и диэлектриков.
В этих случаях валентная зона заполнена полностью и не перекрывается с зоной проводимости. В твердых телах, обладающих такой зонной структурой, перемещение электронов под действием электрического поля не происходит до тех пор, пока в результате возбуждения часть электронов из валентной зоны не будет переведена в зону проводимости. Электропроводность твердых тел, имеющих зонную структуру таких типов, оказывается сильно зависящей от температуры и с увеличением температуры возрастает.
Типы III и IV отличаются друг от друга шириной запрещенной зоны. Естественно, что для преодоления запрещенной зоны, имеющей большую ширину необходима более высокая температура. Твердые тела, у которых электропроводность наблюдается при очень высоких температурах, относят к диэлектрикам. Диэлектрики характеризуются шириной запрещенной зоны 2 эВ и выше. Все материалы, имеющие запрещенную зону меньшей ширины, считаются полупроводниками. Все глубокие зоны, лежащие ниже валентной можно исключить из рассмотрения, так как их электроны не участвуют в прохождении электрического тока твердых телах, в слабых и средних электрических полях.
Газ свободных электронов
Состояния, которые может занимать электрон в твердом теле, описываются уравнение Шредингера:
(1)
Решением этого уравнения является функция Блоха:
Соотношения между энергией и волновым числом в одномерной периодической решетке:
представление расширенной зоны распределения:
Функция распределения Ферми-Диракса при нулевой и ненулевой температуре.
-между энергией Ферми и химическим потенциалом существует очень маленькое различие.
Поверхности с последовательно возрастающими значениями энергии в первой зоне Бриллюэна (Поверхность Ферми)
Волновые функции электронов проводимости должны быть ортогональны функциям состояний остова атома. (Принцип Паули… в противном случае состояния проводимости начнут заполнять занятые состояния остова атома… см. Блоха)
Если в (1) V(r)=0 то решением (1) будет :
(1).
Собственные значения энергии будут
(2). Поэтому все энергетические поверхности в k-пространстве являются сферами. Поверхность Ферми:
(3).
(4).
В k–пространстве интервал энергии
соответствует сферической оболочке
. Плотность состояний в k–пространстве
и с учетом принципа Паули:
, а в объеме
:
(5)
Учитывая равенство
после подстановки (2) в (5) получаем:
(6)
Если умножить плотность состояний (6) на вероятность занятости уровней (функция Ферми-Диракса) при Т=0 и проинтегрировать вплоть до энергии Ферми
, то в результате получим число электронов в зоне проводимости на единицу объема. Таким образом можно выразить энергию Ферми следующим образом :
(7)
Удобно выразить скорость на поверхности Ферми через число валентных электронов, и испрользуя (3), (4) и (7), в результате получим:
(8)
Металлы, полупроводники, диэлектрики
Атомы газов могут рассматриваться как, изолированные, так как они находятся на сравнительно больших расстояниях друг от друга. При атмосферном давлении и комнатных температурах эти рассеяния примерно в 100 раз превышают диаметр атома и атомы практически не взаимодействуют друг с другом.
Однако оптические спектры газовых молекул, состоящих из двух или более плотно упакованных атомов, содержат большее число линий, чем спектры простых атомов, так как взаимодействие атомов в молекуле приводит к значительному увеличению числа энергетических уровней.
При газовом разряде, происходящем при высоком давлении (например, в ртутных лампах высокого давления), вследствие такого рода обменного взаимодействия возникает практически непрерывный спектр излучения. По этой же причине можно ожидать, что спектр твердых тел будет содержать большое число линий, так как в твердом теле отдельные атомы отстоят друг от друга в кристаллической решетке на расстоянии, равном всего нескольким диаметрам атома. Это же является причиной сильной электрической связи между атомами твердого тела.
В атомах металлов, обладающих от одного до трех валентных электронов, сила притяжения этих электронов к собственному ядру атома из-за малых расстояний между атомами в твердом теле практически скомпенсирована кулоновскими силами взаимодействия между валентными электронами соседних атомов. Связь валентных электронов с ядром слабее в атомах с незаполненной валентной оболочкой по сравнению с атомами, внешняя (валентная) оболочка которых целиком заполнена. Вследствие этого степень компенсации силы притяжения электронов к ядру в решетке металла больше, чем в решетке полупроводника или диэлектрика, атомы которых обладают четырьмя и более валентными электронами. В полупроводниках и диэлектриках силы притяжения между ядром и валентными электронами настолько велики, что проводимость тела при комнатных температурах либо почти полностью отсутствует (у диэлектриков), либо оказывается очень незначительной (у полупроводников).
Благодаря частичной (у диэлектриков и полупроводников) или почти полной (у металлов) компенсации сил притяжения между валентными электронами и ядром атома, а также из-за ослабления связи остальных электронов в твердом теле энергетические уровни электронов преобразуются в энергетические зоны.
Вместо модели энергетических уровней электронов изолированных атомов в случае твердого тела пользуются так называемой моделью энергетических зон, которую следует рассматривать как развитие энергетической модели атомов с дискретными энергетическими уровнями. Основному уровню в схеме свободного (изолированного) атома соответствует в случае твердого тела средний потенциал решетки, который идентифицируется с верхней границей валентной зоны твердого тела.
Если в результате сообщения твердому телу некоторой энергии электрон отделяется от «своего» атома, он может квазисвободно перемещаться по кристаллу в периодическом потенциальном поле атомов (или ионов) решетки. В зонной модели этому процессу соответствует переход электрона из валентной зоны в вышележащую зону проводимости. Минимальная энергия, необходимая для такого перехода, имеет разное значение для различных классов твердых тел (рис. 19).
Металлы. Проводимость металлов обусловлена тем, что валентные электроны благодаря слабой связи с ядром могут быть легко отделены от атома. Тепловой энергии электрона при комнатной температуре уже достаточно, чтобы практически все атомы металла оказались ионизированными. В этом случае говорят об «электронном газе» электронов, квазисвободно передвигающихся в решетке металла. Незначительная величина энергии ионизации металлических атомов отражена в зонной модели в том, что зона проводимости граничит с валентной зоной или даже перекрывается с ней.
Наряду с переходом электронов из валентной зоны в зону проводимости отдельные атомы могут обмениваться электронами внутри валентной зоны (без изменения энергии).
При температуре абсолютного нуля все электроны в зоне проводимости металла располагаются на низших энергетических уровнях, так что нижняя часть зоны проводимости оказывается полностью занятой электронами. Верхняя же часть зоны оказывается совершенно свободной. Верхний энергетический уровень зоны проводимости, занятый электроном при 0°К, называют уровнем Ферми EF. Этот энергетический уровень соответствует максимальной энергии электрона в металле при 0°К.
Диэлектрики. Благодаря более устойчивой и прочной связи электронов в диэлектриках с атомам зона проводимости отделена от валентной зоны (заполненной в нормальном состоянии электронами) широкой запрещенной зоной. Ширина ΔE этой зоны (у диэлектриков: ΔE > 2 эв, например, у алмаза при комнатной температуре ΔE = 7 эв) определяет наименьшую энергию, необходимую для ионизации атома диэлектрика. В нормальном состоянии зона проводимости не занята (т. е. существует только потенциально). Тем не менее переход электронов из валентной зоны в зону проводимости при комнатной температуре не может быть вызван тепловой ионизацией. Переход в зону проводимости возможен лишь в результате соударения частиц, если энергия ударяющей частицы достаточно велика.
При таком виде ионизации, имеющем, например, место при облучении диэлектрика светом или при бомбардировке его электронами, диэлектрик становится временно проводящим; при этом может произойти уменьшение сопротивления от 10 до 106 раз.
Собственные полупроводники. Собственные полупроводники представляют собой очень чистые кристаллы, лишенные дефектов, с сравнительно узкой запрещенной зоной (ΔE < 2 эв; например, ΔE = 1,1 эв у кремния при комнатной температуре). В данном случае переходы электронов из занятой валентной зоны в зону проводимости возможны уже при комнатной температуре. Благодаря этим переходам в валентной зоне возникают пустые места (дырки), которые ведут себя подобно квазисвободным частицам с положительным зарядом и также обусловливают возникновение проводимости. Так как переход каждого электрона всегда сопровождается образованием одной дырки, то концентрация электронов в собственном полупроводнике n всегда равна концентрации дырок р. Полупроводниками такого рода являются, например: весьма чистые германий и кремний.
Примесные полупроводники. Эти полупроводники отличаются от собственных полупроводников тем, что в решетке таких материалов имеются естественные дефекты, естественные примеси или искусственно введенные в решетку чужеродные атомы (легированный полупроводник - например, кристалл германия, легированный индием). Все эти дефекты решетки вызывают появление в запрещенной зоне особых энергетических уровней (примесных). Так как для ионизации примесного атома требуется энергия, равная по порядку величины 0,01 эв, примесные уровни лежат в соответствии с этой величиной энергии либо непосредственно под зоной проводимости, либо над валентной зоной (рис. 12), в зависимости от того, является ли примесный атом поставщиком электрона (донором) или ловушкой для электрона (акцептором). В первом случае преобладает проводимость n-типа, во втором случае — проводимость p-типа, но в обоих случаях проводимость будет существенно больше, чем собственная проводимость чистого полупроводника.
Рис. 12. Модель возможных энергетических состояний электронов в твердом теле (зонная модель).
1 — рентгеновские уровни; 2 — валентная оболочка; 3 — энергетические уровни электронов в изолированном атоме; ПЗ — зона проводимости; ВЗ — валентная (заполненная зона); 33 — запрещенная зона (с шириной ΔEД или ΔEП); n — носители при проводимости n-типа; р — носители при проводимости р-типа; О — основной уровень; Пр — уровни примеси чужеродных атомов; ПУ — поверхностный уровень (энергетический уровень на поверхности твердого тела); (+) —дырка; Ө — электрон; ЕF — уровень Ферми.
ЛИТЕРАТУРА
-
Сивухин Д.В. Общий курс физики. Оптика.— М.: Наука, 2000 – 752 с.
-
Зи С. Физика полупроводниковых приборов. В 2-х кн.—М.: Мир, 2004.
27
Характеристики
Тип файла документ
Документы такого типа открываются такими программами, как Microsoft Office Word на компьютерах Windows, Apple Pages на компьютерах Mac, Open Office - бесплатная альтернатива на различных платформах, в том числе Linux. Наиболее простым и современным решением будут Google документы, так как открываются онлайн без скачивания прямо в браузере на любой платформе. Существуют российские качественные аналоги, например от Яндекса.
Будьте внимательны на мобильных устройствах, так как там используются упрощённый функционал даже в официальном приложении от Microsoft, поэтому для просмотра скачивайте PDF-версию. А если нужно редактировать файл, то используйте оригинальный файл.
Файлы такого типа обычно разбиты на страницы, а текст может быть форматированным (жирный, курсив, выбор шрифта, таблицы и т.п.), а также в него можно добавлять изображения. Формат идеально подходит для рефератов, докладов и РПЗ курсовых проектов, которые необходимо распечатать. Кстати перед печатью также сохраняйте файл в PDF, так как принтер может начудить со шрифтами.














