63420 (695320)
Текст из файла
БЕЛОРУССКИЙ ГОСУДАРСТВЕННЫЙ УНИВЕРСИТЕТ ИНФОРМАТИКИ И РАДИОЭЛЕКТРОНИКИ
кафедра ЭТТ
РЕФЕРАТ на тему:
«Электрополитография. Рентгенолитиграфия»
МИНСК, 2008
Электрополитография
Электронолитография основана на непосредственном создании или проекционном переносе изображения с помощью пучка электронов.
Этот метод наиболее перспективен для формирования элементов изображения, размеры которых составляют менее микрометра, и имеет несколько существенных отличий от фотолитографии.
Электронный пучок, ускоренный электрическим полем при разности потенциалов U (В), характеризуется длиной волны (нм) актиничного излучения
(1)
Так, при разности потенциалов 15 000 В длина волны составит 0,01 нм, что более чем в десять тысяч раз меньше длины волны актиничного излучения, используемого в фотолитографии. Следовательно, даже при формировании элементов размером менее 1 мкм дифракционные явления не будет оказывать существенного влияния.
Энергия кванта светаЕ у = hcfh, а при прохождении ускоряющей разности потенциалов U энергия электрона
Ее = тес + е U (2)
где h =6,62 • 10-34 Вт • с - постоянная Планка; т = 9,1 х 10-28 г - масса электрона; с = 3 • 108 м/с —скорость света в вакууме; е=1,6•10-19Кл- заряд электрона.
Таким образом, при λ = 0,4 мкм энергия кванта света Еу = = 5 • 10"19 Дж, а при U=15 000 В энергия электрона Ее = 8,33 х10-14 Дж.
Столь высокая энергия актиничного излучения (в сто тысяч раз большая энергии кванта света) позволяет применять в электронолитографии специальные чувствительные полимерные составы, называемые электронорезистами. Электронорезисты характеризуются коэффициентом чувствительности, который определяется зарядом, образующимся при их экспонировании пучком электронов на единицу площади (Кл/см2).
Сравнительные характеристики фото- и электронорезистов при экспонировании их электронным пучком приведены В таблице 1.
Характеристики экспонирования резистов Табли ц а1.
Актиночувствительная Разрешающая способ- Коэффициент чувст композицияность, линий/мм вительности при U=
= 15 000 В, Кл/см2
Фоторезисты:
позитивные 600 6 • 10-4
негативные 300 (5…8) • 10-5
Электронорезисты на
основе:
метакрилатов 1000 10-s - 5 • 10-6
силиконов 1250 10-s -10-6
При экспонировании электронорезиста происходит рассеяние электронов пучка на ядрах его атомов и орбитальных электронах. Так как толщина слоя электронорезиста обычно мала (0,3 - 1,0 мкм), пучок электронов проходит через него и рассеивается в нижележащем слое и подложке (Рисунок 1). При этом наблюдается прямое и обратное рассеяние электронов, суммарное действие которого расширяет область экспонирования по сравнению с первичным пучком. Так, при диаметре пучка d0 = 50 нм, толщине слоя электронорезиста 0,5 мкм и энергии 20 кэВ диаметр рассеянного пучка электронов будет равен 200 нм. Естественно, что чем тоньше слой электронорезиста, тем больше его разрешающая способность.
При попадании электронного пучка в тонкий полимерный слой электроны при упругих и неупругих столкновениях теряют свою энергию. Эти процессы и называют рассеянием электронов. При таком рассеянии возникает поперечный поток электронов в направлении, перпендикулярном направлению падающего пучка. При прохождении пучка электронов в подложку в ней также происходят рассеяние и отражение электронов (обратное рассеяние).
Характеристики рассеяния зависят от энергии, тока и геометрии электронного пучка, толщины слоя электронорезиста и материала подложки. Обратное рассеяние оказывает влияние на экспонирование электронорезиста. Поэтому участки слоя электронорезиста, нанесенные на различные по составу слои, получают разные дозы облучения и будут проявляться по-разному.
Характеристиками рассеяния электронов в слое электронорезиста определяется форма клина проявления, которая зависит также от энергии воздействующих электронов, типа электронорезиста (позитивный или негативный), его толщины и состава слоев осажденных на подложку.
Рисунок 1. Рассеяние пучка электронов в слое электронорезиста и подложке:
1 — первичный пучок электронов, 2 - слой электронорезиста, 3 - подложка, 4 — область прямого и обратного рассеяния электронов
Рисунок 2. Формы клина проявления на тонком слое позитивного электронорезиста (а) и на толстых слоях позитивного (б) и негативного (в):
1 — пучок электронов, 2 - слой электронорезиста, 3 — подложка, 4 - область рассеяния и поглощения электронов, 5 - клин проявления
Формы клипа проявления электронорезиста в зависимости от толщины его слоя показаны на рисунке 2, а - в. Если пучок 1 электронов проходит через слой 2 злектронорезиста и не успевает рассеяться, так как его толщина мала, а энергия электронов велика, формы клина 5 проявления близка к вертикальной (Рисунок 2, а). Когда рассеяние электронов происходит в основном в объеме слоя электронорезиста большой толщины, после проявления форма его клина повторяет форму и области рассеяния электронов (Рисунок 2, б, в). На позитивных электронорезистах в этом случае получают "отрицательный" клин проявления, а на негативных — "тянутый".
Рассеяние электронов в слое электронорезиста влияет не только на форму клина проявления, но и существенным образом определяет возможность формирования малых элементов изображения. Так, на рисунке 1 была пунктиром показана граница области проявления при экспонировании электронным пучком. На самом деле область рассеяния электронов намного больше. Если элементы изображения лежат в непосредственной близости друг к другу, то дозы, полученные от рассеянных при экспонировании электронов, складываются и могут вызвать существенное искажение геометрии элементов после проявления.
Рисунок 3. Проявление "эффекта близости" при экспонировании в случаях отсутствия (а) и наличия (б) рассеяния электронов:
-
— распределение первичного пучка электронов, 2 — уровень облучения, необходимый для полного проявления, 3 — полученное изображение, 4 — реальное (рассеянное) распределение электронов при экспонировании, 5 - суммарное распределение дозы облучения с учетом рассеяния (эффект близости)
Рассмотрим, как "хвосты" рассеяния от экспонированных областей складываются и приводят к проявлению областей, в которые не проходило прямое экспонирование электронным пучком, но которые получили суммарную дозу, достаточную для их проявления. При малом рассеянии (тонкий слой электро-норезиста — Рисунок 3, а) область проявления соответствует области экспонирования, поэтому можно получить изображение малых экспонируемых областей d при их близком взаимном расположении. Сильное рассеяние электронов (Рисунок 3, б) искажает не только размеры проявленных областей, но и вызывает взаимное влияние близко расположенных элементов изображения. Такое влияние называют эффектом близости.
Эффект близости является самым значительным ограничением в электронолитографии по точности переноса изображения и формирования элементов малых размеров. На рисунке 4, а, б показано, как исходная геометрия элементов искажается из-за эффекта близости. Причем геометрия элементов может настолько исказиться, что произойдет полное их слияние.
Уменьшением дозы экспонирования площади элемента искажения устранить нельзя, так как это приведет к его недопроявлению. Поэтому для компенсации эффекта близости предварительно устанавливают определенную дозу экспонирования и выбирают необходимую геометрию элементов изображения. Только так удается избежать влияния эффекта близости.
В электронолитографии применяют два способа непосредственного формирования элементов изображения на полупроводниковых подложках: последовательной экспозицией тонким сфокусированным электронным пучком круглого сечения (сканирующий способ) и последовательным экспонированием прямоугольным пучком переменного сечения (электронно-наборный способ). Оба эти способа отличаются только операцией экспонирования.
По сравнению с фотолитографией электронолитография обладает следующими преимуществами:
Рисунок 4. Перенос изображения элементов без влияния "эффекта близости" (д) и искажение их геометрии под его влиянием (б): 1 — смыкание элементов, 2, 3 - допустимое и не допустимое частичное искажение формы элементов
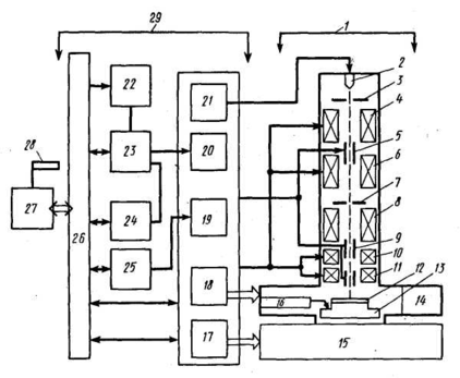
Рисунок 5. Структурная схема электронно-лучевой установки экспонирования :
1 — электронно-оптическая система, 2 - электронная пушка, 3, 7 — формирующая первичный электронный пучок и промежуточная диафрагмы, 4 - магнитная линза, формирующая электронный пучок, 5 -отклоняющая пластина, б, 8 - промежуточная фокусирующая и уменьшающая магнитные линзы, 9 - система электродов отклонения и отключения электронного пучка, 10 - магнитная система отклонения электронного пучка, 11 - проекционная магнитная линза, 12 -экспонируемая подложка, 13 - координатный стол, 14 — шлюзовая система загрузки и смены подложек, 15 - вакуумная система с безмасляными средствами откачки, 16 - система привода координатного стола, 17 - блок контроля и управления вакуумной системы, 18 - система управления координатным столом и загрузкой - выгрузкой подложек, 19 - блок питания и контроля магнитной системы, 20, 25 -блок и система контроля электронно-оптической системы, 21 - высоковольтный блок, 22 — буферное быстродействующее запоминающее устройство, 23 - арифметический блок расчета коррекций, 24 -система контроля изображения и совмещения, 26 - интерфейс, 27 — быстродействующая суперЭВМ, 28 - магнитная лента с топологической информацией, 29 - система управления
во-первых, имеет принципиально большую разрешающую способность, обусловленную малым влиянием дифракционных явлений;
во-вторых, пучок электронов можно отклонять и запирать с большими скоростями с помощью электрических или магнитных полей и управлять им по программе, заложенной в ЭВМ;
в-третьих, электронный пучок можно фокусировать с помощью магнитных линз в тонкий луч однородной плотности или формировать с помощью диафрагм в прямоугольный пучок переменного сечения;
в -четвертых, глубина резкости электронно-оптических систем значительно больше, чем оптических проекционных, что существенно снижает требования к геометрии полупроводниковых подложек;
в-пятых, так как электронно-лучевые системы размещаются в вакуумной рабочей камере, подложки в процессе экспонирования не загрязняются.
Рентгенолитиграфия
При рентгенолитографии изображение на полупроводниковую подложку "переносится с шаблона, называемого рентгеношаблоном, с помощью мягкого рентгеновского излучения, длина волны которого λ = 0,5…2 нм. Разрешающая способность рентгенолитографии 0,2 - 0,3 мкм.
В настоящее время рентгенолитография не нашла широкого применения в серийном производстве полупроводниковых приборов и ИМС из-за сложности технологии и используемого оборудования. Для реализации рентгенолитографии необходимы:
мощный источник рентгеновского излучения с малой расходимостью пучка;
рентгеношаблоны, обладающие высокой прочностью, контрастностью и малым температурным коэффициентом линейного расширения;
рентгенорезисты высокой разрешающей способности и чувствительности;
системы мультипликации изображения, погрешность совмещения которых не превышает 0,03 - 0,05 мкм.
Упрощенная схема экспонирования при рентгенолитографии показана на рисунке 6.
Характеристики
Тип файла документ
Документы такого типа открываются такими программами, как Microsoft Office Word на компьютерах Windows, Apple Pages на компьютерах Mac, Open Office - бесплатная альтернатива на различных платформах, в том числе Linux. Наиболее простым и современным решением будут Google документы, так как открываются онлайн без скачивания прямо в браузере на любой платформе. Существуют российские качественные аналоги, например от Яндекса.
Будьте внимательны на мобильных устройствах, так как там используются упрощённый функционал даже в официальном приложении от Microsoft, поэтому для просмотра скачивайте PDF-версию. А если нужно редактировать файл, то используйте оригинальный файл.
Файлы такого типа обычно разбиты на страницы, а текст может быть форматированным (жирный, курсив, выбор шрифта, таблицы и т.п.), а также в него можно добавлять изображения. Формат идеально подходит для рефератов, докладов и РПЗ курсовых проектов, которые необходимо распечатать. Кстати перед печатью также сохраняйте файл в PDF, так как принтер может начудить со шрифтами.














