63301 (695280)
Текст из файла
БЕЛОРУССКИЙ ГОСУДАРСТВЕННЫЙ УНИВЕРСИТЕТ ИНФОРМАТИКИ ИРАДИОЭЛЕКТРОНИКИ
Кафедра электронной техники и технологии
РЕФЕРАТ
на тему:
«Ультразвуковые колебательные системы технологического оборудования. Классификация колебательных систем»
МИНСК, 2008
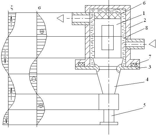
Ультразвуковая колебательная система (УЗКС) предназначена для преобразования электрической энергии в акустическую и передачи ее ультразвуковому инструменту или технологической среде. Типичная УЗКС система показана на рис. 1. Колебательная система работающая в режиме продольных колебаний.
Рисунок 1. Колебательная система в режиме продольных колебаний
1 - преобразователь; 2 - корпус; 3 - опора; 4 - концентратор; 5 - инструмент; 6 - звукопоглащатель; 7. - уплотнение; 8. - охлаждающая жидкость.
Она состоит из преобразователя 1, трансформатора 4, инструмента 5 и поглотителя звуковых колебаний 6. Опоры 3 служат для крепления корпуса 2 и всего узла в составе технологической установки. Жидкость 8 охлаждает систему при ее нагреве. Герметизация охлаждаемого объема осуществляется уплотнением 7. В колебательной системе любой конструкции всегда присутствует активный и пассивный элемент. Активный элемент системы, УЗ преобразователь предназначен для непосредственного преобразования энергии электрических колебаний в энергию механических колебаний. По принципу работы преобразователи бывают: электродинамические, электростатические, пьезоэлектрические, электромагнитные, магнитострикционные. Наибольшее распространение получили магнитострикционные и пьезоэлектрические. Они позволяют достаточно эффективно преобразовывать и излучать в нагрузку большие плотности акустической энергии. Пассивный элемент системы выполняет одну или несколько из следующих функций
-
Трансформация амплитуд;
-
Согласование механического сопротивления внешней нагрузки (инструмента, технологической среды) с внутренним сопротивлением активного элемента.
-
Крепление колебательной системы в технологической машине.
-
Связь колебательной системы с инструментом.
-
Создание УЗ поля в технологической среде (например, в моющей жидкости), технологическом устройстве корпуса ванны, обрабатываемом объекте (расплаве металла).
В зависимости от выполняемой функции пассивный элемент может называться волноводом (ф.2,3), трансформатором амплитуд или концентратором (ф.1,2,3) или излучателем (ф.3,5). Иногда пассивный элемент выполняет функцию преобразования колебаний: например, продольных в изгибные, продольных в крутильные и т.д. Активный и пассивный элементы жестко соединяются между собой. Причем это соединение может быть как разъемным, так и не разъемным.
Параметры колебательных систем.
1. Резонансная частота (f0) - частота на которой достигаются наибольшие значения колебательных смещений и скоростей.
На резонансной частоте достигается наилучшее согласование всех элементов системы.
Система может иметь несколько резонансных частот. Для каждой резонансной частоты характерна своя форма колебаний и геометрическое распределение стоячей волны (изгибные, крутильные, продольные, комбинированные и т.д.)
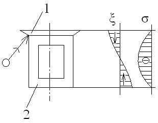
Добротность Q - отношение накопленной в резонансной системе энергии к потерям ее за одни период.
Добротность характеризует крутизну и вид АЧХ, ширину полосы рабочих частот колебательной системы.
Обычно добротность определяют экспериментально. Для этого снимают экспериментальную амплитудно-частотную характеристику (АЧХ) и вычисляют по формуле
Рисунок 2. К определению добротности.
, (1)
Где Δf = f1-f2 - изменение частоты колебаний системы, при которой амплитуда колебаний уменьшается в е раз.
При использовании колебательной системы для излучения в жидкости
Q = 10-20, что обеспечивает максимальную подачу энергии. При работе с концентратором стремятся к высоким значениям добротности Q = 100-1000. Такая добротность обеспечивает большие амплитуды колебаний выходного торца концентратора.
Механический импеданс (z) - отношение знакопеременного давления в какой либо точке поверхности тела или жидкости, на которое воздействует колебательная система, к колебательной скорости в этой точке.
При f0: z = zmin; при f ≠ f0 значение z→max;
Соответственно при zmin: ξ = ξmax, а при z ≠ zmax ξ << ξmax.
Колебательная система еще характеризуется: амплитудой смещения, подводимой электрической мощностью, мощностью отдаваемой в нагрузку
Классификация технологических колебательных систем:
-
По типу преобразователя УЗКС делят на магнитострикционные и пьезоэлектрические, гидродинамические и аэродинамические.
-
По типу колебаний УЗКС делят на:
- системы продольных колебаний;
- системы продольных крутильных колебаний;
- cистемы продольных изгибных колебаний.
Рисунок 3 - Схематическое изображение продольных и поперечных деформаций в нулевой продольной волне.
Рисунок 4 - Схематическое изображение сдвиговых деформаций в нулевой крутильной волне.
Рисунок 5 - Схематическое изображение деформаций в изгибной волне.
Типы упругих колебаний
Продольные колебания однородного стержня постоянного сечения для одномерного случая описываются уравнением:
, (2)
где С2пр = Е/p, поскольку связь между напряжением и смещением выражается законом Гука. Решением уравнения является:
, (3)
где
.
Крутильные колебания однородного стержня постоянного сечения описываются уравнением
, (4)
где θ – угол поворота поперечного сечения стержня;
С2кр=G/p; G – модуль сдвига;
p – плотность.
Решение уравнения
, (5)
где
.
Изгибные колебания однородного стержня описываются уравнением
, (6)
где С2изг = EJ/m;
E – жесткость стержня на изгиб;
J – момент инерции площади поперечного сечения стержня относительно нейтральной оси перпендикулярной плоскости колебаний;
m – масса стержня единичной длины.
Решением уравнения является выражение
, (7)
где
А, В, С, D – постоянные интегрирования определяются из граничных условий, соответствующих характеру связей существующих на концах стержня. Для нахождения четырех неизвестных надо задавать по два граничных условия на каждом конце стержня.
В простейшем случае конец стержня может быть:
-
Свободен
. -
Жестко закреплен
. -
Свободно оперт (шарнирно закреплен)
.
В чистом виде все три вида колебаний существуют редко. Наибольшее применение для технологических целей нашли системы продольных колебаний. Линейные размеры каждого элемента такой системы, да и самой системы в целом должны быть кратны половине резонансной длины волны
, (8)
где n – целое число.
По числу длин волн укладывающихся в колебательной системе их разделяют на типы: полуволновые, двухволновые, трехволновые и т.д.
Рисунок 6 - Полуволновые колебательные системы с преобразователем (1) и излучателем переменного сечения используют для излучения в жидкие среды.
Рисунок 7. – Параллельное включение УЗКС.
Если мощности одного преобразователя недостаточно, то на пассивном элементе размещают несколько преобразователей. Причем размещают их в синфазно колеблющихся точках пассивного элемента, т.е. на расстояниях кратных длине волны.
Рисунок 8 – Четвертьволновая УЗКС.
При необходимости получения значительной амплитуды колебаний и компактности конструкции используют схему с четверть волновым преобразователем и концентратором. Недостаток схемы соединение концентратора с преобразователем в точке максимальных механических напряжений.
Двухволновые системы свободны от недостатков предыдущих. Точки крепления в кучности напряжений требует усиленного фланца. Используются в мощных технологических установках до 600 Вт.
Рисунок 9 – Трехполуволновая УЗКС.
В условиях мощности до 1,0 – 4,0 кВт используют трехполуволновые системы. Возможно два места крепления (чем ближе к выходу точки закрепления, тем выше жесткость системы). Возможно использование составного пассивного элемента.
Системы с большим числом полуволн используются реже.
ЛИТЕРАТУРА
1.Орлов П.И. Основы конструирования. Справочно-методическое пособие. В 2-х кн. Кн.1. /Под ред. П.Н.Учаева. — 3-е изд. испр. — М.: Машиностроение
2.Конструирование приборов: В 2-х кн. /Под ред. В.Краузе; Пер. с нем. В.Н.Пальянова; Под ред. О.Ф.Тищенко. —Кн.1. М.: Машиностроение
3. Конструирование приборов: В 2-х кн. /Под ред. В.Краузе; Пер. с нем. В.Н.Пальянова; Под ред. О.Ф.Тищенко. — Кн.2. М.: Машиностроение
4.Попов В.Ф., Горин Ю.Н. Процессы и установки электронно-ионной технологии:Учеб. пособие для вузов.— М.: Высш. шк.,
Характеристики
Тип файла документ
Документы такого типа открываются такими программами, как Microsoft Office Word на компьютерах Windows, Apple Pages на компьютерах Mac, Open Office - бесплатная альтернатива на различных платформах, в том числе Linux. Наиболее простым и современным решением будут Google документы, так как открываются онлайн без скачивания прямо в браузере на любой платформе. Существуют российские качественные аналоги, например от Яндекса.
Будьте внимательны на мобильных устройствах, так как там используются упрощённый функционал даже в официальном приложении от Microsoft, поэтому для просмотра скачивайте PDF-версию. А если нужно редактировать файл, то используйте оригинальный файл.
Файлы такого типа обычно разбиты на страницы, а текст может быть форматированным (жирный, курсив, выбор шрифта, таблицы и т.п.), а также в него можно добавлять изображения. Формат идеально подходит для рефератов, докладов и РПЗ курсовых проектов, которые необходимо распечатать. Кстати перед печатью также сохраняйте файл в PDF, так как принтер может начудить со шрифтами.
.
.
.














