62557 (695081), страница 3
Текст из файла (страница 3)
N=R/Г, (11)
где Г - увеличение проектора (обычно
); R - число штрихов на один миллиметр элемента миры, в котором штрихи еще видны раздельно.
Суммарная относительная погрешность измерения предела разрешения составляет не более 12% при доверительной вероятности 0,95.
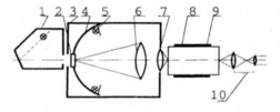
5. Измерение рабочего разрешения
Принцип измерения. Принцип измерения рабочего разрешения состоит в определении наибольшего числа штрихов в одном миллиметре изображения миры на заданном участке фотокатода ЭОП, еще различимое на экране раздельно по четырем направлениям при заданных освещенности на фотокатоде и параметрах оптической системы [9].
Измерительная аппаратура. Функциональная схема для измерения рабочего разрешения приведена на рис.6.
Рис.6. Схема установки для измерения рабочего разрешения ЭОП:
1 - осветитель; 2 - мира; 3 - проектор; 4 - адаптометр; 5 - лампа адаптометра; 6 - объектив коллиматора; 7 - проекционный объектив; 8 - испытуемый ЭОП: 9 - держатель ЭОП; 10 - окулярная оптика
Осветитель должен обеспечивать заданную освещенность изображения элементов миры в плоскости фотокатода ЭОП, а адаптометр (часть сферической поверхности, покрытая белой матовой краской с коэффициентом яркости, близким к единице) равномерную освещенность всего рабочего поля фотокатода. Отклонение освещенности от заданной величины не должно превышать 15%. При измерении рабочего разрешения используют отдельные элементы миры ГОИ, которые рассматривают поочередно. Элементы миры должны иметь отрицательный контраст, равный единице (темные штрихи на светлом фоне). Форма всех элементов миры должна быть одинаковой и соответствовать элементу № 1 миры ГОИ по ГОСТ 15114-78. Увеличение окулярной оптики должно быть не менее
.
Подготовка к измерениям. Измерения проводят в полностью затемненном помещении. Испытуемый ЭОП устанавливают в держатель и соединяют с источником питания. На ЭОП подают напряжения, указанные в технических условиях на ЭОП конкретного типа. Осветителем устанавливают заданную освещенность изображения светлых полос миры в плоскости фотокатода. Значение освещенности указывают в технических условиях на ЭОП конкретного типа. (Обычно для ЭОП первого поколения освещенность фотокатода составляет
лк, для ЭОП второго и третьего поколений
лк). Лампами адаптометра устанавливают освещенность всего рабочего поля фотокатода, равную освещенности изображения светлых полос миры, уравнивая эти освещенности на глаз. Измерения необходимо начинать после двадцатиминутной адаптации наблюдателя к темноте. Вспомогательные операции следует проводить при красном свете.
Проведение измерений. Изображение элемента миры фокусируют на заданный участок фотокатода ЭОП, наблюдая его изображение на экране через окулярную оптику. Рассматривая поочередно элементы миры, находят элемент с наибольшим порядковым номером, изображение штрихов которого во всех четырех направлениях еще видно раздельно. Рабочее разрешение измеряют три наблюдателя.
Обработка результатов измерений. Рабочее разрешение
штр/мм, вычисляют по формуле:
= R/Г, (12)
где Г - увеличение проектора; R - усредненное по данным трех наблюдателей число штрихов на 1 мм элемента миры, в котором штрихи еще видны раздельно.
Суммарная относительная погрешность измерения рабочего разрешения по приведенной методике не превышает 16% при доверительной вероятности 0,95.
6. Измерение электронно-оптического увеличения
Принцип измерения. Принцип измерения электронно-оптического увеличения состоит в определении отношения размера изображения объекта на экране ЭОП к размеру объекта на катоде ЭОП.
Измерительная аппаратура. Функциональная схема установки для измерения электронно-оптического увеличения показана на рис. 1;?.
Рис.7. Схема установки для измерения электронно-оптического увеличения ЭОП:
1 - осветитель; 2 - светозащитные диафрагмы; 3 - диафрагма с калиброванным отверстием; 4 - ЭОП; 5 - держатель ЭОП; 6 - микроскоп; 7 - экран ЭОП; 8 - фотокатод ЭОП
Примечание. Допускается также использовать проекционную схему, приведенную на рис. 14. В качестве объекта в этой схеме применяется сетка с окружностью соответствующего диаметра, которая устанавливается в фокальной плоскости объектива коллиматора.
Микроскоп должен иметь окулярную сетку со шкалой, цена деления которой, приведенная к плоскости экрана ЭОП, не более 0,05 мм, увеличение не менее
. Микроскоп необходимо установить в держатель, имеющий плавные перемещения вдоль оси и поперечные перемещения по вертикали и горизонтали. Диаметры изображений проектируемой окружности сетки или калиброванного отверстия диафрагмы указывают в технической документации на ЭОП конкретного типа.
Подготовка к измерениям. Испытуемый ЭОП устанавливают в держатель и соединяют с источником питания.
На минимальном расстоянии от фотокатода ЭОП, допускаемом конструкцией ЭОП, устанавливают диафрагму с калиброванным отверстием. Центр калиброванного отверстия диафрагмы должен быть совмещен с центром базовой поверхности фотокатодного узла. Расстояние L между телом накала или апертурной диафрагмой осветителя и диафрагмой с калиброванным отверстием должно удовлетворять условию
(13)
Здесь d-диаметр калиброванного отверстия диафрагмы, мм,
- максимальный поперечный размер тела накала лампы или апертурной диафрагмы осветителя, мм;
- расстояние между диафрагмой с калиброванным отверстием и плоскостью фотокатода, мм:
(14)
где
- расстояние между диафрагмой с калиброванным отверстием и катодным стеклом, мм;
- толщина катодного стекла, мм;
- показатель преломления катодного стекла.
Проведение измерений. На ЭОП подают напряжения, указанные в технической документации на ЭОП конкретного типа. На фотокатоде ЭОП устанавливают освещенность, обеспечивающую яркость экрана, достаточную для уверенных наблюдений. Микроскопом измеряют диаметр изображения калиброванного отверстия диафрагмы или диаметр изображения окружности сетки.
Обработка результатов измерений. Электронно-оптическое увеличение вычисляют по формуле
(15)
где
- диаметр изображения калиброванного отверстия диафрагмы или изображения окружности сетки на экране ЭОП, мм; d- диаметр калиброванного отверстия диафрагмы или изображения окружности сетки на фотокатоде испытуемого ЭОП, мм.
Суммарная погрешность измерения электронно-оптического увеличения для отношения
, где
-рабочий диаметр фотокатода, не превышает 3% для стеклянных ЭОП и 2% для ЭОП с волоконно-оптическим входом и выходом.
7. Измерение частотно-контрастной характеристики
Принцип измерения. Принцип измерения пространственной частотно-контрастной характеристики заключается в измерении коэффициента передачи контраста для ряда пространственных частот, приведенных к плоскости фотокатода испытуемого изделия.
Метод основам на гармоническом анализе изображения щели, формируемого испытуемым ЭОП (функции рассеяния линии), с последующим вычислением коэффициента модуляции регистрируемого сигнала фотоприемника, равного отношению переменной составляющей сигнала к постоянной составляющей. Гармонический анализ может быть осуществлен:
сканированием изображения щели растром переменной плотности или переменной площади с синусоидальным законом пропускания в направлении сканирования;
сканированием изображения щели растром с прямоугольной формой волны с последующим выделением основной гармоники сигнала путем электронной фильтрации.
Измерительная аппаратура. Функциональная схема измерительной установки показана на рис. 8.
Осветитель должен создавать равномерную яркость щели и совместно с оптикой переноса изображения поз. 3 заданную в технической документации освещенность в плоскости фотокатода ЭОП. Отклонение освещенности от заданного значения не должно превышать 15%. Изображение щели. проектируемое в плоскость растра, должно перекрывать по высоте размер анализирующего растра. Ширина щелевой прорези Ь в диафрагме должна удовлетворять условию:
, где
- максимальное значение пространственной частоты в плоскости фотокатода ЭОП, для которой производятся измерения ЧКХ; П увеличение оптики переноса изображения, расположенной между диафрагмой со щелевой прорезью и фотокатодом ЭОП.
Рис. 8. Схема установки для измерения ЧКХ ЭОП:
1 - осветитель; 2 - диафрагма с щелевой прорезью; 3 - оптика переноса изображения; 4 - ЭОП; 5 - микроскоп-визир; 6 - оптика переноса изображения; 7 - анализирующий растр; 8 - устройство обработки и регистрации сигнала; 9 - приемник излучения; 10 - полупрозрачное зеркало.
В качестве оптики переноса изображения рекомендуется применять микрообъективы типа ОМ-12 (увеличение
, апертура 0,11); ОМ-5 (увеличение
, апертура 0,3); ОМ-27 (увеличение
, апертура 0,4). Тип микрообъектива (апертуру и увеличение) выбирают в соответствии с требованиями стандартов или технических условий на ЭОП конкретного типа. Устройство обработки сигнала должно обеспечивать возможность уверенной регистрации сигнала в присутствии шумов ЭОП (фильтрацию шумов). Средняя квадратическая случайная погрешность регистрирующего устройства не должна превышать 2%.
Подготовка и проведение измерений. Измерения проводят в соответствии с инструкцией по эксплуатации установки.
В результате измерений получают коэффициенты передачи контраста (КПК) Ты на пространственных частотах /V, приведенных к плоскости фотокатода ЭОП.
Обработка результатов измерений. Пространственные частоты N, приведенные к плоскости фотокатода, вычисляют по формуле
(16)
где
- электронно-оптическое увеличение испытуемого ЭОП; Г - увеличение оптики переноса изображения, расположенной между экраном и анализирующим растром; р - период анализирующего растра, мм (указывают в формуляре измерительной установки).
Полученные значения КПК умножают на поправочные коэффициенты, учитывающие систематическую погрешность измерительной установки:
















