62453 (695034), страница 2
Текст из файла (страница 2)
Для испытания РЭСИ и их элементов на воздействие влаги используют камеры влажности или комбинированные термовлагокамеры. Камеры должны обеспечивать получение воздуха с определенной температурой, влажностью и скоростью движения. При этом должен воспроизводиться постоянный или циклический режим испытаний.
Испытательная камера, как правило, состоит из рабочего отсека, в котором размещают испытываемые изделия, осушительно-увлажнительного устройства, вентиляторов, измерителя влажности, вспомогательных устройств и электрооборудования. Для получения в камере заданного режима необходимо достаточно точно регулировать влаго- и теплосодержание воздуха, поскольку незначительные изменения температуры сопровождаются значительными колебаниями относительной влажности около точки росы. Для поддержания относительной влажности 95±3 % в диапазоне температур 40-70 ºС требуется точность регулирования по сухому термометру ±0,3ºС, а по мокрому до ±0,2ºС.
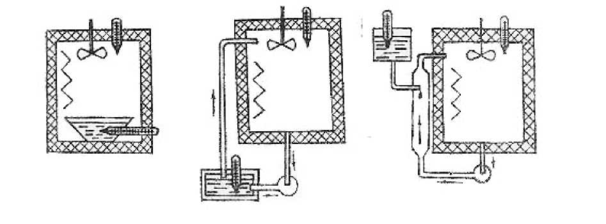
Для обеспечения требуемой влажности воздуха в испытательных камерах применяется ряд способов (рисунок 1). Наиболее простым является открытый способ, воспроизводящий природные условия увлажнения. Его недостатком является трудность поддержания необходимого режима. Характерной особенностью закрытых способов увлажнения является рециркуляция воздуха из рабочего объема камеры через увлажнительное устройство. В увлажнителе воздух либо продувается через слой подогретой воды, либо смешивается с распыленной водой (рисунок 2). Иногда для имитации быстрых суточных изменений температуры и влажности воздуха в испытательный объем вводится водяной пар.
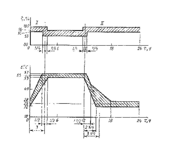
Рисунок 1 - Этапы изменения относительной влажности С, и температуры t окружающей среды в циклическом режиме ускоренного испытания изделий:
I - конец подъема температуры; II - начало падения температуры; т - 1/4 ч. - время, в течения которого не допускается конденсация влаги в изделиях
Рисунок 2 - Способы увлажнения воздуха:
Управление, сигнализация и контроль режима испытания выполняются вручную или автоматически. Автоматическое поддержание режима работы тепловлагокамеры основано на совместном действии датчиков температуры и влажности с программными устройствами и исполнительными механизмами.
Для измерения влажности воздуха в испытательных камерах применяют гигрометры, в которых используется психрометрический или сорбционный метод измерения влажности. Психрометрический метод основан на принципе сравнения температуры воздуха и температуры тела, с поверхности которого происходит испарение воды. Сорбционный метод основан на использовании гигроскопических тел, свойства которых изменяются в зависимости от количества поглощенной влаги. В зависимости от свойства материала, использованного для измерения, различают деформационные, весовые, цветовые и другие сорбционные гигрометры.
В системах автоматического регулирования температуры и влажности в качестве датчиков наиболее часто используются ртутные контактные термометры, терморезисторы, термопары и деформационные гигрометры. Внешний вид и схема камеры тепла и влаги КВТ-0,4-155 приведены на рисунке 3.
Рисунок 3 - Внешний вид и схема камеры тепла и влаги КВТ-0,4-155: 1 - сухой термометр; 2 - мокрый термометр; 3 - чехол; 4,10 - вентиляторы; 5,6,18,25 - платиновые термометры сопротивления; 7,15 - нагреватели; 8 - змеевик; 9 - заслонка; 11,12,19 - соленоидные вентили; 13,14 - датчики уровня воды; 16 - паровой увлажнитель; 17,20,27,28 - электронные мосты; 21 - полезный объем камеры; 22 - пространство для циркуляции воздуха; 23 - пароотвод; 24 - стакан подпитки; 26 - емкость с дистиллированной водой.
Испытания на воздействие инея с последующим его оттаиванием
Испытания проводят с целью проверки способности изделий допускать включение под электрическое напряжение при выпадении на них инея с последующим его оттаиванием.
Испытание проводят следующим образом: изделия помещают в камеру холода и выдерживают при температуре минус 15-25 °С в течение 2 ч, если другие условия не оговорены в ПИ и стандартах. Далее изделия извлекают из камеры холода, помещают в нормальные климатические условия испытаний, после чего на изделия подают электрическое напряжение, характер, величина, время выдержки и места приложения должны устанавливаться в стандартах и ПИ. Изделия считают выдержавшими испытания, если при подаче напряжения не произошло пробоя или поверхностного перекрытия.
ЛИТЕРАТУРА
Глудкин О.П. Методы и устройства испытания РЭС и ЭВС. – М.: Высш. школа., 2001 – 335 с 2001
Испытания радиоэлектронной, электронно-вычислительной аппаратуры и испытательное оборудование/ под ред. А.И.Коробова М.: Радио и связь, 2002 – 272 с. 2002
Млицкий В.Д., Беглария В.Х., Дубицкий Л.Г. Испытание аппаратуры и средства измерений на воздействие внешних факторов. М.: Машиностроение, 2003 – 567 с 2003
Национальная система сертификации Республики Беларусь. Мн.: Госстандарт, 2007 2007
Федоров В., Сергеев Н., Кондрашин А. Контроль и испытания в проектировании и производстве радиоэлектронных средств – Техносфера, 2005. – 504с. 2005















