3034-1 (694405)
Текст из файла
Эйнштейн: изобретения и эксперимент
В. Я. Френкель, Б. Е. Явелов
Магнитострикционный громкоговоритель
10 января 1934 г. Германское патентное ведомство по заявке, поданной 25 апреля 1929 г., выдало патент № 590783 на "Устройство, в частности, для звуковоспроизводящей системы, в котором изменения электрического тока вследствие магнитострикции вызывают движение магнитного тела". Одним из двух авторов изобретения значился доктор Рудольф Гольдшмидт из Берлина, а другой был записан так: "доктор Альберт Эйнштейн, ранее проживавший в Берлине; теперешнее местожительство неизвестно".
Магнитострикцией, как известно, называют эффект сокращения размеров магнитных тел (обычно имеются в виду ферромагнетики) при их намагничивании. В преамбуле к патентному описанию изобретатели пишут, что силам магнитного сжатия препятствует жесткость ферромагнетика. Чтобы магнитострикцию "заставить работать" (в данном случае привести в колебательное движение диффузор громкоговорителя), эту жесткость нужно как-то нейтрализовать, скомпенсировать. Эйнштейн и Гольдшмидт предлагают три варианта такой, казалось бы, неразрешимой задачи.
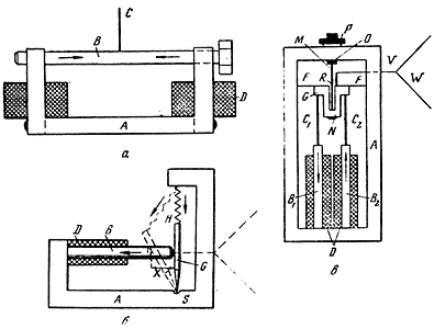
Рис. Три варианта магпитострикционного громкоговорителя
Первый вариант проиллюстрирован на рис. a. Несущий иглу С с диффузором ферромагнитный (железный) стержень В ввинчен в прочное U-образное магнитное ярмо А таким образом, что сжимающие стержень осевые усилия очень близки к критической величине, при которой имеет место эйлеровская потеря устойчивости - выгиб стержня в ту или другую сторону. На ярмо надеты обмотки D, по которым проходит электрический ток, модулированный звуковым сигналом. Таким образом, чем сильнее звук, тем сильнее намагничивается и, следовательно, сжимается железный стержень В. Поскольку стержень поставлен на самую грань неустойчивости, эти малые вариации его длины приводят к сильным колебаниям в вертикальном направлении; при этом прикрепленный к середине стержня диффузор генерирует звук.
Во втором варианте (рис. б) используется неустойчивость системы сжатая пружина Н - шток G, упирающийся острием в лунку S. Модулированный звуковым сигналом ток проходит по обмотке D. Переменная во времени намагниченность железного стержня приводит к небольшим колебаниям его длины, которые усиливаются за счет энергии теряющей устойчивость мощной пружины.
В третьем варианте магнитострикционного громкоговорителя (рис. в) применена схема с двумя железными стержнями B1 и B2, обмотки D которых подключены таким образом, что, когда намагниченность одного стержня увеличивается, намагниченность другого уменьшается. Тягами C1 и С2 стержни соединены с коромыслом G, подвешенным на штанге М и прикрепленным растяжками F к боковинам магнитного ярма А. Коромысло жестко связано с диффузором W. Завинчивая гайку Р на штанге М, систему переводят в состояние неустойчивого равновесия. Благодаря противофазному намагничиванию стержней B1 и B2 током звуковой частоты их деформации также совершаются в противофазе - один сжимается, другой удлиняется (сжатие ослабляется), и коромысло в соответствии со звуковым сигналом перекашивается, поворачиваясь относительно точки R. В этом случае также за счет использования "скрытой" неустойчивости происходит усиление амплитуды магнитострикционных колебаний.
X. Мельхер, знакомившийся с документами семьи Р. Гольдшмидта и беседовавший с его сыном, излагает историю появления этого изобретения следующим образом.
Р. Гольдшмидт (1876-1950) был хорошим знакомым Эйнштейна. Известный специалист в области электротехники, он на заре эры радио руководил работами по установке первой линии беспроволочной телеграфной связи между Европой и Америкой (1914 г.). Им в 1910 г. была сконструирована и построена первая в мире пригодная для целей радиотехники высокочастотная машина на 30 кгц мощностью 12 кВт. Машина для трансатлантических передач имела уже мощность 150 кВт. Гольдшмидт был также автором множества изобретений, направленных на усовершенствование звуковоспроизводящих устройств (главным образом для телефонных аппаратов), высокочастотных резонаторов и т.д.
Общими друзьями Эйнштейна и Гольдшмидта были супруги Ольга и Бруно Айзнер - известная певица и знаменитый в то время пианист. Ольга Айзнер плохо слышала - недостаток особенно досадный, если учесть ее профессию. Гольдшмидт как специалист по звуковоспроизводящей аппаратуре взялся ей помочь. Он решил сконструировать слуховой аппарат (работы по созданию таких аппаратов в то время только начинались). В этой деятельности принял участие и Эйнштейн.
Был ли в конечном счете сконструирован действующий слуховой аппарат, неизвестно. Как видно из патентного описания, изобретателей увлекла идея использования не находившего ранее применения эффекта магнитострикции, и они разработали описанные нами базирующиеся на этом эффекте громкоговорители. Насколько нам известно, это был первый звуковоспроизводящий магнитострикционный прибор. Хотя магнитострикционные слуховые аппараты распространения не получили и их нынешние собратья работают на иных принципах, магнитострикция с большим успехом используется в ультразвуковых излучателях, находящих применение во многих отраслях промышленности и техники.
Для фрау Ольги, как сообщает Мельхер, планировали создать магнитострикционный слуховой аппарат, использующий явление так называемой костной проводимости, т.е. возбуждающий звуковые колебания не воздушного столба в ухе, а непосредственно черепных костей, для чего требовалась большая мощность. Представляется, что устройство Эйнштейна-Гольдшмидта вполне отвечало этому требованию. Возможно, совместная с Гольдшмидтом деятельность не так уж и случайна и, занимаясь ею, Эйнштейн руководствовался не только желанием облегчить судьбу фрау Айзнер. Думается, что его не могла не заинтересовать и сама техническая задача - ведь мы знаем, что он имел определенный опыт в конструировании звуковоспроизводящих устройств.
Автоматическая фотокамера
Беседуя в начале 30-х годов с Рабиндранатом Тагором, Эйнштейн припомнил свои "счастливые бернские годы" и рассказал, что, работая в патентном бюро, придумал несколько технических устройств, в том числе чувствительный электрометр (о нем уже шла речь выше) и прибор, определяющий время экспозиции при фотосъемке. Теперь такое устройство называется фотоэкспонометром.
Почти нет сомнения, что принцип действия эйнштейновского фотоэкспонометра был основан на фотоэлектрическом эффекте. И как знать, может быть, это изобретение было побочным продуктом размышлений, завершившихся знаменитой статьей 1905 г. "Об одной эвристической точке зрения...", в которой было введено представление о световых квантах и с их помощью объяснены закономерности фотоэлектрического эффекта.
Любопытно, что интерес к устройствам подобного рода сохранился у Эйнштейна надолго, хотя, насколько известно, фотолюбителем он никогда не был. Так, его авторитетный биограф Ф. Франк сообщает, что где-то во второй половине 40-х годов Эйнштейн и один из его ближайших друзей, доктор медицины Г. Букки, "изобрели механизм для автоматической регулировки времени экспозиции в зависимости от освещенности" [4, с. 241.
Рис. Схема фотокамеры Букки-Эйнштейна
а, в - камера; б - сегмент переменной прозрачности
Кроме того, оказывается, что 27 октября 1936 г. Букки и Эйнштейн получили американский патент №2058562 на фотокамеру, автоматически подстраивающуюся под уровень освещенности. Устроена эта автоматическая камера довольно просто (рис. а). В ее передней стенке 1, помимо объектива 2, имеется еще окно 3, через которое свет попадает на фотоэлемент 4. Электрический ток, вырабатываемый фотоэлементом, поворачивает находящийся между линзами объектива легкий (например, целлулоидный) кольцевой сегмент 5, зачерненный так, что прозрачность его плавно изменяется от максимальной на одном конце до минимальной на другом (рис. б). Как указывают в описании своего изобретения Букки и Эйнштейн, блок с фотоэлементом аналогичен известным конструкциям фотоэкспонометров, с тем отличием, что в данном случае поворачивается кольцевой сегмент 5, а не указывающая экспозицию стрелка. Поворот сегмента тем больше, а, следовательно, затемнение объектива тем сильнее, чем ярче освещен объект. Таким образом, будучи раз отъюстированным, устройство при любой освещенности само регулирует количество света, падающего на фотопленку или пластинку, находящуюся в фокальной плоскости объектива 2.
Но что делать, если фотографу захочется изменить диафрагму? Для этого изобретатели предлагают несколько усложненный вариант своей фотокамеры. В этом варианте на ее передней стенке 1 устанавливается поворотный диск 6 с набором отверстий 7-12 нескольких диаметров. При поворотах диска одно из таких отверстий приходится на объектив, а диаметрально противоположное - на окно фотоэлемента. Поворачивая диск за рычажок 13 на фиксированные углы, фотограф одновременно диафрагмирует и объектив и окно. Таким образом, для различных диафрагм достигается одинаковое пропускание света для объектива и для окна фотоэлемента.
Достоинства изобретения очевидны: 1) автоматически регулируется световой поток, достигающий фотопленки или фотопластинки; 2) поскольку используется фотоэлемент, отсутствует опасность, что по истечении некоторого, пусть длительного, времени регулировочное устройство перестанет работать, как было бы, если бы для его питания использовалась батарейка (впрочем, авторы не исключают возможности использования в качестве светочувствительного элемента селенового фоторезистора, присоединенного к внешнему источнику тока).
Мы не располагаем точными сведениями о дальнейшей судьбе магнитострикционного аппарата Эйнштейна- Гольдшмидта. Зато определенно известно, что экспонометр Букки-Эйнштейна одно время был весьма популярен и даже использовался кинооператорами в Голливуде.
Здесь стоит, наверное, сказать несколько слов о друге Эйнштейна докторе Букки (1880-1965). Он родился в Лейпциге, там же закончил медицинский факультет университета. Сначала в Германии, а потом в США он приобрел известность как крупный рентгенолог. Букки был членом многих национальных и международных обществ, написал ряд книг по медицине. Помимо рентгеновских лучей, Букки проявлял живой интерес к терапевтическому использованию новых достижений физики и техники (он один из пионеров УВЧ-прогрева).
Букки активно трудился и как изобретатель. Еще в 1912 г. им была предложена и сконструирована так называемая диафрагма Букки, повышающая контраст рентгеновских снимков. Это устройство получило распространение во всем мире. На счету Букки множество других изобретений, относящихся к рентгеновской технике, фотоаппаратам, электроизмерительным приборам и звуковоспроизводящим устройствам. Интересно, что многие патенты Букки получены им совместно с женой и сыновьями.
Имеются сведения о том, что Эйнштейн и Букки размышляли над конструкцией высотомера, а также изобретали нечто вроде магнитофона. К сожалению, более детальные сведения об этих работах отсутствуют.
Букки, как писал Эйнштейн Г. Мюзаму в 1942 г, был его самым лучшим другом в США. Они часто проводили вместе летний отпуск и плавали на эйнштейновской яхте, причем Букки приходилось довольствоваться не слишком престижной ролью матроса. Но он был матросом - хотя и единственным - на корабле капитана Эйнштейна!
В последние дни жизни Эйнштейна в апреле 1955 г. Букки ежедневно приходил в больницу, где лежал его друг. Он был у него и вечером за несколько часов до смерти великого физика. По воспоминаниям Букки, последнее, что он слышал от Эйнштейна, была грустная шутка. "Почему Вы уже уходите?" - спросил его Эйнштейн. Букки ответил, что не хочет его беспокоить, что он должен отдохнуть и поспать. На это Эйнштейн с улыбкой возразил: "Но ведь в таком случае Ваше присутствие мне не помешает".
Гирокомпасы и индукционная электромагнитная подвеска
Из переписки Эйнштейна с Бессо, Зоммерфельдом и Планком видно, что в течение 1920-1926 гг. Эйнштейн часто наезжал в Киль. Дел, связанных с теоретическими исследованиями, у творца теории относительности в Киле - этой столице германского судостроения, - казалось бы, не было. Чем же он там занимался?
Первое приближение к ответу на этот вопрос дает письмо Эйнштейна М. Бессо, отправленное в мае 1925 г.: "...веду тихую жизнь без внешних событий. Единственные перерывы - мои поездки в Киль, где понемногу освежаю свои технические навыки". В Ноймюлене, близ Киля, находилась фирма "Аншютц и Књ" - ведущее предприятие по разработке и производству морских гирокомпасов и других гироприборов. Имя ее основателя, владельца и руководителя Г. Аншютца (1872-1931) часто встречается в переписке Эйнштейна с Зоммерфельдом. Имеет смысл рассказать об этом интересном человеке, который на протяжении многих лет находился в тесных деловых и дружеских отношениях с Эйнштейном (тем более что речь о нем пойдет еще и в следующем разделе этой главы).
Характеристики
Тип файла документ
Документы такого типа открываются такими программами, как Microsoft Office Word на компьютерах Windows, Apple Pages на компьютерах Mac, Open Office - бесплатная альтернатива на различных платформах, в том числе Linux. Наиболее простым и современным решением будут Google документы, так как открываются онлайн без скачивания прямо в браузере на любой платформе. Существуют российские качественные аналоги, например от Яндекса.
Будьте внимательны на мобильных устройствах, так как там используются упрощённый функционал даже в официальном приложении от Microsoft, поэтому для просмотра скачивайте PDF-версию. А если нужно редактировать файл, то используйте оригинальный файл.
Файлы такого типа обычно разбиты на страницы, а текст может быть форматированным (жирный, курсив, выбор шрифта, таблицы и т.п.), а также в него можно добавлять изображения. Формат идеально подходит для рефератов, докладов и РПЗ курсовых проектов, которые необходимо распечатать. Кстати перед печатью также сохраняйте файл в PDF, так как принтер может начудить со шрифтами.















