148304 (692281), страница 3
Текст из файла (страница 3)
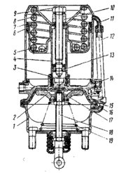
Одночасно стиснуте повітря через кільцевий зазор між поршнем 18 і направляючої 22 надходить у порожнину А під мембрану 21 і остання починає давити на поршень знизу. При досягненні на висновку II тиску, відношення якого до тиску на висновку I відповідає співвідношенню активних площ верхньої і нижньої сторін поршня 18, останній піднімається нагору до моменту посадки клапана 17 на впускне сідло поршня 18. Надходження стиснутого повітря з висновку I до висновку II припиняється. У такий спосіб здійснюється дія регулятора, що слідує. Активна площа верхньої сторони поршня, на котру впливає стиснуте повітря, підведений до висновку 7, залишається завжди постійної.
Активна площа нижньої сторони поршня, на яку через мембрану 21 впливає стиснуте повітря, що прийшло у вивід II, постійно міняється через зміну взаємного розташування похилих ребер 11 поршня, що рухається, 18 і нерухомої вставки 10. Взаємне положення поршня 18 і вставки 10 залежить від положення важеля 20 і зв'язаного з ним через п'яту 23 штовхача 19. У свою чергу положення важеля 20 залежить від прогину ресор, тобто від взаємного розташування балок мостів і рами автомобіля. Чим нижче опускається важіль 20, п'ята 23, а отже, і поршень 18, тим велика площа ребер 11 входить у контакт із мембраною 21, тобто більше стає активна площа поршня 18 знизу. Тому при крайньому нижньому положенні штовхача 19 (мінімальне осьове навантаження) різниця тисків стиснутого повітря у висновках I і II найбільша, а при крайньому верхнім положенні штовхача 19 (максимальне осьове навантаження) ці тиски вирівнюються. Таким чином, регулятор гальмівних сил автоматично підтримує у висновку II і в зв'язаних з ним гальмівних камерах тиск стиснутого повітря, що забезпечує потрібну гальмівну силу, пропорційний осьовому навантаженню, що діє під час гальмування.
При розгальмуванні тиск у висновку I падає. Поршень 18 під тиском стиснутого повітря, що діє на нього через мембрану 21 знизу, переміщається нагору і відривається клапан 17 від випускного сідла штовхача 19. Стиснуте повітря з висновку II виходить через отвір штовхача і виводу III в атмосферу, віджимаючи при цьому краю гумового клапана 4 [2].
Малюнок 10 – Автоматичний регулятор гальмівних сил
1 - труба; 2, 7 - кільця ущільнюючі; 3 - корпус нижній; 4 - клапан; 5 - вал; 6, 15 - кільця штопорні; 8 - пружина мембрани; 9 - шайба мембрани; 10 - вставка; 11 - ребра поршня; 12 - манжета; 13 - тарілка пружини клапана; 14 - корпус верхній; 16 - пружина; 17 - клапан; 18 - поршень; 19 - штовхач; 20 - важіль; 21 - мембрана; 22 - напрямна; 23 - п'ята кульова; 24 - поршень; 25 - ковпачок направляючий; I - від гальмівного крана; II - до гальмівних камер задніх коліс; III - в атмосферу
Елемент пружний регулятора гальмівних сил призначений для запобігання ушкодження регулятора, якщо переміщення мостів щодо рами більше припустимого ходу важеля регулятора.
Пружний елемент 5 регулятора гальмівних сил установлений (малюнок 11) на штанзі 6, розташованої між балками задніх мостів певним чином.
Точка з'єднання елемента зі штангою 4 регулятори знаходиться на осі симетрії мостів, що не переміщається у вертикальній площині при скручуванні мостів у процесі гальмування, а також при однобічному навантаженні на нерівній поверхні дороги і при перекосах мостів на криволінійних ділянках при повороті. При всіх цих умовах на важіль регулятора передаються тільки вертикальні переміщення від статичної і динамічної зміни осьового навантаження.
Пристрій пружного елемента регулятора гальмівних сил показано на малюнку 11. При вертикальних переміщеннях мостів у межах припустимого ходу важеля регулятора гальмівних сил кульовий палець 4 пружні елементи знаходиться в нейтральній крапці. При сильних поштовхах і вібрації, а також при переміщенні мостів за межі припустимого ходу важеля регулятора гальмівних сил стрижень 3, переборюючи силу пружини 2, повертається в корпусі 1. При цьому тяга 5, що з'єднує пружний елемент із регулятором гальмівних сил, повертається щодо відхиленого стрижня 3 навколо кульового пальця 4.
Після припинення дії сили, що відхиляє стрижень 3, палець 4 під дією пружини 2 повертається у вихідне нейтральне положення.
Малюнок 11 – Елемент пружний регулятора гальмівних сил
1 - корпус; 2 - пружина; 3 - стрижень; 4 - палець кульової; 5 -тяга регулятора
2.2.9 Клапан захисний чотириконтурний
Чотириконтурний захисний клапан (малюнок 12) призначений для поділу стиснутого повітря, що надходить від компресора, на два основних і один додатковий контури: для автоматичного відключення одного з контурів при порушенні його герметичності і збереження стиснутого повітря в герметичних контурах; для збереження стиснутого повітря у всіх контурах при порушенні герметичності живильної магістралі; для живлення додаткового контуру від двох основних контурів (доти, поки тиск у них не знизиться до заданого рівня).
Чотириконтурний захисний клапан прикріплений до лонжерона рами автомобіля [2].
Малюнок 12 – Клапан захисний чотириконтурний
1 - ковпачок захисний; 2 - тарілка пружини; 3, 8, 10 - пружини; 4 - напрямна пружини; 5 - мембрана; 6 - штовхач; 7, 9 - клапани; 11, 12 - гвинти; 13 - пробка транспортна; 14 - корпус; 15 – кришка
Стиснуте повітря, що надходить у чотириконтурний захисний клапан з живильної магістралі, при досягненні заданого тиску відкриття, установлюваного зусиллям пружин 3, відкриває клапани 7, впливаючи на мембрану 5, піднімає її, і надходить через висновки в два основних контури. Після відкриття зворотних клапанів стиснуте повітря надходить до клапанів 7, відкриває їх і через виводу проходить у додатковий контур.
При порушенні герметичності одного з основних контурів тиск у цьому контурі, а також на вході в клапан падає до заданої величини. Унаслідок цього клапан справного контуру і зворотній клапан додаткового контуру закриваються, запобігаючи зменшення тиску в цих контурах. Таким чином, у справних контурах буде підтримуватися тиск, що відповідає тискові відкриття клапана несправного контуру, зайва кількість стиснутого повітря при цьому буде виходити через несправний контур.
При відмовленні в роботі додаткового контуру тиск падає в двох основних контурах і на вході в клапан. Це відбувається доти, поки не закриється клапан 6 додаткового контуру. При подальшому надходженні стиснутого повітря в захисний клапан 6 в основних контурах буде підтримуватися тиск на рівні тиску відкриття клапана додаткового контуру [2].
2.2.10 Ресивери
Ресивери призначені для нагромадження стиснутого повітря, виробленого компресором, і для живлення їм приладів пневматичного гальмівного приводу, а також для живлення інших пневматичних вузлів і систем автомобіля [1, 2, 3].
На автомобілі Камаз установлено шість ресиверів місткістю по 20 л, причому чотири з них з'єднані між собою попарно, утворити два резервуари місткістю по 40 л. Ресивери закріплені хомутами на кронштейнах рами автомобіля. Три ресивери об'єднані в блок і встановлені на єдиному кронштейні.
Кран зливу конденсату (малюнок 13) призначений для примусового зливу конденсату з ресивера пневматичного гальмівного приводу, а також для випуску з нього стиснутого повітря при необхідності. Кран зливу конденсату ввернуть у різьбову бобишку на нижній частині корпуса ресивера. З'єднання між краном і бобишкою ресивера ущільнено прокладкою.
Малюнок 13 – Кран зливу конденсату
1 - шток; 2 - пружина; 3 - корпус; 4 - кільце опорне; 5 - шайба; 6 – клапан
2.2.11 Камера гальмівна
Камера гальмівна з пружинним енергоакумулятором типу 20/20 показана на малюнку 14. Вона призначена для приведення в дію гальмівних механізмів коліс заднього візка автомобіля при включенні робочої, запасний і стоянковій гальмівних систем [2].
Пружинні енергоакумуляторі разом з гальмівними камерами встановлені на кронштейни розтискних кулаків гальмівних механізмів заднього візка і закріплені двома гайками з гвинтами.
При гальмуванні робочою гальмівною системою стиснуте повітря від гальмівного крана подається в порожнину над мембраною 16. Мембрана 16, прогинаючи, впливає на диск 17, що через шайбу і контргайку переміщає шток 18 і повертає регулювальний важіль з розтискним кулаком гальмівного механізму. Таким чином, гальмування задніх коліс відбувається так само, як і гальмування передніх зі звичайною гальмівною камерою.
При включенні запасної або стоянковій гальмівної системи, тобто при випуску повітря ручним краном з порожнини під поршнем 5, пружина 8 розтискається і поршень 5 переміщається вниз. Підп'ятник 2 через мембрану 16 впливає на підп'ятник штока 18, що, переміщаючи, повертає зв'язаний з ним регулювальний важіль гальмівного механізму. Відбувається загальмування автомобіля.
При розгальмуванні стиснуте повітря надходить через виводу під поршень 5. Поршень разом зі штовхачем 4 і підп'ятником 2 переміщається нагору, стискаючи пружину 8 і дає можливість штокові 18 гальмівної камери під дією поворотної пружини 19 повернутися у вихідне положення.
Малюнок 14 – Камера гальмівна типу 20/20 із пружинним енергоакумулятором
1 - корпус; 2 - підп'ятник; 3 - кільце ущільнювальне; 4 - штовхач; 5 - поршень; 6 - ущільнення поршня; 7 - циліндр енергоакумулятора; 8 - пружина; 9 - гвинт механізму аварійного розгальмування; 10 - гайка штопорна; 11- патрубок циліндра; 12 - трубка дренажна; 13 - підшипник штопорний; 14 - фланець; 15 - патрубок гальмівної камери; 16 - мембрана; 17 - диск опорний; 18 - шток; 19 - пружина поворотна
При надмірно великому зазорі між колодками і барабаном гальмівного механізму, тобто при надмірно великому ході штока гальмівної камери, зусилля на штоку може виявитися недостатнім для ефективного гальмування. У цьому випадку варто включити ручний гальмівний кран зворотної дії і випустити повітря з-під поршня 5 пружинного енергоакумулятора. Підп'ятник 2 під дією силової пружини 8 продавить середину мембрани 16 і просуне шток 18 на наявний додатковий хід, забезпечивши загальмування автомобіля.
При порушенні герметичності і зниженні тиску в ресивері стоянковій гальмівної системи повітря з порожнини під поршнем 5 через виводу піде в атмосферу через ушкоджену частину приводу і відбудеться автоматичне загальмування автомобіля пружинними енергоакумуляторами.
2.2.12 Циліндри пневматичні
Циліндри пневматичні призначені для приведення в дію механізмів допоміжної гальмівної системи [2].
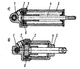
На автомобілях Камаз установлено три пневматичних циліндри:
– два циліндри діаметром 35 мм і ходом поршня 65 мм (малюнок 15, а) для керування дросельними заслінками, встановленими у випускних трубопроводах двигуна;
– один циліндр діаметром 30 мм і ходом поршня 25 мм (малюнок 15, б) для керування важелем регулятора паливного насоса високого тиску.
Пневматичний циліндр 035x65 шарнірно закріплений на кронштейні за допомогою пальця. Шток циліндра різьбовою вилкою з'єднується з важелем керування заслінкою. При включенні допоміжна гальмівної системи стиснуте повітря від пневматичного крана через виводу у кришці 1 (див. мал. 311, а) надходить у порожнину під поршнем 2. Поршень 2, переборюючи силу поворотних пружин 3, переміщається і впливає через шток 4 на важіль керування заслінкою, переводячи її з положення «ВІДКРИТО» у положення «ЗАКРИТЕ». При випуску стиснутого повітря поршень 2 зі штоком 4 під дією пружин 3 повертається у вихідне положення. При цьому заслінка повертається в положення «ВІДКРИТЕ».
Пневматичний циліндр 030x25 шарнірно встановлений на кришці регулятора паливного насоса високого тиску. Шток циліндра різьбовою вилкою з'єднаний з важелем регулятора. При включенні допоміжної гальмівної системи стиснуте повітря від пневматичного крана через виводу у кришці 1 циліндра надходить у порожнину під поршнем 2. Поршень 2, переборюючи силу поворотної пружини 3, переміщається і впливає через шток 4 на важіль регулятора паливного насоса, переводячи його в положення нульової подачі. Система тяг педалі керування подачею палива зв'язана зі штоком циліндра таким чином, що при включенні допоміжної гальмівної системи педаль не переміщається. При випуску стиснутого повітря поршень 2 зі штоком 4 під дією пружини 3 повертається у вихідне положення.
Малюнок 15 – Пневматичні циліндри приводу заслінки механізму допоміжної гальмівної системи (а) і приводу важеля зупинки двигуна (б)














