148304 (692281), страница 2
Текст из файла (страница 2)
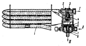
1 - вісь колодки; 2 -супорт; 3 - щиток; 4 - гайка осі; 5 - накладка осей колодок; 6 - чека осі колодки; 7 - колодка гальмівна; 8 - пружина; 9 - накладка фрикційна; 10-кронштейн розтискного кулака; 11 - вісь ролика; 12 - кулак розтискної; 13 - ролик; 14 - важіль регулювальний
Для фіксації осі черв'яка мається стопорний пристрій, кулька 10 якого входить у лунки на осі 11 черв'яка під дією пружини 9, що упирається в стопорний гвинт 8. Зубчасте колесо утримується від випадання кришками 1, прикріпленими до корпуса 6 важеля. При повороті осі (за квадратний кінець) черв'як повертає колесо 3, а разом з ним повертається розтискний кулак, розсовуючи колодки і зменшуючи зазор між колодками і гальмівним барабаном. При гальмуванні регулювальний важіль повертається штоком гальмівної камери [1, 2].
Перед регулюванням зазору стопорний гвинт 8 необхідно послабити на один-два оборотів, після регулювання гвинт надійно затягти.
2.2.3 Механізм допоміжної гальмівної системи
Механізм допоміжної гальмівної системи представлений на малюнку 5.
У прийомних трубах глушителя встановлений корпус 1 і заслінка 3, закріплена на валу 4. На валу заслінки закріплений також поворотний важіль 2, з'єднаний зі штоком пневмоциліндра. Важіль 2 і зв'язана з ним заслінка 3 мають два положення. Внутрішня порожнина корпуса сферична.
Малюнок 4 – Важіль регулювальний
1 - кришка; 2 - заклепка; 3 - колесо зубцювате; 4 - заглушка; 5 - черв'як; 6 - корпус; 7 - втулка; 8 - гвинт стопорний; 9 - пружина фіксатора; 10 - кулька фіксатора; 11 - вісь черв'яка; 12 – маслюка
При вимиканні допоміжної гальмівної системи заслінка 3 встановлюється уздовж потоку газів, що відробили, а при включенні — перпендикулярно потокові, створюючи визначений протитиск у випускних колекторах. Одночасно припиняється подача палива. Двигун починає працювати в режимі компресора [1, 2].
Малюнок 4 – Механізм допоміжної гальмівної системи
1 - корпус; 2 - важіль поворотний; 3 - заслінка; 4 - вал
2.2.4 Компресор
Компресор (малюнок 5) поршневого типу, одноциліндровий, одноступінчатого стиску. Компресор закріплений на передньому торці картера маховика двигуна.
Поршень алюмінієвий, з пальцем, що плаває. Від осьового переміщення палець у бобишках поршня фіксується штопорними кільцями. Повітря з колектора двигуна надходить у циліндр компресора через пластинчастий впускний клапан.
Стиснутий поршнем повітря витісняється в пневмосистему через розташований у голівці циліндра пластинчастий нагнітальний клапан [1, 2].
Голівка прохолоджується рідиною, котра підводиться із системи охолодження двигуна. Мастило до поверхонь компресора, котрі труться подається з масляної магістралі двигуна: до заднього торця колінчатого вала компресора і по каналах колінчатого вала до шатуна. Поршнєвій палець і стінки циліндра змазуються розбризкуванням.
При досягненні в пневмосистемі тиску 800–2000 кПа регулятор тиску сполучає нагнітальну магістраль з навколишнім середовищем, припиняючи подачу повітря в пневмосистему.
Коли тиск повітря в пневмосистемі знизиться до 650–50кпа, регулятор перекриває вихід повітря в навколишнє середовище і компресор знову починає нагнітати повітря в пневмосистему.
Малюнок 5 – Компресор
1- шатун; 2 - палець поршня; 3 -маслоз’ємне кільце; 4 - компресійне кільце; 5 -корпус циліндра компресора; 6 - проставка циліндра; 7 - голівка циліндра; 8 - стягуючий гвинт; 9 - гайка; 10 -прокладки; 11 - поршень; 12, 13 - ущільнюючі кільця; 14 - підшипники ковзання; 15 - задня кришка картера; 16 - колінчатий вал; 17 - картер; 18 -зубчасте колесо приводу; 19 - гайка кріплення зубчастого колеса; I - уведення; II - виводу у пневмосистему
2.2.5 Вологовідділювач
Вологовідділювач призначений для виділення конденсату зі стиснутого повітря і його автоматичного видалення з живильної частини приводу. Пристрій влагоотделителя показаний на малюнку 6 [2].
Стиснуте повітря від компресора через підведення II подається в ребристу алюмінієву трубку-охолоджувач (радіатор) 1, де постійно прохолоджується потоком зустрічного повітря. Потім повітря проходить по відцентрових направляючих дисках направляючого апарата 4 через отвір пустотілого гвинта 3 у корпусі 2 до висновку I і далі в пневматичний гальмівний привод. Волога, що виділялася за рахунок термодинамічного ефекту, стікаючи через фільтр 5, накопичується в нижній кришці 7. При спрацьовуванні регулятора тиск у вологовідділювач падає, при цьому мембрана 6 переміщається нагору. Клапан 8 зливу конденсату відкривається, суміш води й мастила що зібралася через вивід III віддаляється в атмосферу.
Напрямок потоку стиснутого повітря показано стрілками на корпусі 2.
Малюнок 6 – Вологовідділювач
1 - радіатор з ребристими трубками; 2 - корпус; 3 - гвинт пустотілий; 4 - апарат направляючий; 5 - фільтр; 6 - мембрана; 7 - кришка; 8 - клапан зливу конденсату;
I - до регулятора тиску; II - від компресора; III - в атмосферу
2.2.6 Регулятор тиску
Регулятор тиску (малюнок 7) призначений [2]:
– для регулювання тиску стиснутого повітря в пневмосистемі;
– запобігання пневмосистемі від перевантаження надлишковим тиском;
– очищення стиснутого повітря від вологи й мастила;
– забезпечення накачування шин.
Стиснуте повітря від компресора через виводу IV регулятора, фільтр 2, канал 12 подається в кільцевий канал. Через зворотній клапан 11 стиснуте повітря надходить до висновку II і далі в ресивери пневмосистемі автомобіля. Одночасно по каналі 9 стиснуте повітря проходить під поршень 8, що навантажений пружиною, що врівноважує, 5. При цьому випускний клапан 4, що з'єднує порожнину над розвантажувальним поршнем 14 з атмосферою через виводу I, відкритий, а впускний клапан 13 під дією пружини закритий. Під дією пружини закритий також і розвантажувальний клапан 1. При такому стані регулятора система наповняється стисненим повітрям від компресора. При тиску в порожнині під поршнем 8, рівному 686,5... 735,5 кпа (7...7,5 кгс/ див2), поршень, переборовши зусилля пружини, що врівноважує, 5, піднімається нагору, клапан 4 закривається, впускний клапан 13 відкривається.
Під дією стиснутого повітря розвантажувальний поршень 14 переміщається вниз, розвантажувальний клапан 1 відкривається, і стиснуте повітря з компресора через виводу III виходить в атмосферу разом з конденсатом, що зібрався в порожнині. При цьому тиск у кільцевому каналі падає і зворотній клапан 11 закривається. Таким чином, компресор працює в розвантаженому режимі без протитиску.
Коли тиск у висновку II понизиться до 608... 637,5 кпа, поршень 8 під дією пружини 5 переміщається вниз, клапан 13 закривається, а випускний клапан 4 відкривається. При цьому розвантажувальний поршень 14 під дією пружини піднімається нагору, клапан 1 під дією пружини закривається, і компресор нагнітає стиснуте повітря в пневмосистему.
Розвантажувальний клапан 1 служить також запобіжним клапаном. Якщо регулятор не спрацьовує при тиску 686,5... 735,5 кпа (7...7,5 кгс/див2), то клапан 1 відкривається, переборовши опір своєї пружини і пружини поршня 14. Клапан 1 відкривається при тиску 980,7... 1274,9 кпа (10...13 кгс/див2). Тиск відкриття регулюють зміною кількості прокладок, установлених під пружиною клапана.
Для приєднання спеціальних пристроїв регулятор тиску має виводу, що з'єднаний з висновком IV через фільтр 2. Цей виводу закритий різьбовою пробкою 3. Крім того, передбачений клапан добору повітря для накачування шин, що закритий ковпачком 17. При нагвинчуванні штуцера шланга для накачування шин клапан втоплюється, відкриваючи доступ стисненому повітрю в шланг і перепиняючи прохід стиснутого повітря в гальмівну систему. Перед накачуванням шин тиск у ресиверах варто понизити до тиску, що відповідає тискові включення регулятора, тому що під час холостого ходу не можна зробити добір повітря.
Малюнок 7 – Регулятор тиску
1 - клапан розвантажувальний; 2 -фільтр; 3 - пробка каналу добору повітря; 4 - клапан випускної; 5 - пружина що врівноважує; 6 - гвинт регулювальний; 7 - чохол захисний; 8 - поршень що слідує; 9, 10, 12 - канали; 11 - клапан зворотній; 13 - клапан впускний; 14 - поршень розвантажувальний; 15 - сідло розвантажувального клапана; 16 - клапан для накачування шин; 17 -ковпачок;
I, III - висновки атмосферні; II - у пневмосистему; IV - від компресора;
С - порожнина під поршнем, що слідує; D - порожнина під розвантажувальним поршнем
2.2.7 Кран гальмівний
Двухсекційний гальмівний кран (малюнок 8) служить для керування виконавчими механізмами двоконтурного приводу робочої гальмівної системи автомобіля [2].
Малюнок 8 – Кран гальмівний із приводом від педалі
1 - педаль; 2 - регулювальний гвинт; 3 - захисний чохол; 4 - вісь ролика; 5 - ролик; 6 - штовхач; 7 - опорна плита; 8 -гайка; 9 - тарілка; 10,16, 19, 27 - ущільнюючі кільця; 11 - шпилька; 12 - пружина поршня, що слідує; 13, 24 -пружини клапанів; 14, 20 - тарілки пружин клапанів; 15 - малий поршень; 17 - клапан нижньої секції; 18 -штовхач малого поршня; 21 - атмосферний клапан; 22 -штопорне кільце; 23 - корпус атмосферного клапана; 25 -нижній корпус; 26 - пружина малого поршня; 28 -великий поршень; 29 - клапан верхньої секції; 30 - поршень, 31 - пружний елемент; 32 - верхній корпус;
А - отвір; У - порожнина над великим поршнем;
I, II - уведення від ресивера; III, IV - виводу до гальмівних камер відповідно задніх і передніх коліс
Керування краном здійснюється педаллю, безпосередньо зв'язаної з гальмівним краном.
Кран має дві незалежні секції, розташовані послідовно. Уведення I і II крана з'єднані з ресиверами двох роздільних контурів приводу робочої гальмівної системи. Від висновків III і IV стиснуте повітря надходить до гальмівних камер. При натисканні на гальмівну педаль силовий вплив передається через штовхач 6, тарілку 9 і пружний елемент 31 на поршень, що слідує, 30. Переміщаючи вниз, що слідує поршень 30 спочатку закриває випускний отвір клапана 29 верхньої секції гальмівного крана, а потім відривається клапан 29 від сідла у верхньому корпусі 32, відкриваючи прохід стисненому повітрю через уведення II і виводу III і далі до виконавчих механізмів одного з контурів. Тиск на висновку III підвищується доти, поки сила натискання на педаль 1 не зрівноважиться зусиллям, створюваним цим тиском на поршень 30. Так здійснюється дія, що слідує, у верхній секції гальмівного крана. Одночасно з підвищенням тиску на висновку III стиснуте повітря через отвір А попадає в порожнину В над великим поршнем 28 нижньої секції гальмівного крана. Переміщаючи вниз, великий поршень 28 закриває випускний отвір клапана 17 і відривається його від сідла в нижньому корпусі. Стиснуте повітря через уведення I надходить до висновку IV і далі у виконавчі механізми першого контуру робочої гальмівної системи.
Одночасно з підвищенням тиску на висновку IV зростає тиск під поршнями 15 і 28, у результаті чого врівноважується сила, що діє на поршень 28 зверху. Унаслідок цього на висновку IV також установлюється тиск, що відповідає зусиллю на важелі гальмівного крана. Так здійснюється дія, що слідує, у нижній секції гальмівного крана.
При відмовленні в роботі верхньої секції гальмівного крана нижня секція буде керуватися механічно через шпильку 11 і штовхач 18 малого поршня 15, цілком зберігаючи працездатність. При цьому дія, що слідує, здійснюється зрівноважуванням сили, прикладеної до педалі 1, тиском повітря на малий поршень 15. При відмовленні в роботі нижньої секції гальмівного крана верхня секція працює як звичайно.
2.2.8 Регулятор автоматичний гальмівних сил
Регулятор автоматичний гальмівних сил призначений для автоматичного регулювання тиску стиснутого повітря, підведеного при гальмуванні до гальмівних камер мостів заднього візка автомобілів Камаз у залежності від діючого осьового навантаження [2].
Автоматичний регулятор гальмівних сил установлений на кронштейні 1, закріпленому на поперечці рами автомобіля (малюнок 9). Регулятор кріпиться на кронштейні гайками.
Малюнок 9 – Установка регулятора гальмівних сил
1 - кронштейн регулятора; 2 - регулятор; 3- важіль; 4 - штанга пружного елемента; 5 - елемент пружний; 6 - штанга сполучна; 7 - компенсатор; 8 - міст проміжний; 9 - міст задній
Важіль 3 регулятора за допомогою вертикальної штанги 4 з'єднаний через пружний елемент 5 і штангу 6 з балками мостів 8 і 9 заднього візка. Регулятор з'єднаний з мостами таким чином, що перекоси мостів під час гальмування на нерівних дорогах і скручування мостів унаслідок дії гальмівного моменту не відбивають на правильному регулюванні гальмівних сил. Регулятор встановлений у вертикальному положенні. Довжина плеча важеля 3 і положення його при розвантаженій осі підбираються по спеціальній номограмі в залежності від ходу підвіски при навантаженні осі і співвідношення осьового навантаження в навантаженому і порожньому стані.
Пристрій автоматичного регулятора гальмівних сил показане на рисунку 10. При гальмуванні стиснуте повітря від гальмівного крана підводиться до висновку I регулятора і впливає на верхню частину поршня 18, змушуючи його переміщатися вниз. Одночасно стиснуте повітря по трубці 1 надходить під поршень 24, що переміщається нагору і притискається до штовхача 19 і кульовій п'яті 23, що знаходиться разом з важелем 20 регулятора в положенні, що залежить від величини навантаження на вісь візка. При переміщенні поршня 18 униз клапан 17 прижимається до випускного сідла штовхача 19. При подальшому переміщенні поршня 18 клапан 17 відривається від сідла в поршні і стиснуте повітря з висновку I надходить у виводу II і далі до гальмівних камер мостів заднього візка автомобіля.















