148051 (692178), страница 2
Текст из файла (страница 2)
Ряс. 14
-
Установить на передний хвостовик коленвала зубчатый шкив со шпонкой, совместив метки на шкиве и корпусе маслонасоса (рис. 14).
Рис. 15
-
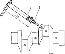
Установить клиновой шкив коленвала, совместив метки Е иF (рис.15)
2.4 Регулировка частоты вращения коленвала двигателей ВАЗ с замером содержания "СО" в отработавших газах в режиме холостого хода
Контролю содержания СО в отработавших газах двигателя и, при необходимости, регулированию подвергаются 100 % автомобилей при техническом обслуживании по талонам сервисной книжки, а также после ремонта систем питания, зажигания, газораспределительного и кривошипно-шатунного механизмов. Контроль и, при необходимости, регулирование частоты вращения коленвала проводить на прогретом, исправном, укомплектованном двигателе с отрегулированными зазорами в механизме газораспределения с точной установкой угла опережения зажигания и полностью открытой воздушной заслонкой.
Внимание: Работы проводить на участке, оборудованном местным отсосом отработавших газов.
-
Регулирование частоты вращения коленвала и контроль содержания СО в отработавших газах проводятся в следующей последовательности:
-
Подготовить к работе и подключить газоанализатор типа "Элкон S-105" и тахометр типа "Элкон S-102" согласно инструкции по их эксплуатации или ТИ 3100.25100.13010.
-
Прогреть двигатель.
-
Проверить по тахометру минимальную частоту вращения коленвала. При частоте, отличной от 720-900 мин-1 винтом количества установить необходимую частоту (отвертка ГОСТ 17199-71, тахометр тина "Элкон S-102").
-
Провести замер содержания СО в отработавших газах двигателя согласно ТИ 3100.25100.13018, ТИ 3100.25100.13010, ТИ 3100.25100.13017.
-
Выключить зажигание.
-
Определить фактическое содержание СО с учетом поправочных коэффициентов табл.1:
- зафиксировать атмосферное давление (барометр-анероид ГОСТ 23696-79);
- зафиксировать температуру окружающей среды (термометр ГОСТ 2823-73);
- определить значение СО по формуле;
V,со факт. = V,со x К,
где V,со - показания прибора (газоанализатор типа "Элкон S-105" К - поправочный коэффициент.
-
При значениях выше предельно-допустимых отрегулировать содержание "СО" и обороты холостого хода (отвертка ГОСТ 17199-71, тахометр типа "Элкон S-102", газоанализатор типа "Элкон S-105", "Инфралит" и др)
- срезать головки ограничительных втулок поворотом винтов количества и качества смеси, для 2108 - разрушить ограничительную заглушку;
- вывернуть винты, снять остатки ограничительных втулок;
- завернуть до упора винты количества и качества смеси, а затем отвернуть каждый соответственно на 4,5-5 и 3,5-4 оборотов, для 2108 - завернуть до упора, а затем отвернуть на 3,5-4 оборота только винт качества;
- запустить двигатель;
- рычагом привода дроссельной заслонки первичной камеры увеличить частоту вращения коленвала двигателя до 1300-1500 мин-1 и поддерживать такой режим в течение 30с (секундомер ГОСТ 5072-79);
- винтом количества установить минимальную частоту вращения коленвала согласно таблице 2 по показаниям тахометра;
- вывести концентрацию СО винтом качества смеси при данном положении винта количества;
- винтом количества восстановить, при необходимости, минимальную частоту вращения коленвала;
- восстановить, при необходимости, винтом качества концентрацию СО.
-
Установить частоту вращения коленвала двигателя, равную 0,6 номинальной частоты 5600 мин-1, в пределах 3100-3400 мин-1 при холостом ходе, воздействуя на рычаг привода оси дроссельной заслонки первичной камеры (см. таблицу 2).
-
Провести замер содержания СО в отработавших газах двигателя согласно ТИ 3100.25100.13018, ТИ 3100.25100.13010 или ТИ 3100.25100.13017.
-
Включить зажигание.
-
Определить фактическое содержание СО в отработавших газах согласно п.1.6. Содержание СО в отработавших газах не должно превышать значений. При повышенном содержании СО автомобиль должен быть направлен на диагностику для определения неисправностей и их устранения.
-
По окончании регулировки установить ограничительные втулки. (бородок ГОСТ 7214-72, молоток ГОСТ 2310-77).
-
Записать результаты измерений в, талон 1-12 сервисной книжки в зависимости от пробега, при отсутствии сервисной книжки в талон (протокол) проверки содержания СО.
Внимание. Работы проводить в соответствии с требованиями системы стандартов безопасности труда ГОСТ 12.3.017-79, "Ремонт и техническое обслуживание автомобилей. Общие требования безопасности" ГОСТ 17.2.2.03-77 и инструкции по ТБ 37.101.7072-78.
3. Инструменты и оборудования
-
Оправки 67.7853-9580, 67.7853-9581 для запрессовки сальников коленчатого и распределительного валов: 1 — оправка; 2 — втулка
-
Приспособление А.94016, А.94016/10для обработки отверстий гнезд заглушек коленчатого вала: 1 — шпиндель А.94016; 2 — фреза А.94016/10
-
Ключ 67.7811-9508 для проворачивания коленчатого вала Головка для 67.7812-9531 проворачивания коленчатого вала двигателя
-
Приспособление для выпрессовки опорного (а) и упорного (б) блочных вкладышей: 1 — вал; 2 — приспособление
-
Ключи для разборки и сборки коренных подшипников
4. Правила техники безопасности
Этилированный бензин, тосол и незамерзающая жидкость токсичны, поэтому соблюдайте меры предосторожности при заправке автомобиля техническими жидкостями.
Запрещается работать под автомобилем поднятым домкратом. Обязательно подставьте под кузов опоры.
Запрещается курить и пользоваться открытым пламенем при заправке и обслуживании автомобиля.
Техническое обслуживание, ремонт автомобилей выполнять на предназначенных для этих целей постах, оборудованных устройствами, необходимыми для выполнения установленных работ, и также - подъёмно-транспортными механизмами, приспособлениями, приборами.
При работах, связанных с провёртыванием коленчатого и карданного валов, необходимо проверить выключение зажигания, поставить рычаг переключения передач в нейтральное положение, освободить рычаг ручного тормоза. После выполнения необходимых работ затянуть ручной тормоз и включить низшую передачу
При обслуживании автомобиля на подъёмнике (гидравлическом, электромеханическом) на механизме или пульте управления подъёмником должна быть вывешена табличка с надписью: "Не трогать - работают люди".
При сборке (разборке) автомобиля транспортировать двигатель, коробку передач, задний мост и т.п. следует, при помощи подъёмно-транспортных средств, оборудованных приспособлениями (захватами), гарантирующими безопасность работы.
Гаечные ключи должны соответствовать размерам гаек и головок болтов и не иметь трещин и забоин. Запрещается применение прокладки между зевом ключа и гранями гаек, а также наращивать их трубами или рычагами, если это не предусмотрено конструкцией ключа.
Список использованной литературы
-
Автомобили ВАЗ. Способы устранения возможных неисправностей. Изд. 4, перер.и доп.ИТЦ «АвтоВАЗтехобслуживание», Тольятти, 2002г.
-
Каталоги устройств и механизмов легковых автомобилей отечественного производства (ВАЗ 2107,2108,2110).
-
Руководство по ремонту и эксплуатации легковых автомобилей отечественного производства (ВАЗ 2107,2108,2110).
-
Определение и устранение неисправностей своими силами в автомобиле, Москва 2006г.
| Тромб в маслоканале |
| Недосверловка маслоканала, нагары. |
| Ослабление болтов |
| Сколы, вытягивание резьбы, трещины. |
| И |
| Трещины, сколы, нагары, кольцевые риски. |
Рис. 1. Карта неисправностей коренных подшипников
Рис. 2. Технологическая схема сборки коренных подшипников
Рис. 3. Стенд (Ач.22204) - для разборки и сборки двигателя: 1 - стенд Ач.22204
2 - комплект кронштейнов для крепления двигателя на стенде
знос коренного подшипника














