148046 (692175), страница 3
Текст из файла (страница 3)
4. Ремонт та перевірка стартерів
4.1 Технічна характеристика стартерів
На автомобілях КамАЗ встановлююється стартер герметичного виконання типу СТ142Б.
Номінальна напруга стартера 24 В, напруга при гальмівному моменті 50 Н*м не більше 8В, напруга ввімкнення тягового реле 18 В, струм холостого ходу при напрузі 24 В не більше 13 А.
Струм при гальмівному моменті 500 Н*м не більше 800 А. Частота обертання холостого ходу 5500 – 6500 об/хв. Тиск щіткових пружин на щітки 17,5 – 20,5 Н. Висота щіток 19 – 20 мм.
Стартер, показаний на малюнку 9 складається з електродвигуна, механізму приводу та електомагнітного реле. Встановлюється ввін на картері маховика з лівої сторони двигуна.
Мал. 9. Стартер:
а – загальний вигляд; б – контроль зазора між шестернею та втулкою приводу при вимкненому стартері; в-те саме, при ввімкненому стартері; 1 – кришка зі сторони колектора; 2, 14, 17 – підшипники; 3 – траверса; 4 – перемичка; 5 – контактний болт; 6 – кришка реле; 7 – контактний диск; 8 – шток; 9 – реле з котушкою; 10 – кришка зі сторои приводу; 11 – вісь ричага; 12 – привід; 13 – шестерня приводу; 15 – втулка
4.2 Несправності стартерів та способи їх усунення
Стартери, що поступають в ремонт можуть мати слідуючи несправності: при ввімкненні стартер не працює; тягове реле не спрацьовує (нечутно характерного клацання); при ввімкненні стартера чути клацання тягового реле, що повторюється, та удари шестерен приводу об вінець маховика; чутно шум шестерен приводу; шестерня приводу систематично не входить в зачеплення з вінцем маховика при нормальній роботі реле; поламані зубці шестерен приводу.
Основні несправності стартера та способи їх усунення представлені в таблиці 4:
Можливі несправності стартерів, їх причини та способи їх усунення
Ознаки несправностей | Причини | Способи усунення несправностей |
| При ввімкнені стартер не вмикається При ввімкненні стартера не спрацьовує тягове реле При ввімкненні стартера чутно клацання, що повторюється, тягового реле і удари шестерні приводу об вінець маховика При ввімкненні стартера чутно шум шестерен приводу Шетерня приводу не входить в зачеплення з вінцем маховика при нормальній роботі реле Якір стартера обертається, але не провертає колінчастий вал | Коротке замикання або обрив втягуючої обмотки тягового реле Обрив або відсутність контакту в ланцюгу живлення Відсутність контакту між щітками та колектором Не спрацьовує реле РС530 Обрив або коротке замикання обмотки реле РС530 Обрив втягуючої обмотки тягового реле Несправний вимикач приладів і стартера Ненадійний контакт ланцюга тягового реле стартера, порушено регулювання стартера Несправна обмотка або контактне з’єднання реле РС530 Неправильне регулювання момента замикання контактів тягового реле Забиті торці зубців шестерні приводу стартера або вінця маховика Неправильне регулювання стартера Несправний привід Поламка зубців шестерен приводу або вінця маховика | Замінити тягове реле Знайти пошкоджене місце та відновити контакт Протерти колектор ганчіркою, змоченою у бензині, замінити щітки, замінити пружини щіток Замінити реле РС530 Перемотати обмотку реле Замінити тягове реле Замінити вимикач Усунути несправність в контактному з’єднанні Замінити реле РС530, перемотати обмотку Відрегулювати зазор між шестернею та упорною шайбою в момент ввімкнення стартера Зачистити заусенці на зубцях, замінити вінець маховика або шестерню приводу стартера або відновити наплавкою зубці Відрегулювати стартер Замінити тягове реле Замінити вінець маховика або шестерню приводу, відновити зубці шестерні пирводу або вінця маховика наплавкою |
Для перевірки стартера на стенді та його ремонту стартер знімається з автомобіля. Для зняття стартера з автомобіля необхідно відключити «масу»; підняти кабіну; від’єднати провода, що підходять до тягового реле стартера; від’єднати клемму «маса» від стартера; вивернути гайку та три болти кріплення стартера та зняти стартер.
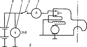
Після зняття стартер перевіряється на стенді. Схема перевірки генератора представлена на малюнку 10.
Мал. 10. Схема перевірки роботи стартера на стенді:
а – вимірювання крутного момента, розвиваємого стартером, б – перевірка величини споживаємого струму на холостому ходу та в режимі навантаження, 1 – динамометр,
2 – затискний пристрій шестерні стартера, 3 – опори кріплення корпуса стартера, 4 – шестерня, 5 – амперметр приладу, 6 – вмикач приладу, 7 – вольтметр, 8 – акумуляторна батарея
Перевірка стартера відбувається по слідуючим параметрам:
-
частота обертання на холостому ходу;
-
споживаємий струм на холостому ходу;
-
значення струму та напруги при навантаженні.
Отримані параметри в процесі перевірки повинні відповідати даним, вказаних в технічній характеристиці стартера.
4.3 Розбірка та ремонт стартера
Для ремонта стартер розбирається. В технологічний процес розборки стартера входять слідуючи операції:
-
відвертаються гайки на кришці реле і корпусі стартера;
-
знімаються перемички між вивідним болтом тягового реле та обмоткою збуджувача;
-
відвертаються гайки, що кріплять траверсу (на кришці реле зі сторони колектора);
-
відгинаються замкові шайби;
-
відвертаються болти та знімається кришка зі сторони колектора;
-
відвертаються гвинти, що кріплять виводи обмоток та щітки до траверси, знімаються щітки;
-
відвертається гвинт на регульовочному фланці та знімається вісь ричага;
-
відвертається гвинт зі сторони кришки приводу та знімається реле разом з якорем;
-
відгинаються замкові шайби та відвертаються болти;
-
знімається кришка зі сторони привода, разом зричагом та приводом;
-
знімається упорна шайба, зкорпусу виймається якір стартера.
Після розбірки несправні обмотки стартера перемотуються на стенді для перемотки обмоток, після чого просочуються лаком для забезпечення ізоляції. Погнуті вали правляться на пресі. Підшипники замінюються новими. Збірка стартера проводиться в зворотній послідовності. При збірці стартера замкові шайби при необхідності замінюються. Після збірки стартер перевіряється на герметичність, а потім встановлюється на стенд для перевірки. Для цього визначаються величина струму холостого ходу, величини струму та напругу при гальмівному моменті 50 Н*м, напруга ввімкнення реле та проводиться регулювання зачеплення шестерні стартера з вінцем маховика за допомогою тягового реле стартера.
Гальмівний момент для визначення напруги стартера визначається за допомогою пристосування при гальмуванні корпуса стартера.
5. Перевірка та регулювання системи освітлення
До системи освітлення відноситься зовнішнє та внутрішнє освітлення. До зовнішнього освітлення відносяться фари головного світла, протитуманні фари, передні та задні ліхтарі.
Регулювання світлового потоку фар здійснюється слідуючим чином. Автомобіль в спорядженному стані без вантажу з нормальним тиском повітря в шинах встановлюється на рівній поверхні з твердим покриттям. Розсіювачі та відбивачі фар повинні бути чистими.
Перпендикулярно до поверхні майданчика встановлюється плоский екран з матовою поверхнею шириною не менше 3 м.
Відхилення екрана від перпендикулярності дозволяється не більше 1˚.
Риски розмітки, нанесені на екран з допуском + 0,5 см, повинні бути добре видимі та відповідати даним, що вказані на малюнку 11.
Відстань від екрана до центрів зовнішньої поверхні розсіювачів фар повинно бути (10 + 0,5) м. Допускається зменшення відстані до (7,5 + 0,03) та (5 + 0,025) м.
Автомобіль після ремонту видається тільки після перевірки та регулювання всіх систем електрообладнання автомобіля.
Мал. 11. Схема установки автомобіля для регулювання світла фар: 1 – лінія вісі автомобіля; 2-напрямок світла фар; 3 – екран, встановлений перпендикулярно площадці;
4 – вертикальна лінія центру лівої фари; 5 – вертикальна лінія центру правої фари; ВВ – лінія площадки, на якій встановлено автомобіль; АА–лінія центрів правої и лівої фар; ББ – лінія зміщення світлового пятна на відстань АБ (300 мм) от лінії центрів фар; Ц* – відстань між центрами правої и лівої фар
Список використаної літератури:
-
Тітунін Б.А., Старостін М.Г., Мушніченко В.М. Ремонт автомобілей КамАЗ. – Л.: ВО» Агропромиздат», 1987.
-
Технологічні карти на ремонт генераторів.
-
Технологічні карти на ремонт реле – регуляторів.















