148046 (692175), страница 2
Текст из файла (страница 2)
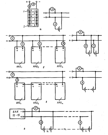
Способи з’єднання акумуляторних батарей при зарядці джерела показані на мал. 6.
Мал.6. Способ з’єднання акумуляторных батарей при їх зарядці: а – зарядка однієї акумуляторної батареї: 1,2 – клемми; б–з’єднання акумуляторних батарей при постійній напрузі; а – з’єднаня акумуляторних батарей при постійному зарядному струмі; г – з’єднання акумуляторних батарей при зарядці групами; А – амперметр; V – вольтметр; АКБ,…, АКБ п • – акумуляторі батареї; ВАК-12–15 – зарядний агрегат; п – кількість акумуляторных батарей в групі; т – кількість груп
При постійній напрузі U=const сила зарядного струму дорівнює: I=I1 + I2 +…In, де n – кількість акумуляторних батарей; I1, I2,…, In – сила зарядного струму 1, 2, …, n-й акумуляторної батареї.
При постійній силі зарядного струму напруга джерела струму повинна бути: Uз = U1 + U2 + … + Un.
При зарядці акумуляторних батарей групами визначаються:
-
кількість АКБ в зарядній групі m: m = Uагр/Uз, де Uагр – напруга зарядного агрегата, В, Uз – напруга зарядки однієї акумуляторної батареї, В (14,4В);
-
кількість зарядних груп nгр: nгр = Iагр/Iак. б, де Iагр – максимальна сила струму, віддаваєма генератором, А; Iак. б – сила зарядного струму акумуляторної батареї, А (1,75А);
-
кількість одночасно заряджаємих акумуляторних батарей N: N = mn.
Акумуляторні батареї заряджаються від джерела постійного струму. Позитивний вивід акумуляторної батареї під’єднується до додатнього полюсу джерела струму, а негативний – до негативного. Зарядний струм встановлюється і підтримується на одному рівні реостатом. Величина зарядного струму складає 1/10 емності акумуляторної батареї. При емності акумуляторної батареї 170 А*год величина зарядного струму встановлюеться 17 А. Проходження електричного струму в зарядному ланцюгу контролюється амперметром.
Під час заряду щільнсть електроліту в акумуляторах поступово підвищується і тільки до кінця зарядки приймає постійне значення. Зарядка акумуляторної батареї продовжується до тих пір, доки щільність електроліту та напруга на виводах кожного акумулятору не буде постійною на протязі 2 – 3 годин при одночасному виділенні газу зі всіх акумуляторів.
Температура електроліту під час заряджання зростає, тому її необхідно контролювати. Якщо температура електроліту перевищує 45˚С, то величина зарядного струму зменшується наполовину або зарядка взагалі припиняється до охолодження електроліту до температури нижче 30 ˚С.
Щільність електроліту та напруга на акумуляторах вимірюється на початку зарядки через 2 – 3 години, а в кінці зарядки – через кожну годину.
Якщо щільність електроліту в кінці зарядки відрізняється від норми, то при підвищеній щільності в банки акумуляторів заливається дистильована вода, а при пониженій – розчин сірчаної кислоти, який повинен мати щільність 1,40 г. /см. У відремонтованої акумуляторної батареї напруга кожного акумулятора, виміряна навантажувальною вилкою Е – 107 із увімкненим опором на протязі 5 сек., повинно бути не менше 1,78 В.
Ремонтне підприємство гарантує строк роботи АКБ після ремонту для акумуляторів із сепараторами з міпласту або міпору 12 місяців при напрацюванні автомобіля не більше 25 тис. км., а для АКБ із подвійними сепараторами (із скловойлоку) – 16 місяців при напрацюванні автомобіля до 40 тис. км.
3. Ремонт та перевірка генераторів
3.1 Технічна характеристика генераторів
На автомобілях КамАЗ встановлений трьохфазний синхронний генератор змінного струму Г272 з незалежним електромагнітним збудженням та вмонтованим в кришку зі сторони контактних кілець кремнієвим випрямлячем. З 1980 року на автомобілях КамАЗ всіх моделей встановлюється генераторна установка Г273А.
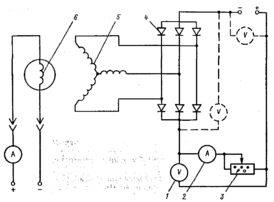
Мал.7. Генераторна установка Г273А:
1 – шків генератора; 2 – вентилятор; 3 – передня кришка корпуса генератора; 4 – статор генератора; 5 – ротор; 6 – вал ротора; 7 – випрямляючий блок; 8 – задня кришка корпуса; 9 – контактні кольця якоря; 10 – кришка випрямляючого блока; 11 – підживлюючий опір; 12 – регулятор напруги Я-120М
Вона складається з трохфазного синхронного генератора з прямоточною вентиляцією, вмонтованого в генератор випрямляючого блоку та інтегрального регулятора напруги. Генератор двома лапами кріпиться до кронштейна у верхній передній частині двигуна, а третьою лапою – до натяжної планки та приводится до обертання двома клиновидними ременями.
Генератор типу Г273А з правим напрямком обертання зі сторони приводу має номінальну напругу 28 В та максимльну силу струму 28 А. Частота обертання ротора при струмі навантаження 10 А не більше 1550 об/хв, а при навантаженні 20 А – 2100 об/хв. Сила струму збудження не більше 3,4 А.
У випрямляючому блоці встановлені мідно-графітні щітки М1.
Регулятор напруги Я120АТ – виріб нерозбірний та ремонту не підлягає.
3.2 Несправності генераторів та способи їх усунення
При надходженні в ремонт генератор може мати різноманітні несправності. Можливі несправності генераторів покаізані в табл. 3.
Перед зняттям генератора з двигуна або перед його встановленням на двигун обов’язково відключається акумуляторна батарея, тому як позитивна клемма (+) генратора знаходиться під напругою.
Для зняття генератора послаблюється стяжний болт опори кронштейна генератора, відкручується гайка шпильки кріплення генератора до кронштейну, вивертається болт кріплення генератора до стяжної планки.
При ремонті генераторів несправні та пошкоджені деталі замінюються новими.
3.3 Розбірка та ремонт генераторів
В технологічний процес розборки генратора входять слідуючі операції:
-
вивертаються болти кріплення щіткотримача та знімається щіткотримач;
-
вивертаються гвинти кріплення кришки шарікопідшипника;
-
знімається кришка зі сторони контактних кілець разом зі статором;
-
від’єднуються фазні виводи обмотки статора від виводів випрямляючого блоку та відокремлюється статор;
-
відвертається гайка кріплення шківа для його зняття;
-
знімаються шків, вентилятор, сегментна шпонка та втулка;
-
за допомогою спеціального зйомника знімається кришка зі сторони приводу разом із шарикопідшипником та вентилятором; для цього використовуються різьбові отвори в кришці.
Деталі та вузли генератора після розборки діляться на дві групи: деталі без обмоток та з обмотками.
Деталі, які не мають обмоток, піддаються мийці розчином «Лабомід – 203 «.
Деталі, які мають обмотки, піддаються очищенню ветошшю, змоченою в бензині, продуваются стисненим повітрям та сушаться в сушильній шафі при температурі 90 … 100 ˚С на протязі 45 – 90 хв.
Табл.3
Зовнішні прояви несправностей | Ознаки | Спосіб усунення несправностей |
| Амперметр показує розрядний струм при номінальній частоті обертанні колінчастого вала Коливання струму навантаження Надмірно великий зарядний струм Підвищений шум при роботі генератора Перегрів підшипника | Послаблення натягу приводного ременя, забрудення контактних кілець | Відрегулювати натяг приводного ременя, протерти кільця салфеткою змоченою у бензині Перевірити висоту щіток (висота 10 мм), при необхідності замінити щіткотримачі або щітки Замінити випрямляючий блок Замінити статор в сборі Перевірити ланцюг на наявність обриву або короткого замикання та усунути несправність Замінити ротор Замінити регуляторПрочистити щіткотримачі, перевірити пружини та розмір щіток (розмір не менше 10 мм) Відрегулювати натяг ременів та кріплення генератора Усунути замикання Замінити регулятор Підтягнути гайку шківа Замінити підшипникПогнуте місце випрямитиВідрегулювати натяг ременя вентилятора |
Деталі та вузли генератора після розборки діляться на дві групи: деталі без обмоток та з обмотками.
Деталі, які не мають обмоток, піддаються мийці розчином «Лабомід – 203 «.
Деталі, які мають обмотки, піддаються очищенню ветошшю, змоченою в бензині, продуваются стисненим повітрям та сушаться в сушильній шафі при температурі 90 … 100 ˚С на протязі 45 – 90 хв.
Очищені вузли та деталі підлягають дефектуванню. Деталі, які мають механічні пошкодження, замінюються. Погнуті лопасті вентилятора правляться та рихтуються. Знос канавок шківа перевіряється встановленням в шків роликів діаметром 14 мм та контролем розмірів по виступах роликів. Розмір між виступами роликів повинен бути не менше 83,5 мм. Зношені посадочні отвори під підшипник в кришці зі сторони приводу розточуються і потім в них запресовують ремонтні кільця з внутрішнім діаметром, що дорівнює номінальному.
Справність обмотки збудження ротора перевіряється омметром або тестером. Значення опору повинно співпадати із вказаним в технічній характеристиці, якщо в обмотці немає короткозамкнених витків. Якщо в обмотці є обрив, то стрілка омметра не відхиляється.
Справність обмоток та надійність прилягання щіток в крнтактних кільцях перевіряється на стенді за схемою, мал. 8
При напрузі джерела живлення постійного струму 28 В, під’єднаного до вивідних кінців обмотки, величана споживаємого струму не повинна перевищувати значень, вказаних в технічній характеристиці генератора.
Мал. 8. Схема перевірки справності обмоток ротора надійност прилягання щіток до контактних кілець на стенді:
1,2 – контрольні прилади стенда; 3 – реостат; 4 – випрямляючий блок генераторної установки; 5 – обмотка ротора; 6 – обмотка статора
Замикання обмотки збудження на «масу» визначається контрольною лампою під напругою 220 – 250В. Якщо на протязі хвилини лампочка не засвітиться, то ізоляція обмотки справна.
Обмотка статора перевіріяється окремо після розбірки генратора з від’єднаними від випрямляючого блоку виводами обмотки. Обрив у фазній обмотці статора визначається почерговим з’єднанням по дві фази до омметра або тестера чи через контрольну лампу до джерела струму напругою 12 – 30В. При справній обмотці покази омметра повинні відповідати значенням, вказаним в технічній характеристиці.
У випадку обриву якої-небудь з обмоток при з’єднанні її з виводами двох інших стрілка омметра або тестера не відхиляється (контрольна лампа не світиться).
Міжвиткове замикання обмотки статора перевіряється дефектоскопом моделі ПДО-1.
3.4 Збірка та перевірка генераторів
Збірка генератора проводиться в послідовності, оберненій до розбирання.
Після ремонту генератор встановлюють на двигун, при цьому регулюється натяг ременя вентилятора.
Регулювання натягу ременя приводу генератору проводиться в слідуюючий послідовності:
-
середина гілки приводного ременя натискується із зусиллям 40 Н.
-
мірною лінійкою заміряється величина прогину; він повинен бути не більше 15 – 22 мм при зусиллі 40 Н;
-
затягуюються болти кріплення передної лапи генератора до кронштейну та болт кріплення генератора до натяжної планки.
При відхиленні величини прогину від вказаної, натяг ременя регулюється слідуючим чином: послаблюються болти кріплення передньої лапи до кронштейну, болти кріплення генератора до натяжної планки; натисканням руки або за допомогою ричагу відхилюється генератор в сторону натягання ременя до потрібної величини.
Справний генератор при роботі двигуна із середнью частотою обертання колінчастого валу повинен давати зарядний струм, сила якого зменшується по мірі відновлення зарядки АКБ. При справній та повністю зарядженій АКБ та відімкнених споживачах відсутність зарядного струму не свідчить о несправності генератора.















