147217 (691800), страница 3
Текст из файла (страница 3)
При правильном выборе тормоза весь исследуемый диапазон скоростных и нагрузочных режимов испытуемого двигателя должен располагаться в пределах рабочей области (0-1-2-3-4-0) характеристики тормоза (кривая 3). Если характеристика (кривая 2) испытуемого двигателя выходит за пределы линии 0-1-2, то двигатель нельзя испытывать при частоте вращения меньше 1500 об/мин. Если характеристика (кривая 2) испытуемого двигателя выходит за пределы линии 2-3, то тормозная установка непригодна для испытания данного двигателя. Следует учитывать, что электрические и индукторные тормоза допускают кратковременные перегрузки до 100%.
При выборе типа тормоза для испытания данного двигателя нужно обращать внимание на устойчивость работы системы двигатель-тормоз. Устойчивостью системы называется способность тормоза автоматически поддерживать заданный скоростной или нагрузочный режим двигателя. Устойчивость работы обеспечивается в том случае, если при случайном изменении частоты вращения коленчатого вала испытуемого двигателя автоматически возникают моменты, под действием которых система стремится вернуться к заданному режиму. Величина таких восстанавливающих моментов различна у разных тормозов: наибольшая у гидравлических тормозов, несколько меньшая у электрических и наименьшая у индукторных. Вследствие этого в индукторных тормозах обычно применяется автоматическое регулирование скоростного режима.
Соединение двигателя с тормозом. Двигатель, установленный на стенде, соединен с тормозом двухшарнирным карданным валом. Рекомендуется соединение осуществлять непосредственно и коробку передач применять лишь в необходимых случаях. При установке карданного вала должно быть произведено центрирование, т.е. обеспечена соосность валов двигателя и тормоза. Прочность карданного вала должна не только соответствовать максимальным крутящим моментам испытуемых двигателей, но и обеспечивать передачу резких изменений нагрузки, которые возникают при переходе с моторного режима на режим торможения или при неустойчивой работе двигателя. В связи с этим наряду с жесткими карданными шарнирами используют резинометаллические элементы или мягкие карданы с промежуточным резиновым элементом. При выборе размеров кардана следует проверить, не возникают ли резонансные колебания на скоростных режимах, при которых будут проводиться испытания.
По правилам техники безопасности все карданное соединение должно быть заключено в защитный кожух.
Питание двигателя топливом. Для того чтобы обеспечить питание испытываемого двигателя топливом, стенд оборудован системой питания и приборами, измеряющими расход топлива. На крупных испытательных станциях топливо к каждой тормозной установке поступает по специальным трубопроводам. В зависимости от количества сортов топлива, которое может потребоваться при испытаниях, к тормозным установкам подводится несколько трубопроводов. Топливные баки чаще размещают в том же помещении, что и тормозной стенд. Емкость баков 50–100 л и более. Желательно иметь несколько баков, что дает возможность применять разные сорта топлива и проводить детонационные испытания.
Для измерения расхода топлива применяют приборы для визуального наблюдения за мгновенным расходом топлива и для измерения расхода топлива после установки заданного режима. Для визуального наблюдения устанавливают поплавковые расходомеры (ротаметры). Если необходимо оценить работу двигателя на неустановившихся режимах, применяют специальные расходомеры, показания которых записываются на ленте осциллографа.
Для измерения расхода топлива на установившемся режиме используют метод измерения времени расхода определенных объемов или масс порций топлива. Объемный способ применяется при испытаниях карбюраторных двигателей. Топливо поступает к карбюратору или из топливного бака, или из предварительно заполненных емкостей, объем которых известен. При замере питание двигателя переключают на мерные объемы и определяют время расходования определенного объема топлива.
Подача топлива из мерного объема осуществляется вручную, а при использовании специальных приборов автоматически. На рис. 4 показаны схемы для автоматического измерения расхода топлива.
а – объемным; б – массовым; 1 – осветители; 2 – мерная емкость; 3 – фотодиоды; 4 – блок автоматики; 5-8 – электромагнитные вентили; 9 – расходный бак; 10 – датчик; 11 – весы
Рис. 4. Схемы автоматического измерения расхода топлива
Массовый способ определения расхода топлива применяется при испытании дизелей.
Питание двигателя воздухом. Питание воздухом осуществляется через воздушный фильтр испытуемого двигателя, а в том случае, если необходимо измерить расход воздуха, – через воздухомер или мерный насадок. Наибольшее распространение получили объемные расходомеры, аналогичные по устройству роторно-лопастным нагнетателям. Счетчик расходомера непрерывно показывает расход воздуха. Часовой расход воздуха определяют путем измерения расхода воздуха в единицу времени и соответствующего пересчета.
При установке воздухомера и трубопроводов, соединяющих его с карбюратором, изменяется сопротивление на входе во впускную систему, что часто приводит к возникновению во впускном тракте резонансных колебаний. Вследствие этого изменяется наполнение, а на некоторых режимах искажается характеристика двигателя (возникают «провалы»). Для того чтобы исключить эти нежелательные явления, воздухомер следует соединять с двигателем через промежуточную емкость с демпфирующей стенкой и при необходимости изменять регулировку карбюратора.
Отвод отработавших газов. Отработавшие и картерные газы содержат вредные для здоровья человека вещества и должны быть полностью отведены за пределы помещений испытательной станции. Газы отводятся или через общий для всей испытательной станции коллектор, или через индивидуальную для каждой установки систему. Согласно ГОСТ устройство для отвода отработавших газов не должно создавать противодавления у выходного отверстия выпускного трубопровода двигателя более 20 мм рт. ст. (3,6 кН/м2).
Общий коллектор обычно устанавливается на испытательных станциях с большим числом тормозных стендов. Они оборудуются вытяжными насосами, обеспечивающими допускаемое противодавление, глушителем и очистными устройствами.
По другим правилам двигатель должен испытываться с выпускной системой автомобиля, для которого предназначен испытуемый двигатель (международный стандарт R‑1585; DIN). В этих случаях в отводные трубопроводы отработавшие газы поступают из выпускной системы после глушителя автомобиля.
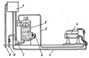
Охлаждение двигателя. Устройство для охлаждения двигателя, установленного на стенде, предназначено для поддержания постоянной температуры жидкости в системе охлаждения двигателя в пределах 80–90°С. Применяются две системы охлаждения двигателя: с замкнутой циркуляцией жидкости и разомкнутой циркуляцией жидкости (с добавлением холодной воды из водопроводной сети).
На рис. 5 показана схема системы охлаждения смешанного типа.
Рис. 5. Схема системы охлаждения
Вода из рубашки охлаждения испытуемого двигателя 4 поступает по трубопроводу 3 в градирню 2. Охлажденная в градирне вода подается центробежным насосом 7 в резервуар 1. Из него вода поступает в систему охлаждения двигателя по трубопроводу 5. Интенсивность охлаждения воды в градирне регулируется вентилятором 6. В этой системе вода совершает круговое движение и расходуется только на испарение в градирне. Добавляют воду из водопровода по трубе 8. Излишки воды сливаются в канализацию по трубопроводу 9.
Температуру воды регулируют вручную или автоматически и измеряют на выходе из системы охлаждения.
При испытаниях двигателей с воздушным охлаждением, как правило, используют систему охлаждения испытуемого двигателя, включающую вентилятор и направляющий кожух вокруг двигателя. Целесообразно устанавливать воздуходувку для обдува всей установки. Измеряется температура воздуха, выходящего из кожуха двигателя. При помощи термопар замеряют температуру стенок головки блока и блока цилиндров. Для этого необходимо сделать несквозные отверстия в тех стенках двигателя, за температурой которых ведется наблюдение.
Смазка двигателя. При испытаниях двигателя должна быть обеспечена температура масла 85-95°С. Для этой цели на стенде применяется воздушное или водяное охлаждение соответствующих элементов системы смазки двигателя (поддон картера, масляный радиатор). Во время работы двигателя на стенде наблюдают за температурой и давлением масла в системе смазки двигателя.
Пульт управления двигателем. Органы управления двигателем, тормозом и измерительные приборы размещены на центральном пульте. Органы управления обеспечивают возможность на расстоянии от двигателя плавно изменять положение дроссельной заслонки (рейки топливного насоса) и угла опережения зажигания и фиксировать их в выбранном положении, а также включать или выключать тормоз, изменять нагрузку, скоростной режим и т.п.
Современные установки для испытания двигателей снабжаются системами программирования – устройствами, автоматически изменяющими режим работы двигателя и тормоза по предварительно заданной программе.
Пульт управления размещен около двигателя или в специальной звукоизолированной кабине, из которой двигатель хорошо виден.
Измерительная аппаратура. Оснащение стенда измерительными приборами зависит от вида испытаний, которые предполагается проводить на данной установке. При проведении контрольных, приемочных и регулировочных испытаний измеряют следующие параметры:
крутящий момент, Н ∙ м или кгс ∙ м;
частоту вращения коленчатого вала, об/мин и суммарная за определенное время опыта;
расход топлива, кг/ч;
температуру, °С (окружающего воздуха; воды, выходящей из системы охлаждения; масла в картере; отработавших газов на выходе из выпускного трубопровода);
давление или разрежение, Н/м2 или кгс/см2 (окружающего воздуха; масла в магистрали; топлива после топливного насоса; горючей смеси во впускном трубопроводе);
угол опережения зажигания, градусы поворота коленчатого вала;
расход воздуха, кг/ч;
влажность окружающего воздуха (абсолютная, Н/м2, и относительная, %).
Для проведения таких испытаний, как детонационные, испытаний по определению токсичности, шума и вибрации, стенд оборудуют специальной измерительной аппаратурой.
Приборы должны обеспечивать точность измерения, установленную международным стандартом. В соответствии с установленными правилами о контроле измерительных приборов измерительную аппаратуру периодически проверяют и тарируют. Схема маятниковых весов показана на рис. 6.
Рис. 6. Схема маятниковых весов
Установившийся крутящий момент на валу двигателя измеряют с помощью весов (динамометров). Обычно применяются маятниковые (квадрантные) весы. Весы состоят из двух маятников 1, укрепленных на кулаках-квадрантах 2. Кулаки подвешены на тонких стальных лентах 4 к направляющим 5, укрепленным в корпусе весов. Усилие Р от тормоза через балансир 9 и две стальные ленты 8 передается кулачкам 7. Кулачки объединены с квадрантами 2.
Под действием усилия Р маятники начинают перемещаться, перекатываясь по направляющим 5 кулаками 2. При этом они совершают сложное движение, отклоняясь в стороны и поднимаясь на некоторую высоту. Балансир 9 смещается вниз. Движение балансира через рейку и шестерню 6 передается стрелке 3, которая перемещаясь по шкале 10, показывает величину усилия.
Мгновенные значения крутящего момента двигателя, работающего на переменных режимах, измеряют путем определения деформации кручения некоторого участка вала с помощью динамометрических муфт. Для измерения угла закручивания применяют индуктивные, фотоэлектрические датчики перемещений, тензодатчики и др. Для измерения частоты вращения коленчатого вала двигателя используют тахометры для визуального наблюдения за мгновенной частотой вращения и суммарные счетчики с секундомерами для определения среднего значения частоты вращения за соответствующий промежуток времени.
Угол опережения зажигания измеряют при помощи искрового устройства, которое может быть изготовлено в условиях обычной испытательной станции, или специальными электронными приборами, обеспечивающими большую точность измерения и возможность дистанционного наблюдения за углом опережения зажигания.
Температура рабочих тел и деталей двигателя изменяется в очень широких пределах, поэтому при испытаниях для измерения температур применяют различные приборы и аппаратуру. Температура воды, масла, топлива, окружающего воздуха, изменяется медленно (или остается постоянной). Требуемый диапазон измерения –40÷+120°G. Для измерения этих температур применяются ртутные и спиртовые термометры, дистанционные термометры манометрического типа, термосопротивления.
Температура газов в цилиндре двигателя изменяется с большой скоростью и достигает 2500°С. Мгновенные значения температур газа в процессе сгорания измеряются оптическими приборами. Среднюю температуру в камере сгорания отработавших газов определяют термопарами с гальванометрами.















