147194 (691791)
Текст из файла
ХЕРСОНСКИЙ МОРСКОЙ КОЛЛЕДЖ
Судоводительское отделение
КУРСОВОЕ ПРОЕКТИРОВАНИЕ ПО ПРЕДМЕТУ
«НАВИГАЦИЯ И ЛОЦИЯ»
ПО ТЕМЕ
«НАВИГАЦИОННЫЙ ПРОЕКТ ПЕРЕХОДА МАЛАГА – НЕАПОЛЬ Т/Х «ПАРХОМЕНКО»
Херсон – 2008г.
Введение
Основная задача курсового проектирования заключается в наиболее полном использовании приобретенных навыков штурманской работы, всестороннего изучения условий плавания, выбора безопасного и экономически выгодного пути, выполнение предварительной прокладки с расчётами, включающими оценки навигационной безопасности и себестоимости перехода, разработку фактического плана конкретного перехода на данном судне, в определенных сезонных условиях, на предварительно самостоятельно подобранном комплекте карт и руководств для плавания.
В процессе работы над курсовым проектом всесторонне прорабатываются и закрепляются теоретические знания и практические навыки штурманской работы, знание и владение принципами основ организации штурманской службы на флоте. Таким образом, курсовое проектирование является итоговой отчетной работой включающей в себя вопросы изученные в период обучения в училище, знание и чёткое понимание которых является непременной основой подготовки квалифицированного судоводителя, способного чётко, конкретно и точно проработать, отразить и обеспечить контроль всего спектра вопросов безопасности мореплавания.
Курсовой проект состоит из пояснительной записки, включающей в себя: аннотацию, описание, расчёты, перечни источников и графическую часть проекта. В процессе написания курсового проекта использовалась соответствующая нормативная документация, определяющая основные принципы и положения навигации и организации службы.
Значение транспорта в народном хозяйстве объективно определяют следующие требования, которым транспорт должен отвечать:
Первое – своевременное, качественное и полное удовлетворение потребностей хозяйства и населения в перевозках;
Второе – относительное снижение транспортных издержек на удовлетворение потребностей народного хозяйства и населения в перевозках;
Третье – обеспечение внешнеэкономических связей, участие транспорта в международном разделении общественного труда.
Существенными особенностями и преимуществами обладает морской транспорт. Организация смешанных перевозок морским транспортом позволяет сократить расстояния перемещения грузов и пассажиров отдельными экономическими районами. Морской транспорт, как правило, не связан непосредственно с пунктами отправления и назначения грузов. Скорость доставки грузов морским транспортом выше, чем железнодорожным, в 1,2 раза по сравнению с маршрутными отправками и в 1,5 раза – с повагонными. Основной задачей морского транспорта является сокращение времени доставки грузов и уменьшение расходов на перевозку.
Морской флот Украины, как и вся украинская экономика, в настоящий момент переживает кризис, однако он может и должен восстановить свои утраченные позиции на мировом фрахтовом рынке.
В условиях жесткой конкуренции между перевозчиками грузовладельцы и страховые компании отдадут предпочтение тем из них, которые могут обеспечить безопасность, сохранность и своевременность перевозки на должном уровне.
Современные суда оборудуются различными радионавигационными приборами, которые повышают безопасность в сложных в навигационном отношении условиях, однако даже на судах с высокой степенью технической оснащенности, часто судоводители работают в условиях острой нехватки времени.
В этих условиях остается актуальным вопрос предварительной навигационной подготовки судна к рейсу с целью повышения безопасности мореплавания.
1. Предварительная подготовка
1.1 Тактико-технические данные т/х «Пархоменко»
Навигационное оснащение судна Радиопеленгатор «Румб»
Общие сведения. Радиопеленгатор «Румб» — двухканальный визуальный радиопеленгатор с коммутацией каналов — предназначен для определения места судна по навигационным радиомаякам всех типов и для определения направлений на береговые радиостанции ненаправленного излучения, морские радиобуи и суда, ведущие радиопередачи.
Радиопеленгатор имеет следующие технические характеристики:
тип принимаемых сигналов — немодулированные колебания А1А; сигналы с амплитудной модуляцией тоном низкой частоты А2А; сигналы с амплитудной модуляцией звуковыми колебаниями АЗА;
диапазоны частот 250...545 кГц (1); 1600...3250 кГц (2);
относительная погрешность установки частоты настройки не хуже 0,2%;
чувствительность с рамочной антенной РА1, РА2 при длине фидера до 30 м в диапазоне 1 — не хуже 25 мкВ*м; в диапазоне 2 — не хуже 40 мкВ*м;
избирательность — по зеркальному каналу не менее 60 дБ; по каналам промежуточных частот не менее 80 дБ;
средняя квадратическая инструментальная погрешность радиопеленгования в дневное время при отношении сигнал/шум, равном 10, в диапазоне 1 — не более 1о; в диапазоне 2 — не более 3°;
мощность, потребляемая от сети переменного тока, не более 150 В*А.
Радиопеленгатор «Румб» выпускается в различных комплектациях в зависимости от рода судовой электросети, типа рамочных антенн, длины фидеров, типа гирокомпаса. В комплект радиопеленгатора (рис. 1.2.1) входят:
приемоиндикаторный блок 1, блок питания 2, блок рамочных антенн 3 и не указанные на рисунке ненаправленная антенна типа «наклонный луч» и антенный усилитель или антенная коробка, сигнальный щиток. Радиопеленгатор снабжен устройством цифровой индикации частоты настройки, имеет двустороннюю световую сигнализацию между помещениями радиорубки, в которой установлен сигнальный щиток, и штурманской рубки для извещения о необходимости изолировать судовые антенны и подтверждения о том, что антенны изолированы.
Рис Комплект радиопеленгатора
Индикаторный узел радиопеленгатора выполнен на ЭЛТ и обеспечивает отсчет радиокурсовых углов и радиопеленгов при точности не хуже 0,5°. Отсчет радиопеленгов производится при установке курса судна вручную или автоматически при наличии сельсинной связи с гирокомпасом.
Радиопеленгатор имеет встроенный отключаемый громкоговоритель, гнезда для подключения головных телефонов, устройства для компенсации коэффициентов А и D радиодевиации. Конструкция радиопеленгатора предусматривает возможность аварийного питания от аккумуляторов через электромашинный преобразователь ОП-120Ф.
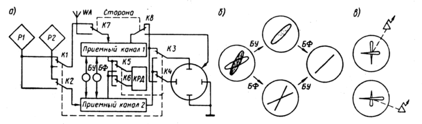
Устройство. Упрощенная функциональная схема радиопеленгатора «Румб» приведена на рис. 1.2.2,а. Радиопеленгатор снабжен входным (контакты К1, К2) и выходным (контакты K3, К4) коммутаторами, осуществляющими перекрестную коммутацию приемных каналов между рамочными антеннами и отклоняющими пластинами ЭЛТ.
В одном положении коммутирующих контактов сигнал от продольной рамки Р1 подается на вертикально отклоняющие пластины ЭЛТ через приемный канал 1, а сигнал от поперечной рамки поступает на горизонтально отклоняющие пластины через приемный канал 2. На экране ЭЛТ при неидентичных приемных каналах наблюдается эллипс. Во втором положении коммутирующих контактов сигнал от продольной рамки поступает на вертикально отклоняющие пластины ЭЛТ через приемный канал 2, а сигнал от поперечной рамки подается на горизонтально отклоняющие пластины через приемный канал 1. При этом на экране ЭЛТ создается эллипс, отличный от наблюдаемого в первом положении коммутирующих контактов. При коммутации с частотой 15...30 раз в секунду на экране ЭЛТ наблюдаются два эллипса, большие оси которых пересекаются под углом, характеризующим различие в усилении приемных каналов. Размеры малых осей эллипсов пропорциональны разности фазовых сдвигов в приемных каналах.
Балансировка приемных каналов производится регуляторами баланса усиления БУ и баланса фаз БФ в любой последовательности (рис. 1.2.2, б) до тех пор, пока на экране ЭЛТ не будет наблюдаться прямая линия, угол наклона которой к вертикали соответствует радиокурсовому углу на источник радиосигналов. Благодаря коммутации приемных каналов можно более быстро и точно сбалансировать каналы и контролировать их баланс во время пеленгования.
Для определения стороны расположения пеленгуемого источника радиосигналов нажимается кнопка «Сторона». При этом сигнал от ненаправленной антенны WA через приемный канал и контакты К7, К8 поступает на модулятор ЭЛТ. Через приемный канал и коммутирующие контакты К2 и КЗ, К4 сигналы от рамочных антенн поступают поочередно на свои отклоняющие пластины. На экране ЭЛТ изображается крестовидная фигура (рис 1.2.2, в), два конца которой подсвечиваются, а два другие затемняются в зависимости от фазовых соотношений сигналов рамочных антенн и ненаправленной антенны: Таким образом, яркими штрихами указывается квадрант, в котором расположена пеленгуемая радиостанция.
Для компенсации составляющей радиодевиации с коэффициентом D необходимо при коммутации каналов осуществлять изменение их усиления так, чтобы сохранялось постоянным отношение коэффициентов усиления сигналов от продольной и поперечной рамочной антенн
kпрод / kпопер = ( 1 – D ) / ( 1 + D )
Для этого в узле КРД имеются две установки усиления, которые с помощью контактов К5 и Кб подключаются к соответствующим приемным каналам при их коммутации.
Работа эхолота НЭЛ-МЗБ по функциональной электрической схеме
Навигационные эхолоты типа НЭЛ-М имеют несколько модификаций: НЭЛ-М 1, НЭЛ-М2, НЭЛ-МЗА, НЭЛ-МЗБ, НЭЛ-М4. Каждая модель предназначена для установки на судах определенного класса. Эхолот НЭЛ-МЗА устанавливается на судах класса река — море, эхолот НЭЛ-М4 — на речных судах. Модели эхолотов типа НЭЛ-М обладают высокой степенью унификации, имеют ряд общих приборов, выполненных на одинаковой элементной базе, и отличаются комплектацией и основными эксплуатационно-техническими характеристиками.
Навигационный эхолот НЭЛ-МЗБ предназначен для измерения глубин с помощью ультразвука, записи, цифровой индикации измеренных глубин и сигнализации при выходе судна на заданную глубину.
Рис. 1.2.3 Эхолот НЭЛ-МЗБ
Эхолот имеет следующие основные эксплуатационно-технические данные: диапазон измеряемых глубин 0,2-200 м; погрешности измерения глубин зависят от диапазона и составляют по самописцу от ±0,1 до ±3 м, по цифровому указателю глубин от ±0,1 до ±2 м, по прибору сигнализации глубин от +0,3 до ± 5 м; допустимая скорость судна 40 уз; допустимая килевая качка судна 2—3о, бортовая 10°; время готовности к работе 30 с; время непрерывной работы 60 ч; антенна пьезоэлектрического типа; расчетная скорость звука в воде 1500 м/с; питание эхолота от судовой сети однофазного тока напряжением 220/127 В, 50 Гц, от сети постоянного тока напряжением 220 В через преобразователь; потребляемая мощность от сети переменного тока 130 В*А, от сети постоянного тока 250 Вт.
В комплект эхолота (рис. 1.2.3) входят: антенна (прибор 1), самописец (прибор 4) 7, пульт управления цифрового указателя глубин ЦУГ (прибор 4Б) 3, прибор сигнализации глубин ПСГ (прибор 4Г) 6 с ревуном 4, цифровое табло (прибор 11) 1, приемопередающее устройство (прибор 16) 8, электронный узел ЦУГ (прибор 16А) 2, кабельная коробка (прибор Я), 5, ЗИП и техническая документация.
Рассмотрим принцип построения эхолота и его работы по функциональной электрической схеме (рис. 1.2.4). По характеру выполняемых задач электрическая схема эхолота НЭЛ-МЗА может быть условно разделена на следующие функциональные цепи: тракт формирования и посылки зондирующего импульса, тракт приема и усиления эхосигнала, тракт гашения и задержки нуля, тракт сигнализации заданной глубины, тракт управления работой двигателя, тракт преобразования времени и цифровой обработки измеренной глубины, схема контроля работы эхолота.
B тракт формирования и посылки зондирующего импульса входят: перо, контакты запуска КЗ и формирователь нулевой отметки ФНО прибора 4; генераторы автозапуска ГА приборов 4Б и 4Г схема ИЛИ и мультивибратор посылки МП блока посылок 1; генератор высокой частоты ГВЧ; коммутатор прием-передача КПП; прибор Я и антенна.
Рис. 1.2.4 Функциональная электрическая схема НЭЛ-МЗБ
При работающем самописце управление посылками осуществляется пером, контактом запуска КЗ и формирователем нулевой отметки, при отключенном самописце — генератором автозапуска прибора 4Б и при отключенных приборах 4 и 4Б — генератором автозапуска прибора 4Г. Импульс запуска в формирователе нулевой отметки задерживается на время, необходимое для прохождения пером расстояния от контакта запуска до нуля шкалы, и подается на схему ИЛИ блока посылок 1. На другие два входа схемы ИЛИ поступают импульсы запуска от генераторов автозапуска приборов 4Б и 4Г. С выхода схемы ИЛИ прямоугольные импульсы положительной полярности подаются на запуск мультивибратора посылки МП, мультивибратора гашения нуля МГН и мультивибратора временной автоматической регулировки усиления МВАРУ.
Мультивибратор посылки формирует прямоугольные импульсы посылки, длительность и частота следования которых зависят от поддиапазона измеряемых глубин и от включенного, для управления посылками прибора. Сформированные по длительности видеоимпульсы посылки подаются на модулятор МД генератора высокой частоты. На второй вход модулятора поступают высокочастотные гармонические колебания от автогенератора. После модулятора радио-импульсы усиливаются по напряжению и мощности и через коммутатор прием-передача подаются на антенну. В пьезоэлектрической антенне электрические колебания высокой частоты преобразуются в акустические колебания и излучаются в воду.
В тракт приема и усиления эхосигнала входят: антенна, прибор Я, коммутатор прием-передача, предварительный усилитель, усилитель записи УЗ, схемы ВАРУ.
Отраженный от дна акустический импульс принимается антенной и преобразуется в электрический сигнал. Электрический эхоимпульс во время пауз между зондирующими импульсами поступает через коммутатор прием-передача на вход предварительного усилителя. В предварительном усилителе эхосигнал усиливается двумя каскадами усиления КУ1 и КУ11, детектируется и подается в усилитель записи УЗ самописца, который обеспечивает усиления эхосигнала до значения, достаточного для прожига бумаги.
Защита приемоусилительного тракта от мощных зондирующих импульсов ГВЧ осуществляется коммутатором прием-передача. В КПП во время излучения импульсов шунтируется вход предварительного усилителя и на предварительный усилитель поступает ограниченный по интенсивности импульс. Этот радиоимпульс усиливается и поступает через детектор Д в усилитель записи самописца для записи «естественной» нулевой отметки.
Судовая радиолокационная станция «Наяда-5»
Характеристики
Тип файла документ
Документы такого типа открываются такими программами, как Microsoft Office Word на компьютерах Windows, Apple Pages на компьютерах Mac, Open Office - бесплатная альтернатива на различных платформах, в том числе Linux. Наиболее простым и современным решением будут Google документы, так как открываются онлайн без скачивания прямо в браузере на любой платформе. Существуют российские качественные аналоги, например от Яндекса.
Будьте внимательны на мобильных устройствах, так как там используются упрощённый функционал даже в официальном приложении от Microsoft, поэтому для просмотра скачивайте PDF-версию. А если нужно редактировать файл, то используйте оригинальный файл.
Файлы такого типа обычно разбиты на страницы, а текст может быть форматированным (жирный, курсив, выбор шрифта, таблицы и т.п.), а также в него можно добавлять изображения. Формат идеально подходит для рефератов, докладов и РПЗ курсовых проектов, которые необходимо распечатать. Кстати перед печатью также сохраняйте файл в PDF, так как принтер может начудить со шрифтами.













