147165 (691784), страница 2
Текст из файла (страница 2)
По назначению ППК делятся на грузовые, грузосортировочные и специали-зированные. На первых перегружают местные, на вторых местные и тран- зитные, на третьих сортируют транзитные контейнеры.
В зависимости от грузопотока контейнерные пункты подразделяются на четыре разряда:
1 разряд: суточной перегрузкой до 10 вагонов - грузовые ППК, до 15
вагонов грузосортировочные:
2 разряд: соответственно, от 10 до 30 и от 15 до 45 вагонов;
3 разряд: соответственно, от 30 до 50 и от 45 до 75 вагонов;
4 разряд: соответственно, 50 и более 75 вагонов.
На специализированных ППК контейнеры размещаются как в пролете козловых кранов,, так и под консолями.
Варианты размещения контейнеров представлены на рис.2.
Между соседними контейнерами по длине должен быть зазор не менее 0,1, а по ширине площадки 0,15 - 0,16 м. Через каждые 12,2 м устраивают поперечный проход шириной 1,0 м., а через каждые 100 м противопожарные разрывы, равные 4 м.
Наружные радиусы закруглений автопоездов - 16,0 м. Для безопасности проезда их прокладывают без пересечения с железнодорожными и подкрановыми путями.
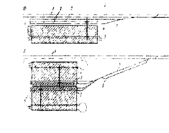
Рисунок 3. варианты размещения ППК: а – с одной площадкой, б – со сдвоенной площадкой. 1 – стационарные пути, 2 – погрузо- разгрузочные, 3 – подкрановые, 4 – ППК, 5 – автопоезд, 6 – выставочный путь, 7 – соединительный путь, 8 – контора.
Схема ППК должна обеспечивать подачу полувагонов с минимальным объемом маневровой работы. Перегрузочные пути контейнерных пунктов примыкают к грузовой или к сортировочной станциям. Железнодорожные пути располагают, как правило, на одну сторону ППК, в отдельных случаях (на сортировочных пунктах), допускается их установка по обе стороны, рис.3.
Покрытие ППК должно быть выполнено из асфальтно - или цементобетона с уклоном не менее 2% и не более 6%. Эти требования обеспечивают установку контейнеров практически горизонтально, уровень углов фитингов по вертикали не должен превышать ± 20мм. Это необходимо для надежной работы грузозахватных устройств (спредеров, автостропов). Поперечный уклон 2% обеспечивает отвод дождевых и талых вод в боковые дренажные канавы.
Типовые варианты грузовых и грузосортировочных ИНК с размещением контейнеров, обслуживаемых козловыми (консольными и бесконсольными), мостовыми, стреловыми кранами и автопогрузчиками представлены на рис 4.
Требования к устройству такого типа контейнерных пунктов аналогичны требованиям к специализированным ППК. Особенности заключаются в следующем. Минимальное расстояние от оси железнодорожного пути до габарита установки контейнеров составляет 2,45 м. Расстояние от оси подкранового рельса - 4,0м. Должны быть предусмотрены заезды для автомобилей через каждые 19,0 м, при работе с мостовыми кранами и 44 м - при работе с кранами на железнодорожном ходу. Ширина заездов и разрывов 4-5м.
Таким образом, при анализе вариантов механизации должны рассматриваться схемы работ с использованием консольных, бесконсольных козловых перегрузочных, железнодорожных, мостовых кранов в комплекте (или отдельно) с погрузчиками.
Рисунок 4. Варианты перегрузок контейнеров: а – с козловыми кранами; б – мостовыми; в, г – стреловыми кранами; д – автопогрузчиками.
3. Анализ вариантов механизации перегрузочных работ на контейнерных пунктах
На пунктах переработки контейнеров применяются, в основном, козловые краны. Работу ППК организуют на основе типового технологического процесса работы порта, грузового района или грузовой станции.
При сравнении вариантов механизации перегрузки универсальных контейнеров типа УУК из вагонов и автопоездов, а также при их сортировке, принимается, что один кран, соответствующей грузоподъемности обрабатывает в сутки 10 полувагонов. С учетом совмещения операций рабочего цикла и сдвоенных операций (чередование выгрузки из полувагонов и автопоездов с погрузкой), целесообразно также обрабатывать полувагоны (платформы) и автомобили параллельно. При этом также уменьшается холостой пробег кранов и повышается производительность прямой перегрузки.
Работу контейнерных пунктов организуют следующим образом. Контейнеры сортируют без промежуточного хранения на площадке (так называемая сортировка без остатка), с промежуточным небольшой части транзитных контейнеров.
После перестановки перегружаемые контейнеры отправляют на прямых или частично сборных платформах. Контейнеры под накопление по назначениям плана формирования не выгружают. Необходимости в контейнерной площадке при этом способе сортировке нет. Небольшая площадь требуется только для ремонта неисправных или контейнеров кратковременного хранения, снимаемых с неисправных платформ.
На контейнерных пунктах, сортирующих контейнеры без остатка должны быть только перегрузочные пути и грузоподъемные машины. На контейнерных пунктах, сортирующих контейнеры с остатком, все транзитные контейнеры подразделяют на "ядро"; (перегружаемые и выгружаемые). "Ядро" остается на тех же платформах, которые прибыли; выгружаемые снимают и устанавливают на площадке, а перегружаемые переставляют с одних платформ на другие. Из "ядра" контейнеров местной погрузки формируют прямые, а когда это невозможно, сборные платформы. Поданные под сортировку платформы делят на две группы: местные — назначением на грузовые станции узла и транзитные - назначением на другие станции. На платформы первой группы устанавливают контейнеры, прибывшие в узел под выгрузку, а на платформы второй группы — отправляемые на станции расположенные за пределами узла.
Типовой технологический процесс, рекомендует использовать для перегрузки среднетоннажных контейнеров козловые краны КК-5, КК-6, оборудованные автостропами, которые позволяют осуществлять автоматическую строповку и расстроповку контейнеров. Автостроп, рис. 5 состоит из рамы, двух кареток 2 и 3, механизмов, захват 1, привода 5, ходового винта 6 и фиксирующих, козырьков 7.
Рисунок 5. Автостроп для перегрузки среднетоннажных контейнеров а – общий вид, б – кинематическая схема; в – схема грузозахватного устройства.
Рама сварная из двух балок, по которой перемещается каретка. Ходовой винт, получая вращения через цепные передачи 8, разделенные муфтой предельного момента 9, сдвигает и раздвигает каретки 2 и 3. Механизмы захвата выполнены в виде гребенок, оборудованных четырьмя подпружиненными крюками 1 предназначенными для захвата рымных болтов контейнеров. Козырьки, ориентирующие автостроп относительно контейнера, связаны с выдвижной штангой и фиксируются двумя храповыми замками.
Перед установкой автостропа, каретки сдвигают до момента срабатывания муфты предельного момента. Автостроп опускается, козырьки, прижимаясь к боковым стенкам контейнера, ориентируют строи. Затем включается привод, раздвигает каретки, крюки скользят по крыше контейнера и, опускаясь под действием пружин в рымные ниши, захватываю болты. Для освобождения контейнера, каретки сдвигают, а крюки, освобождая рымные болты, выходят из ниш.
При поступлении на ПИК груженых вагонов вначале выгружают часть местных или некомплектующихся транзитных контейнеров данной подачи. Затем переставляют транзитные контейнеры из вагона в вагон. Затем выгружают оставшиеся местные и транзитные контейнеры, а загруженные до полных комплектов вагоны отправляют по назначению.
На специализированных ППК со среднесуточной погрузкой от 20 платформ и более рекомендуется использовать козловые краны КК 24/30.5 и КК-32, от 10 до 20 – краны КК-20, КК-32.
В соответствии с международным стандартом ISO контейнеры серии 1С изготавливают массой 20,0 т , т.е. их могут перегружать краны КК-24 или модернизированные КК-20 (с грузоподъёмностью на захвате 24т).
Перегрузка контейнеров серии 1А производится только в пределах пролета крана КК 25/30,5, А контейнеров серии 1В, 1С, 1Д и с выносом на консоли. Для этого один железнодорожный путь размещается под одной из консолей.
Типовой цикл работы крана КК-20, рис. 6 предусматривает как прямую перегрузку крупнотоннажных контейнеров, так и с установкой их на площадку. В соответствии с перегрузочным циклом, сменная производительность крана КК-20 при 8-часовом рабочем дне составляет 100 контейнероопераций, а при использовании автоматического захвата - 130 контейнере операций.
Предусмотрено использование козловых кранов КК-20 или КК-32 с пролетом 25м. Краны оборудуются автоматическими спредерами.
Технология переработки крупнотоннажных и среднетоннажных контейнеров аналогичны. Особенности заключаются в следующем. Выгрузка, погрузка и складская переработка крупнотоннажных контейнеров при отсутствии автоматических захватов (автостропов, спредеров) выполняются бригадой, включающей машиниста крана и одного или двух рабочих комплексной бригады.
Рабочие подготавливают места для установки контейнеров, убирают случайные предметы, снимают дополнительные крепления при выгрузке контейнеров из железнодорожных платформ.
При использовании спредера машинист крана после точной наводки на фитинги опускает его до плотной посадки и включает механизм поворота цапф с кулачками на 90, осуществляя захват контейнера. Получив сигнал о правильном выполнении операции захвата, машинист крана поднимает контейнер и переносит его к заданному месту установки, поднимая его на высоту не менее 0,5м выше встречающихся на пути предметов. Перед установкой контейнера на место машинист опускает его на расстояние 0,2...0,3 м от покрытия площадки или крыши контейнера, затем поворачивает его в нужное положение и опускает, Контейнер должен быть установлен так, чтобы он опирался на все угловые фитинги.
Площадки складирования контейнеров должны быть размечены контрастной краской для установки контейнеров. На площадке контейнеры могут устанавливаться в два яруса по высоте. При установке во второй ярус должны учитываться условия удобства обозрения контейнеров и исключения случаев их перестановки до того, как будет отправлен верхний.
Для перегрузки крупнотоннажных контейнеров со среднесуточным грузопотоком менее 10 платформ и транспортирования первых на расстояния 2 … 3 км обычно в пределах пopтa, крупного железнодорожного узла) используют1 автопогрузчики - контейнеровозы типа 7801. Их грузоподъемность 20 т, наибольшая скорость передвижения 25 км/час, скорость подъема груза 8 м /мин.
Для перегрузки среднетоннажных контейнеров можно также применять обычные погрузчики грузоподъемностью 3...10 т. (с продольным расположением грузоподъёмника), стреловые краны на пневматическом и железнодорожном ходу. Пневмоколесные краны базируются на шасси с применением типовых узлов автомобилей или имеют специальную конструкцию. Ходовая часть крана обеспечивает достаточную устойчивость при работе без выносных опор. Грузоподъемность достигает 20 т с выносными опорами до 35,0 т. (КС-5363), что позволяет перегружать и крупнотоннажные контейнеры.
Железнодорожные краны имеют колею 1524 мм и также могут быть оборудованы выносными опорами. Их целесообразно использовать при грузовых операциях, не только со среднетоннажными контейнерами, т.к. грузоподъемность на опорах достигает 20...30 т (ДЭК-20, СК-30). Для железнодорожных кранов требуется устройство путей, располагаемых параллельно основным. Зону действия кранов увеличивают, выполняя поворотную часть катучей и соблюдая вписывания без разборки в железнодорожный габарит. Скорости подъема уменьшаются с увеличением грузоподъемности и составляют 5...20 м/мин.
4.Расчет вместимости, площади и размеров контейнерных пунктов
Вместимость и размеры контейнерных пунктов зависят, в основном, от объема суточного контейнеропотока, установленных сроков хранения, коэффициента неравномерности грузопотоков и др. Они должны соответствовать типоразмерам контейнеров и средствам механизации. Вместимость должна быть лопаточной для установки контейнеров при "сгущении " перегрузки до 1,3... 1,5 суточного грузопотока, с учетом того, что в промежуточном хранении нуждается не более 80% контейнеров местного и 40% транзитного потоков. Прямая перегрузка должна составлять около 20% грузооборота. Расчетный срок хранения принят по прибытии 1,5суг, по отправлению 1сут. Для транзитных контейнеров срок хранения не устанавливается.
Вместимость ППК (контейнеро — мест) рассчитывается для каждого типа контейнеров.
где
- 1,3 - 2,0 - коэффициент сгущения подачи вагонов под погрузку (сортировку). При N<10 вагонов,
= 2,0, при N>10,
= 1,3; (с учетом неравномерности работы);















