146989 (691731), страница 4
Текст из файла (страница 4)
Рисунок 3 – Распределение давления по длине канала.
Рисунок 4 – Распределение температуры по длине канала.
Рисунок 5 – Распределение скорости потока по длине канала.
Рисунок 6 – Распределение удельного объёма по длине канала.
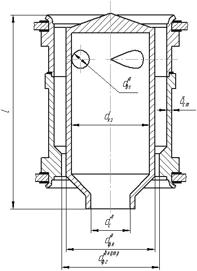
9. Ориентировочный расчет смесительной головки канала
В данном расчете располагаем двухкомпонентные центробежные форсунки по концентрическим окружностям, а для создания пристеночного слоя используем однокомпонентные центробежные форсунки горючего.
Рисунок 7 – Расположение форсунок.
Выберем диаметры форсунок ядра и пристеночного слоя:
и
Определим шаг между форсунками Н:
;
где Δ1 – шаг между форсунками ядра Δ1=1..5 мм.
Толщина пристеночного слоя головки lпр:
где: Δ2 – расстояние между форсункой пристеночного слоя и стенкой канала
Δ2=1..4 мм.
Найдём радиус ядра головки Rя:
.
Рассчитаем число концентрических окружностей n:
.
Определим число форсунок ядра
и пристеночного слоя
:
Выбираем число форсунок пристеночного слоя, возьмём число форсунок равное числу форсунок в крайнем ряду ядра смесительной головки:
Определяем расход через форсунку ядра:
Подставив значения получим:
В результате получим:
Определяем расход через форсунку пристеночного слоя:
Получим:
Рисунок 8 – Схема расположения форсунок на смесительной головке канала
10. Расчет форсунок смесительной головки
10.1 Расчет двухкомпонентной форсунки
10.1.1 Расчет форсунки окислителя
Задаем угол распыла 2α=900, по графику определяем:
А=1,8; μ=0,34; φ=0,55.
Определяем площадь сечения сопла форсунки:
где ρ0 – плотность фтора, ρ0=1513 кг/м3,
.
Подставив данные получим:
Определим dc:
Диаметр закрутки:
.
Диаметр входного отверстия в форсунку:
где i – число входных отверстий, i=4.
Определим скорость компонента на входе в форсунку:
Определим число Рейнольдса на входе:
где,
- кинематическая вязкость, получим:
Рассчитаем:
подставив данные получим:
Выразим λ, получим:
.
Определим Аэкв:
В результате получаем:
Определим расхождение коэффициентов А и Аэкв:
Полученное расхождение меньше 3%. Данную форсунку можно считать идеальной центробежной форсункой.
Определим диаметр камеры закрутки:
Примем
Определим диаметр вихря:
10.1.2 Расчет форсунки горючего
Воспользуемся уравнением расхода:
где:
,
– плотность продуктов сгорания при давлении на выходе из сопла форсунки
.
Найдём
:
Истечение газов – докритическое. Найдём скорость истечения по формуле:
Из уравнения расхода через струйную форсунку найдём потребную площадь истечения:
Расходное отверстие – кольцо со внутренним диаметром равным наружному диаметру форсунки окислителя
:
Найдём минимальный внешний диаметр двухкомпонентной форсунки ядра:
Возьмём
Продольные размеры форсунки выбираются конструктивно, в соответствии с размерами форсунки окислителя.
Рисунок 9 – Двухкомпонентная форсунка ядра головки.
10.2 Расчет форсунки пристеночного слоя
Воспользуемся уравнением расхода:
где:
,
– плотность продуктов сгорания при давлении на выходе из сопла форсунки
.
Найдём
:
Истечение газов – докритическое. Найдём скорость истечения по формуле:
Из уравнения расхода через струйную форсунку найдём потребную площадь истечения:
Найдём диаметр отверстия
Найдём внешний диаметр двухкомпонентной форсунки пристеночного слоя:
Продольные размеры форсунки выбираются в соответствии с размерами форсунок ядра.
Рисунок 10 – Однокомпонентная форсунка пристеночного слоя.
11. Расчёт охлаждения
При проектировании системы охлаждения ЖРД сначала определяют конструкцию охлаждающего тракта, способ охлаждения и основные размеры охлаждающего тракта, а затем расчётным путём проверяют, обеспечивается ли при этом охлаждение стенок двигателя. Проверочный расчёт охлаждения двигателя разбит на несколько этапов.
На первом этапе камера сгорания и сопло по длине разбивается на несколько участков и для каждого участка определяются его геометрические формы.
Далее ориентировочно задаются значения газовой стенки по длине канала и определяются значения конвективной составляющей по формулам (формулы приведены для цилиндрической нескоростной камеры):
где:
– действительные значения температуры и газовой постоянной в камере,
– газовая постоянная недиссоциированных продуктов сгорания топлива того же состава,
– коэффициент, равный 0,214,
– среднее значение
в диапазоне температур
,
– температура стенки камеры со стороны горячих газов,
– толщина стенки,
– диаметр критического сечения,
– температура торможения ядра потока,
– эффективная температура торможения в ядре потока (по В. М. Иевлеву),
– полная удельная энтальпия (кДж/кг),
– (расстояние от эффективного фронта пламени) принимается равным
,
– угол наклона участка,
– значение
в камере,
– коэффициент вязкости газа при эффективной температуре торможения потока,
– давление торможения в ядре потока.
На втором этапе определяются лучистые тепловые потоки. Так как продуктами сгорания являются только двухатомарные газы, то доля лучистых потоков будет не велика.
После этого можно определить суммарный тепловой поток к стенке канала:
На следующем этапе проверяется достаточность расхода охладителя для снятия поступающего к стенкам тепла. Для этого используется уравнение теплового баланса:
где:
– площадь поверхности стенки i-того участка,
– средняя теплоёмкость жидкости, определённая при температуре
.
Отсюда можно найти температуру жидкости на выходе из тракта. Так же, при помощи уравнения теплового баланса находятся температуры охладителя на каждом участке.
На четвёртом этапе находятся коэффициенты теплоотдачи от стенки к жидкости на каждом участке с учётом формы и типа охлаждающего тракта, по методике, изложенной в [3].
Далее определяется температура «жидкостной» стенки и «газовой» стенки по формулам:
После этого полученные значения «газовой» стенки сравниваются с предварительно заданными на первом этапе. Если расхождение составляет более 5%, то расчёт производят заново, приняв предварительные значения «газовой» стенки равными промежуточным значениям, более приближенным к значениям, полученным на четвёртом этапе предыдущего расчёта.
В данной работе расчёт был произведён с использованием программного пакета MathCad. По результатам расчёта температура охладителя на выходе составила 153,7º К, что свидетельствует о том, что применять выбранную схему охлаждения нельзя. Для двигателей, охлаждаемых при помощи жидкого водорода в [3] рекомендуется использовать схему с подкипанием компонента в охлаждающем тракте, но необходимо так же провести исследования эффективности других методов теплозащиты (создание жидкостной плёнки).
Заключение
В данном проекте были произведены конструкторские расчёты двигательной установки на криогенных компонентах H2+F2. В результате была спроектирована двигательная установка со следующими параметрами:
| Тяга на земле, кН | 100 |
| Тяга в пустоте, кН | 104 |
| Коэффициент избытка окислителя | 0,24 |
| Удельный импульс на Земле, м/с | 3950,56 |
| Удельный импульс в пустоте, м/с | 4135,2 |
| Масса топлива, кг | 25,313 |
В проекте было произведено профилирование канала камеры сгорания и получены следующие геометрические характеристики:
| Диаметр критического сечения, мм | 73,8 |
| Диаметр сопла, мм | 362,4 |
| Длина сопловой части, мм | 463 |
| Диаметр цилиндрической части камеры, мм | 160 |
Профилирование докритической части канала производилось по методу двух дуг, закритической – по методу параболы.
В данном курсовом проекте был произведен ориентировочный расчёт головки камеры, в результате которого была разработана схема расположения форсунок и спроектированы сами форсунки ядра и пристеночного слоя.
В проекте было произведено первичное конструирование стенок камеры и тракта охлаждения.
В дальнейшем, при проведении расчётов в рамках дипломного проекта предполагается более детальная проработка конструкции, более полное изучение проблемы охлаждения и методов её решения, проведение уточняющих расчётов, разработка систем автоматического регулирования.
Литература
-
Термодинамические и теплофизические свойства продуктов сгорания. Справочник / Под ред. В.П.Глушко. – М.: ВИНИТИ АН СССР, 1971–1973. – 513 с.
-
Основы теории и расчета жидкостных ракетных двигателей: Учебник/ Под ред. В.М.Кудрявцева. – М.:Высш. школа, 1983. – 703 с.
-
Добровольский М.В. Жидкостные ракетные двигатели. – М.: Машиностроение, 1975. – 396 с.
-
Березанская Е.А. и др. Газогенераторы ЖРД. – М.:МАИ, 1982. – 48 с.
-
Куликов В. Н. Накозин В. Н. Методические указания по профилированию сопла методом параболы. – Челябинск: ЮУрГУ, 1981. – 42с.
-
Зрелов Н. В., Серёгин Е. П. Жидкие ракетные топлива. – М.: «Химия», 1975. – 320с.















