146989 (691731), страница 3
Текст из файла (страница 3)
Коэффициент, учитывающий потери в закритической части канала на земле, φс0:
где, Δφс – коэффициент, учитывающий влияние земного противодавления:
2). Расчет реальных параметров двигателя
Удельный импульс в пустоте:
Удельный импульс на земле:
Расход топлива:
Расход горючего и окислителя:
Площадь критического сечения и среза канала:
Диаметр критического сечения и среза канала:
Тяга в пустоте:
Расходный комплекс и коэффициент тяги:
5. Определение габаритов топливных баков
Масса топлива, необходимого для обеспечения работы двигательной установки в течение времени полета определяется как:
,
где
– массовый расход топлива ДУ;
кг/с;
– коэффициент запаса топлива;
;
– время работы ДУ;
с;
Дополнительный запас топлива в баках, учитываемый коэффициентом
, необходим для гарантированного обеспечения работы ДУ в течение заданного времени
при любых допустимых отклонениях расходов компонентов.
Масса топлива, необходимая для обеспечения работы ДУ равна:
кг;
Масса горючего:
кг;
Масса окислителя:
кг;
Объем бака горючего:
м3;
Объем бака окислителя:
м3;
Коэффициент объема бака
учитывает объём газовой подушки, а так же наличие внутри бака конструкционных элементов
;
Для определения осевых габаритов баков ракеты в первом приближении, форма баков принимается цилиндрической.
м;
м;
где d – диаметр ступени ракеты, равный 1,5 м.
В действительности, форма баков отличается от цилиндрической. Это связано с кривизной днищ. Однако учет влияний этих факторов затруднен до проведения оценки габаритов всех элементов двигательной установки. Данные об осевых габаритах баков ракеты определяют высоту столба жидкого компонента, необходимую в дальнейшем для определения максимально допустимого числа оборотов ТНА из расчета насоса окислителя на кавитацию.
6. Определение основных параметров и габаритов насосов
6.1 Определение параметров насосов
Окислителем в двигательной установке является жидкий фтор. Для этого компонента целесообразно использовать радиальный шнеко-центробежный насос. Горючим является водород, для которого целесообразно использовать многоступенчатый центробежный насос.
Массовые расходы окислителя и горючего равны:
Из уравнения баланса мощностей известно:
Отсюда найдём реальные мощности насосов:
Потребные мощности насосов можно определить по формулам:
где
– КПД насосов окислителя и горючего, принимаемые приближённо равными 0,65, H – напор насосов:
где
– давления на выходе из насоса и на входе в насос.
Определим эти давления по следующим формулам:
Значения
берутся из расчёта баланса мощностей, значение
так же выбирается, но оно не должно быть меньше, чем
для компонента прокачиваемого через насос. Определим значения
для компонентов.
По [6] для
при температуре
:
Для
при
:
Выберем
, соответствующие этим значениям, задаваемым при балансе мощностей.
Определим напоры насосов:
Зная напоры насосов, можно определить потребные мощности:
Определим максимальную угловую скорость для насосов из кавитационного коэффициента быстроходности:
где
– срывной коэффициент быстроходности; для выбранного типа насоса он принимается равным 3000.
Исходя из конструктивных соображений, примем
, или
. С учётом того, что насосы расположены на одном валу, скорость насоса горючего будет равна
.
Определим коэффициент быстроходности насоса окислителя:
Данный насос является центробежным.
Примем количество ступеней насоса горючего равным 4. Ступени расположим последовательно. Тогда напор, создаваемый одной ступенью, будет равен:
Коэффициент быстроходности одной ступени будет равен:
Все ступени будут центробежными.
Определим крутящие моменты насосов окислителя и горючего:
Приняв
, определим диаметр вала:
Из конструктивных соображений примем
и диаметр втулки, равный
6.2 Определение параметров турбины
После определения параметров насосов: потребной мощности и угловой скорости вращения становится возможным определение параметров предкамерной турбины.
Мощность
, потребляемая насосами ТНА равна:
Мощность, снимаемая с турбины, равна мощности потребляемой насосами:
Мощность
, снимаемая с турбины, может быть выражена как:
где
– массовый расход газа через турбину;
– Удельная адиабатная работа газа;
– полный КПД турбины; для турбины, работающей по замкнутой схеме, в первом приближении величина выбирается как:
.
Удельная адиабатная работа газа в турбине определяется как:
где
– показатель адиабаты,
;
– газовая постоянная рабочего тела турбины,
– температура рабочего тела турбины,
– давление газа на входе в турбину,
– степень понижения давления на турбине.
Параметры рабочего тела турбины
,
,
,
,
назначаются по результатам расчета совместной работы турбины и .насосов в закрытой схеме,
– давление в камере сгорания, равное 15 МПа.
С учетом выбранных величин, удельная адиабатная работа газа в турбине равна:
Объемный расход газа на входе в колесо турбины равен:
м3/с;
Коэффициент быстроходности турбины равен:
;
Степень парциальности предкамерной турбины равна:
Степень реактивности турбины задается из интервала:
;
Адиабатная скорость равна:
м/с;
Соотношение окружной и адиабатной скоростей выбирается из условия обеспечения наибольшего окружного КПД турбины по графической зависимости:
;
При этом окружной КПД равен:
;
Окружная скорость турбины равна:
м/с;
Средний диаметр турбины равен:
м;
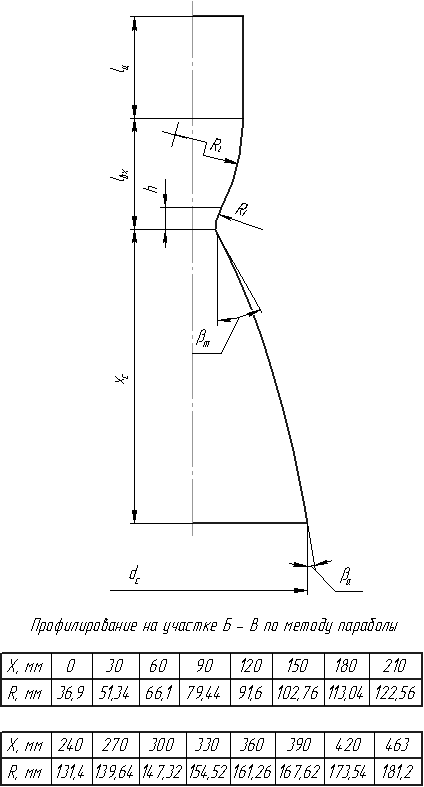
7. Построение профиля камеры сгорания
7.1 Профилирование докритической части канала
Расчёт докритической части канала, и построение профиля производится на основе эмпирических зависимостей.
-
Определение приведенной и условной длины канала:
где критический диаметр подставляется в миллиметрах.
-
Относительная площадь канала:
-
Расчет размеров камеры:
-
объём камеры:
.
- площадь поперечного сечения канала:
- радиус цилиндрической части канала:
- длина конфузора:
где ρ=0,25*106*рк=3,75.
- размеры конфузора:
- объем конфузора:
- длина цилиндрической части:
- радиусы сопряжения:
7.2 Профилирование закритической части канала
Расчёт и построение закритической части канала производится по методу касательных (параболы). Эта методика изложена в [5].
Определим отношение площадей:
Для n=1,32 находим два ближайших к
значения [3]:
Проинтерполируем значения:
Найдём длину закритической части канала,
Рисунок 1 – Профилирование канала методом параболы.
8. Определение параметров истекающего газового потока
Расчёт параметров по длине канала производится при некоторых средних значениях объёма и показателя политропы процесса.
Средняя газовая постоянная процесса:
,
Подставив значения получим:
Средние удельные объёмы в канале
и на срезе канала
:
Средний показатель процесса
:
Значения относительного текущего уширения находятся по формуле:
,
где
Pi – давление в i-том сечении канала.
Задаемся значениями πi в интервале от 1 до 0, что соответствует изменению давления от Pк до Pc и построим вспомогательный график
Рисунок 2 – Вспомогательный график
Расчеты параметров производим по следующим выражениям:
-
- давление в данном сечении:
,
- площадь i-го сечения:
,
- температура:
,
- удельный объём:
,
- плотность:
,
- скорость:
.
Полученные данные сводим в таблицу.
Параметры газового потока в канале Таблица 3
| Xi | Ri | Fi | ~Fi | πi | Pi | Ti | vi | wi |
| 0 | 0,08 | 0,020106 | 4,698806 | 0,98952 | 14842800 | 3314,596 | 0,186439 | 242,3332 |
| 0,03612 | 0,07784 | 0,019035 | 4,448495 | 0,9877 | 14815500 | 3313,135 | 0,1867 | 262,6252 |
| 0,06655 | 0,0726 | 0,016559 | 3,869731 | 0,9835 | 14752500 | 3309,755 | 0,187306 | 304,4225 |
| 0,08466 | 0,06793 | 0,014497 | 3,387901 | 0,9799877 | 14699816 | 3306,921 | 0,187817 | 335,4884 |
| 0,09516 | 0,06467 | 0,013139 | 3,070529 | 0,97475 | 14621250 | 3302,679 | 0,188584 | 377,2247 |
| 0,10349 | 0,06178 | 0,011991 | 2,802227 | 0,97032 | 14554800 | 3299,078 | 0,189238 | 409,3316 |
| 0,1127 | 0,05827 | 0,010667 | 2,492858 | 0,96191 | 14428650 | 3292,207 | 0,190495 | 464,4752 |
| 0,12215 | 0,05429 | 0,00926 | 2,16395 | 0,94901 | 14235150 | 3281,579 | 0,192461 | 538,7706 |
| 0,14073 | 0,04534 | 0,006458 | 1,509282 | 0,88682 | 13302300 | 3228,741 | 0,202642 | 812,9109 |
| 0,14758 | 0,04218 | 0,005589 | 1,306233 | 0,83911 | 12586650 | 3186,261 | 0,211346 | 979,1505 |
| 0,15306 | 0,04024 | 0,005087 | 1,18884 | 0,79246 | 11886900 | 3142,91 | 0,220742 | 1123,725 |
| 0,159 | 0,03865 | 0,004693 | 1,096747 | 0,73306 | 10995900 | 3084,806 | 0,234217 | 1292,376 |
| 0,16377 | 0,03776 | 0,004479 | 1,046819 | 0,68037 | 10205550 | 3030,188 | 0,247888 | 1432,924 |
| 0,16894 | 0,03715 | 0,004336 | 1,01327 | 0,61818 | 9272700 | 2961,415 | 0,266634 | 1592,348 |
| 0,175 | 0,0369 | 0,004278 | 0,999678 | 0,54 | 8100000 | 2867,053 | 0,295511 | 1788,107 |
| 0,1796 | 0,03755 | 0,00443 | 1,035207 | 0,42019 | 6302850 | 2699,872 | 0,357625 | 2090,399 |
| 0,18318 | 0,03905 | 0,004791 | 1,119566 | 0,32686 | 4902900 | 2542,248 | 0,4329 | 2339,909 |
| 0,18973 | 0,04294 | 0,005793 | 1,353729 | 0,21213 | 3181950 | 2292,188 | 0,601422 | 2688,65 |
| 0,20305 | 0,0503 | 0,007949 | 1,857563 | 0,11843 | 1776450 | 1993,536 | 0,9369 | 3053,404 |
| 0,22117 | 0,05956 | 0,011144 | 2,604455 | 0,068 | 1020000 | 1745,488 | 1,428693 | 3326,083 |
| 0,23689 | 0,06698 | 0,014094 | 3,293804 | 0,04733 | 709950 | 1600,394 | 1,882007 | 3475,683 |
| 0,26296 | 0,07879 | 0,019503 | 4,557742 | 0,02906 | 435900 | 1423,94 | 2,727264 | 3649,361 |
| 0,29537 | 0,09175 | 0,026446 | 6,180444 | 0,01901 | 285150 | 1286,321 | 3,766156 | 3779,279 |
| 0,34795 | 0,1107 | 0,038499 | 8,997104 | 0,01116 | 167400 | 1132,269 | 5,646983 | 3919,606 |
| 0,4048 | 0,12846 | 0,051842 | 12,11556 | 0,0069898 | 104847 | 1012,242 | 8,060287 | 4025,551 |
| 0,46593 | 0,14505 | 0,066098 | 15,44696 | 0,0049716 | 74574 | 932,9242 | 10,44434 | 4094,058 |
| 0,53133 | 0,16046 | 0,080888 | 18,90345 | 0,0037896 | 56844 | 874,1966 | 12,83946 | 4144,052 |
| 0,5875 | 0,17211 | 0,09306 | 21,74802 | 0,003103 | 46545 | 833,332 | 14,94746 | 4178,487 |
| 0,638 | 0,1812 | 0,103149 | 24,10593 | 0,002744 | 41160 | 809,1509 | 16,41256 | 4198,73 |
Параметр Δxi определяем графически через Ri.
















