126320 (691009), страница 2
Текст из файла (страница 2)
д) регулятором на блоке А6 выставляют донный сигнал на следующие деление горизонтальной шкалы экрана (ЭЛТ).
-для РУ1-9,0
-для РУ1Ш-8,9
-для РУ-9,4
е) довести кнопками аттенюатора амплитуду донного сигнала до середины экрана электронно-лучевой трубки (ЭЛТ);
з) отжать кнопку «х2» на задней панели дефектоскопа.
Установленный масштаб развертки дефектоскопа для продольных волн составит Мпропер.=140 мм/дел.
Настройка чувствительности дефектоскопа:
Для настройки чувствительности необходимо знать основные этапы ультразвукового контроля осей вагонных колесных пар: поверка осей на «прозвучиваемость» (проводится при формировании колесных пар);
1-й этап – ультразвукового контроля средней части и дальней подступичной части оси;
2-й этап – ультразвукового контроля шейки и предподступичной части оси;
3-й этап – ультразвукового контроля ближней подступичной части оси в зоне под внешней кромкой ступицы.
На практике необходимо проводить проверку осей с демонтажем буксового узла без снятия внутренних колец подшипников и осей со снятыми внутренними кольцами подшипников; во всех случаях выполняются все три перечисленных этапа контроля.
Настройка чувствительности дефектоскопа для проведения УЗК осей с демонтажем буксового узла без снятия внутренних колец подшипников.
а) Проверка осей на «прозвучиваемость»- значит проверить, удовлетворяет ли данная ось норме по затуханию ультразвука. Если удовлетворяет – ось имеет мелкозернистую структуру, соответствующую требованиям ГОСТ 4008-89, если нет, – значит, ось имеет крупнозернистую структуру. Такие оси в эксплуатацию не допускаются, а бракуются.
Для проверки оси на «прозвучивание» необходимо сравнить амплитуду донного сигнала в стандартном образце СО-2 (Nсо-2) по ГОСТ – 14782 (или вСО-3Р по ГОСТ – 18576) и амплитуду донного сигнала в проверяемой оси N0. Если разница составит более 46 дБ, то ось считается «непрозвучиваемой».
(Nco-2) – (N0)>46 дБ.
Поэтому необходимо измерить амплитуду донного сигнала в СО-2 или СО-3Р, для этого:
-установить прямой ПЭП на поверхность СО-2 или СО-3Р;
-получить серию донных сигналов;
-первый донный сигнал кнопками аттенюатора довести до средней линии экрана ЭЛТ;
-показания аттенюатора Nсо-2 занести в журнал установленной формы, приведенной в технической характеристике.
Примечание: при невозможности установить амплитуду донного сигнала до средней линии экрана ЭЛТ уменьшить амплитуду на блоке А8 регулятором, в дальнейшем трогать регулятор на блоке А8 ЗАПРЕЩЕНО.
б) 1-й этап – для ультразвукового контроля (УЗК) средней части и дальней подступичной части оси.
Для выполнения УЗК средней части и дальней подступичной части оси браковочную чувствительность N1 настраивают по эхо-сигналу от пропила глубиной 4мм, выполненному вблизи внутренней кромки ступицы колеса. Для этого:
-прямой ПЭП (П111-2,5-К12-002) или комбинированный ПЭП из комплекта ПКО (частота 2,5 МГц, угол ввода 0°) устанавливают на торец оси (РУ1Ш);
-комбинированный ПЭП из комплекта ПКО (частота 2,5 МГц, угол ввода 0°) устанавливают в за резьбовую канавку (оси РУ1 ,РУ);
-Получают эхо-сигнал от пропила и кнопками аттенюатора доводят его до средней линии экрана ЭЛТ. Показания аттенюатора N1 заносят в журнал установленной формы, приведенной в технологической инструкции.
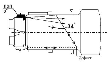
в) 2-й этап – для УЗК ближних шейки и предподступичной части оси браковочную чувствительность N2 настраивают по эхо-сигналу от пропила в галтели шейки под кольцами роликовых подшипников глубиной 3 мм, на расстоянии 150-165 мм от поверхности сканирования. Для этого:
-
прямой ПЭП или комбенированый ПЭП из комплекта ПКО (частота 2,5 МГц, угол ввода 0°) устанавливают в резьбовую канавку (оси РУ1, РУ) рисунок 3.
Рис.3 Схема прозвучивания оси.
-получают эхо-сигнал от пропила и кнопками аттенюатора доводят его до средней линии экрана ЭЛТ. Показания аттенюатора N2 заносят в журнал установленной формы, приведенной в технической инструкции.
г) 3-й этап – для выполнения УЗК ближней подступичной части оси в зоне под внешней кромкой ступицы браковочную чувствительность N3 настраивают по эхо-сигналу от пропила вблизи внешней кромки ступицы колеса глубиной 3мм на расстояние 280-330 мм от поверхности сканирования. Для этого:
-наклонный или комбинированный ПЭП из комплекта ПКО (частота 2,5 МГц, угол ввода 18°) устанавливают в за резьбовую канавку (РУ1, РУ) или на торец оси (РУ1Ш).
-получают эхо-сигнал от пропила и кнопками аттенюатора доводят его до средней линии экрана электронно-лучевой трубки. Показания аттенюатора N3 заносят в журнал установленной формы, приведенной в технической характеристики.
Подготовка оси:
Очистка обеспечивает подготовку поверхностей колесных пар для выполнения дефектоскопии. Основными требования к способам очистки колесных пар является высокое качество и быстрота очистки при сохранение нормальных условий труда. Известны следующие способы отчистки колесных пар: механический (механизированный и ручной), при котором в качестве рабочих органов используются металлически щетки или скребки; струйно-гидравлический с использованием щелочного раствора или чистой воды; гидромеханический; пескоструйный; вываривание в щелочном растворе (погружение в ванну); химический (обмазывание специальной мастикой).
Механический способ очистки применяют как основной, так и дополнительный в сочетание с другими способами для удаления различных нерастворимых органических соединений, ржавчины, старой краски. При ремонте колесных пар очистку скребками или металлическими щетками, применяют до обмывки колесных пар в моечной машине и после нее. Ручная очистка колесных пар щетками и скребками обеспечивает тщательное удаление загрезнений, представляет собой трудоемкую и малопроизводительную работу.
В последнее время находят применения механизированные установки для предварительной отчистки колесной пары металлическими щетками или скребками. Такие установки снабжены механизмами вращения колесной пары и пневматическими цилиндрами для прижатия щеток к элементам колесных пар в процессе их отчистки; убедится в отсутвие поверхностных дефектов.
Проведение контроля
а) Проверка осей на «прозвучиваемость».
Проверку осей на прозвучиваемость выполняют при формировании колесных пар до и после на прессовки колес.
Проверку осей на «прозвучиваемость» выполняют путем установки комбинированного ПЭП из комплекта ПКО (частота 2,5 МГц, угол ввода 0°) или прямого ПЭП на торец оси. При этом измеряют амплитуду донного сигнала от противоположного торца оси N0 в 4-х точках, выбирают меньшее значение и сравнивают с амплитудой донного сигнала в СО-2.
Ось бракуется, если разница между N0 и Nсо-2 превышает 46 дБ;
(Nсо-2) – (Nсо-2)>46 дБ.
Проверку всех частей оси проводят на поисковой чувствительности Nn, которая на 6-8 дБ выше браковочной N. Поэтому, чтобы определить знание поисковой чувствительности, необходимо от значения браковочной чувствительности отнять 6 (8) дБ.
Nn=N-6(8), дБ.
Полученное значение Nn выставляют на аттенюаторе дефектоскопа для проведения контроля.
б)1-й этап – УЗК средней части и дальней подступичной части оси.
УЗК средней части и дальней подступичной части оси выполняют прямым или комбинированным ПЭП (частота 2,5 МГц, угол ввода 0°) поочередно с каждого торца оси.
Зона контроля пол горизонтальной шкале масштабной сетки экрана ЭЛТ составляет 4,0-7,8 деления.
Для выполнения УЗК осей следует:
-нанести на торец оси (зарезьбованную канавку) контактную смазку;
-установить прямой или комбинированный ПЭП на торец оси (за резьбовую канавку);
-получить донный сигнал;
-кнопками аттенюатора довести амплитуду донного сигнала до средней линии экрана ЭЛТ;
-показания аттенюатора N0 занести в рабочей журнал;
-если разность показания аттенюатора (N0-N0')<10 дБ, установить на аттенюаторе значение поисковой чувствительности Nn1;
Примечание. Если разность показаний аттенюатора (N0-N0')>10 дБ, установить на аттенюаторе значение браковочной чувствительности, равное N1'=N1-(N0-N0'),дБ, если N1'<0,то ось подлежит браковке как "не бракуемая".
-выставить на аттенюаторе поисковую чувствительность, уменьшив показания аттенюатора N1' на 6-8 дБ;
-выполнение сканирование, перемещая комбинированный ПЭП по зарезьбовой канавке (РУ1, РУ) или устанавливая прямой ПЭП на торце оси в 20-25 точках (РУ1Ш);
-при появление в зоне контроля одиночного эхо-сигнала уменьшить чувствительность до браковочной.
в)2-й этап – УЗК ближних шейки и предподступичной части оси.
УЗК ближней шейки и предподступичной части оси выполняют поочередно с каждого торца оси прямым или комбинированным ПЭП (частотой 2,5 МГЦ, угол ввода 0°).
Зона контроля пол горизонтальной шкале масштабной сетки экрана ЭЛТ составляет 0,4-1,4 деления.
Для выполнения УЗК ближних шейки и предподступичной части оси следует:
-выставить на аттенюаторе поисковую чувствительность Nn2;
-нанести на торец (за резьбовую канавку) оси контактную смазку;
-установить прямой ПЭП на торец оси (за резьбовую канавку);
-выполнить сканирование, перемещая ПЭП по зарезьбовой канавке или устанавливая его в 20-25 точках на торце оси;
-при появлении в зоне контроля одиночного эхо-сигнала уменьшить чувствительность до браковочной.
г)3-й этап – УЗК ближней подступичной части оси в зоне под внешней кромкой ступицы.
УЗК ближней подступичной части оси в зоне под внешней кромкой ступицы выполненного поочередном с каждого торца оси комбинированный ПЭП (частота 2,5 МГ, угол ввода 18°).
Зона контроля УЗК ближней подступичной части в зоне под внешней кромкой ступицы следует:
-вставить на аттенюаторе поисковую чувствительность Nn3;
-нанести на торец оси (зарезьбоаую канавку) контактную смазку;
-установить комбинированный ПЭП на торце оси (зарезьбоаую канавку);
-выполнение сканирования, перемещая ПЭП по зарезьбовой канавке или устанавливая его в 20-25 точках на торце оси;
-при появлении в зоне контроля одиночного эхо –сигнала уменьшить чувствительность до браковочного.
Оценка качества проконтролированной детали:
Ось колесной пары подлежит браковке, если:
-отсутствует сигнал от противоположного торца оси при сквозном прозвучивание (ослабление сигнала от противоположного торца оси (донного сигнала) относительно донного сигнала, измеряемого по СО-2 минус 46 дБ и менее);
-в зоне контроля при браковочной чувствительности имеется эхо-сигнал, превышающий среднюю линию экрана ЭЛТ.
Результаты УЗК заносятся в журнал установочной формы, приведенной в технической инструкции.
4. МЕХАНИЗАЦИЯ И АВТОМАТИЗАЦИЯ ПРИ ДЕФЕКТОСКОПИИ
дефектоскоп ультразвуковой трещина движение
Существенное влияние на производительность труда и интенсивность использования технологического оборудования оказывают применяемые в колесных цехах погрузочно-разгрузочные, транспортные и подъемно-транспортные средства. В комплексе с технологическим оборудованием они определяют уровень механизации и автоматизации производственного процесса. Они должны обеспечивать заданный уровень механизации и автоматизации подъемно-транспортных работ, обладать необходимой надежностью и достаточной производительностью, обеспечивать наиболее благоприятные условия труда и наименьшую стоимость перемещения колесных пар и их элементов.
В колесных цехах вагоноремонтных и вагоностроительных предприятий применяют различные средства механизации. В соответствии с классификацией все эти средства разделены на две группы: вспомогательные и основные. К группе основных средств относятся подъемно-транспортные машины периодического и непрерывного действия. При этом к машинам периодического действия относятся различные грузоподъемные краны, монорельсовый и напольный транспорт, а к машинам непрерывного действия конвейеры различного типа. К группе вспомогательных средств относятся грузозахватные приспособления, кантователи, самотечные, поворотные и другие устройства.
Из всего многообразия подъемно-транспортных средств в колесных цехах наибольшее распространение получили подъемно-транспортные машины периодического действия и вспомогательные устройства, такие, как захватные приспособления, стеллажи, поворотные устройства, наклонные пути для перемещения колесных пар, желоба для колес.
Применяемое в колесных цехах оборудование разделяется на производственное, вспомогательное и подъемно-транспортное. Производственное оборудование это все рабочие машины, станки, установки, стенды, занятые на выполнение основных операций технологического процесса. Вспомогательное это оборудование, непосредственно не участвующее в выполнении технологического процесса, но используемое для обслуживания основного производства.
5. ОРГАНИЗАЦИЯ РАБОЧЕГО МЕСТА ПРИ ДЕФЕКТОСКОПИИ
В организации производства колёсного цеха существенную роль играет правильная организация труда и квалификация рабочих. С целью создания условий для постоянного увеличения производительности труда необходимо в процессе организации и совершенствования производства осуществлять нормирование труда, устанавливать обоснованные нормы выработки на основе технических норм времени на каждую операцию. Технической нормой времени на операции называется минимально необходимое для данных технических условий производства время на выполнение операции при нормальных условиях работы и при наиболее рациональном использовании всех средств производства. Для наилучшего использования оборудования и достижения наибольшей производительности труда необходимо предусматривать рациональную организацию рабочего места с учётом положений научной организации труда (НОТ) и технической эстетики. Рациональная планировка рабочего места, т.е. взаимное расположение рабочего, дефектоскопов, инструмента, приспособления, колёсной пары, зависит от вида выполняемых работ и формы организации производства и должна удовлетворять следующим требованиям:
1) в процессе работы рабочий не должен совершать лишних движений;
2) не должно быть потерь времени и излишней утомляемости рабочего, вызываемых нерациональным взаимным расположением всех элементов, входящих в состав рабочего места;
3) во время работы рабочий не должен испытывать неудобств и стеснении;
4) инструмент и техническая документация должны находиться в определённых доступных для рабочего местах;
5) рабочее место должно быть оборудовано с учётом обеспечения требований охраны труда;
6) на рабочем месте должны быть обеспечены благоприятные санитарно-технические условия в отношении света, тепла, чистоты и т.д.
6. ТЕХНИКА БЕЗОПАСНОСТИ ПРИ ДЕФЕКТОСКОПИРОВАНИЕ
Все виды работ при подготовке и проведение испытаний на растяжение и ультразвуковом методе должны проводиться при строгом соблюдение правил техники безопасности, промышленной санитарии и пожарной безопасности. К проведению неразрушающего контроля всеми методами допускаются дефектоскописты, прошедшие обучение и инструктаж по безопасности труда в соответствие с ГОСТ 12.0.004-79.
Оборудование участков и рабочих мест для проведения контроля дефектоскопами и вспомогательными устройствами и механизмами и их обслуживание должно осуществляться в соответствие с ГОСТ 12.2.007. 0-75, ГОСТ 12.1.019-79. Правилами устройства электроустановок потребителей и правилами техники безопасности при эксплуатации электроустановок потребителей.
Размещение, хранение, транспортирование и использование дефектоскопических и вспомогательных материалов и отходов производства должно проводиться с соблюдением требований защиты от пожаров по ГОСТ 12.1.004-85.
На каждом участке должна быть вывешена на видном месте инструкция по технике безопасности и пожарной безопасности, утвержденная главным инженером предприятия.
Подьемно-транспортные устройства должны удовлетворять требованиям действующих правил устройства и безопасной эксплуатации грузоподъемных кранов от 23 июля 1974 г. и Инструкции по безопасному ведению работ для стропальщиков, обслуживающие грузоподъемные краны.
При работе с ультразвуковым дефектоскопам следует пользоваться руководствами по эксплуатации соответствующих дефектоскопов. Переносные электрические светильники должны иметь напряжение питания не более 36 В.
Отходы производства в виде отработанных дефектоскопических материалов подлежат утилизации, регенерации, удалению в установленные сборники или уничтожению.
7. ОХРАНА ОКРУЖАЮЩЕЙ СРЕДЫ И ЭКОЛОГИЯ
Охрана окружающей среды и рациональное использование природных ресурсов – одна из актуальных задач современности. В условиях научно-технической революции всё более усложняются взаимоотношения человека с окружающей средой. Расширение использование естественных сырьевых ресурсов и увеличение промышленных и бытовых отходов резко усиливает воздействие человека на природу.
Главными проблемами охраны окружающей среды являются следующие:
1) определение оптимальных условий жизнедеятельности населения и путей сохранения свойств окружающей среды;
2) разработка методом скорейшего и полного перевода промышленного производства на безотходную технологию и замкнутые циклы воздухо- и водопотребления для ликвидации вредных выбросов и отходов в окружающую среду;
3) рациональная эксплуатация естественных ресурсов, прежде всего воды, воздуха, почвы и животного мира, чтобы обеспечить им охрану, восстановление и расширенное производство;
Основными источниками загрязнения атмосферного воздуха в индустриальных странах являются промышленные предприятия, тепловые электростанции, транспорт. Так, в атмосферу ежегодно выбрасывается 200-250 миллионов тон золы и до 60 миллионов тон сернистого газа. Огромное количество пыли, сернистых и других вредных видов газов, выделяющихся при различных технологических процессах (выпуск чугуна, стали, шлака из доменных и сталеплавильных печей, дробления и обжиг серного колчедана – сырья для получения серной кислоты, разлома и обжиг сырых материалов в цементном производстве и т.д.), выбрасывают в атмосферу предприятия металлургической, химической, строительной и других отраслей промышленности.
Одно из эффективных средств защиты атмосферного воздуха от загрязнения – очистка газопылевых выбросов промышленных предприятий. При обезвреживании токсичных выбросов вредные для человека и природной среды примеси отделяют от относительно безвредного основного газового потока. Существует также метод обезвреживания выбросов путём перевода токсических примесей, содержащихся в газовом потоке, в менее вредных или даже в практически безвредные.
Техника газоочистки располагает разнообразными методами и аппаратами для удаления пыли и вредных газов. Выбор метода для очистки газообразных примесей зависит от химических свойств примесей, характера производства: пригодности находящихся в производстве веществ в качестве поглотителей газа, возможности регенерации поглотителей, целесообразности утилизации уловленных продуктов. Для отчистки газового потока могут быть использованы также сухие и мокрые окислительные процессы каталитического превращения.
Отчистку газов и воздуха от пыли производят электрофильтрами при оптимальных условиях работы очень высокая – степень очистки 96-98% (для пыли диаметром 2 мкм). Оптимальные условия работы электрофильтра – постоянство скорости и плотности газов (а следовательно, состава, температуры, давления и т.д.)
Унифицированными горизонтальными электрофильтрами производят сухую отчистку запылённых газов в чёрной и цветной металлургии, теплоэнергетике, в промышленности строительных материалов, а мокрыми электрофильтрами – тонкую очистку газов от пыли.
Во всех отраслях промышленности для очистки газов можно применять конусные барьотажные абсорбенты, которые улавливают токсические примеси, растворимые и химические взаимодействующие с поглотительной жидкостью. Применение конусных барботажных абсорбентов для локальной очистки дренажных и технологических газовых выбросов позволяет резко сократить загрязнение воздушного бассейна.
Говоря об эффективности способ очистки газопылевых выбросов в атмосферу, следует помнить, что одним из наиболее важных факторов (наряду со стабильностью технологического процесса), обеспечивать высокую эффективность очистки, следует считать постоянный контроль за работой газоочистительных установок. Контроль должен осуществляться на каждом предприятии, как эксплуатационным персоналом, так и специальными службами (санитарным лабораториями и др.)
Контроль за соблюдением газо-пылеулавливающих установок должен включать наблюдение за их рабочими параметрами и проверки эффективности работы в сроки, установленные Государственной инспекцией по контролю за работой газоочистных и пылеулавливающих установок. Цель контроля – осуществление бесперебойной и эффективной работы установок санитарной очистки газов, а также своевременное внедрение в промышленное производство нового газоочистительного и пылеулавливающего оборудования, отвечающего достижениями отечественной и зарубежной науки и техники.
Несмотря на быстрый рост промышленного производства, развитие и совершенствование очистных устройств позволяет уменьшить выбросы пыли, углеводов и некоторых других загрязняющих атмосферу веществ, а в целом – стабилизировать объём промышленных выбросов.
СПИСОК ЛИТЕРАРУРЫ
-
Богданов А.Ф., Чурсин В.Г. Эксплуатация и ремонт колёсных пар вагонов. – М.: Транспорт, 1985г. – 270 с.
-
Душина Ж.В. Физические основы ультразвуковой дефектоскопии и технология ультразвукового контроля деталей подвижного состава – М.: УМК МПС РФ, 2000 г.
-
Ильин В.А., Батунер А.П., и др. Новые приборы неразрушающего контроля: (дефектоскопы УД-11ПУ, УД2-12,DI-4) М.: Транспорт, 1990г.
-
Инструкция по формированию и содержанию колёсных пар тягового подвижного состава железных дорог колеи 1520 мм. – М.: Транспорт, 1988г.
-
Лобанов А.Н. Дефектоскопирование деталей и узлов вагонных конструкций. М.: УМК МПС РФ, 1999 г.
-
Скиба И.Ф. Вагоны. – М.: транспорт, 1979г. – 303 с.
Размещено на Allbest.ru
10>0>















