126122 (690887), страница 2
Текст из файла (страница 2)
Рисунок 1 – Конструктивная схема делительного стола модели У1Н2056
Р
исунок 2 – Кинематическая схема делительного стола модели У1Н2056
Стол предназначен для периодического перемещения обрабатываемых деталей из одной рабочей позиции на другую и точной фиксацией на каждой позиции. Подобные столы применяются для компоновки многопозиционных агрегатных станков. Класс точности Н.
Гидрораспределители для подвода масла к приспособлению закрепляются на оси стола. Во время поворота планшайбы опорные направляющие гидростатически разгружаются маслом марки ИНСА-65 ТУ 38-101672-77, которое подается от станции смазки, расположенной рядом с поворотным столом. Масло, стекающее с направляющих во внутреннюю полость корпуса, используется для смазки зубчатой и червячной передач и попадает в клапан 15, откуда самотеком возвращается в станцию смазки.
Планшайба 18 поворачивается гидродвигателем 3 через червячную передачу 6 и цилиндрическую зубчатую передачу 20. В конце поворота упop 8 наезжает на подвижный фиксатор 10, который при ходе вниз включает выключатель 14 и нажимает золотник 19, затормаживающий вращение гидродвигателя 3. При дальнейшем вращении планшайбы фиксатор освобождается, под действием пружины 11 поднимается вверх и размыкает выключатель 14, который дает команду на реверс гидродвигателя 3. Масло начинает поступать через нижнее отверстие золотника 19, и плунжер золотника, поднимаясь вверх, освобождает проход масла к гидродвигателю.
Скорость реверса определяется стабилизатором, установленным на выходе гидродвигателя. В конце реверса упор 8 поворачивает валик 9, расположенный по оси фиксатора 10, преодолевая усилие пружины 18. На нижнем конце валика 9 находится планка с винтом 12, который при повороте валика включает датчик исходного положения 13. Срабатывание датчика включает реле времени (РВ), выдержка которого достаточна для создания необходимого усилия контакта фиксирующих плоскостей упора 8 и фиксатора 10. Срабатывание РВ отключает гидроразгрузку и включает зажим планшайбы. Зажим планшайбы и вместе с ним цикл деления заканчивается при срабатывании РВ.
На столе имеется ручной привод поворота планшайбы, который используется при наладке стола. Он состоит из подпружиненной шестерни вала 4, на конце которой выполнено шестигранное отверстие под ключ, и шестерни 2, соединенной разгонной муфтой 1 с червяком 6. При сжатии пружины 5 шестерня 4 вводится в зацепление с шестерней 2.
Корыто стола 7 предназначено для сбора стружки и охлаждающей жидкости, которые удаляются по лотку в отдельно стоящее приемное устройство. Для удобства демонтажа корыто выполнено разъемным. В оси 16 стола предусмотрено центральное отверстие для подвода труб гидравлики и смазки к приспособлению.
Основные технические данные стола модели У1Н2056:
| Диаметр планшайбы, мм. . . . . . . . . . . . . . . . . . . . . . . . . . . . . . . . . . . . . . . . . . . . Число позиций планшайбы. . . . . . . . . . . . . . . . . . . . . . . . . . . . . . . . . . . . . . . . . . Время поворота на одну позицию, с. . . . . . . . . . . . . . . . . . . . . . . . . . . . . . . . . . . Допустимый крутящий момент на планшайбе от сил резания, кН*м: по часовой стрелке. . . . . . . . . . . . . . . . . . . . . . . . . . . . . . . . . . . . . . . . . . . . против часовой стрелки. . . . . . . . . . . . . . . . . . . . . . . . . . . . . . . . . . . . . . . . Допустимое радиальное усилие, проложенное на высоте 200 мм от зеркала планшайбы, кН. . . . . . . . . . . . . . . . . . . . . . . . . . .. Наибольшая масса устанавливаемых на стол приспособлений с деталями, кг. . . . . . . . . . . . . . . . . . . . . . . . . . . . . . . . . . . . . . . . . . . . . . . . . . . . .. Наибольшая вертикальная сила при обработке, кН. . . . . . . . . . . . . . . . . . . . . .. Масса стола, кг. . . . . . . . . . . . . . . . . . . . . . . . . . . . . . . . . . . . . . . . . . . . . . . . . . . . | 1000 6 3,5 6 8 40 2000 100 1200 |
-
Выбор станины
Станины предназначены для компоновки многопозиционных агрегатных станков. На ней монтируются силовые головки, прямые и арочные стойки, поворотный делительный стол или стационарное приспособление и другие механизмы. Для выбранного типоразмера стола подходит станина 2УХ1234.000.
Данная станина представляет собой полый чугунный цилиндр. Для удобства оператора в передней части станины сделан выем. Все узлы и механизмы агрегатного станка монтируются на верхней плоскости. Масса станины 2450 кг. Схема станины модели 2УХ1234.000 представлена на рисунке 5.
Рисунок 3 – Принципиальная схема станины модели 2УХ1234.000
-
Выбор агрегатных силовых головок
Выбор агрегатных силовых головок основан на подборе по следующим параметрам: тип привода главного движения и подач, мощность электродвигателя, величина рабочего хода и усилие привода подач.
Наибольшая мощность резания определилась на первом переходе, где она составляет N = 1,04 кВт. С учетом того что КПД привода главного движения меньше единицы выбирается силовая головка пинольного типа с плоско-кулачковым механизмом подачи модели У1Х4035 с мощностью двигателя 2,2 кВт
Данная силовая головка предназначена для сверления, развертывания, торцевания и нарезания резьбы. Конструкция головки предусматривает возможность оснащения многошпиндельной насадкой, механизмом обратного хода, механизмом двусторонней обработки, фрезерной насадкой и другими устройствами.
Головка может устанавливаться в горизонтальном, вертикальном или наклонном положении. Кинематическая схема агрегатной головки приведена на рисунке 4.
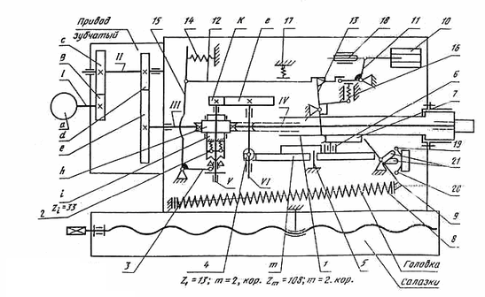
Рисунок 4 – Кинематическая схема силовой головки модели У1Х4035
Головка работает следующим образом: гл. движение передается от электродвигателя на вал I, шестерни B и C, вал II, шестерни d и e от вала на пустотелый червяк, вращающийся в подшипниках качения. От червяка h через червячную шестерню, шариковую кулачковую муфту 3, сменные шестерни к и l вращение передается с вала V на вал VI, а затем через шестерню 4 кулачку t, посаженному на ось 6, закрепленную вместе со шпонкой 7 на пиноли, и сообщает последней возвратно-поступательное движение. Для Обеспечения постоянного контакта кривой профиля кулачка t с роликом оси служит пружина 8, воздействующая на пиноль через рычаг 9.
Подача включается автоматически после срабатывания электромагнита 10. Втягивающийся сердечник магнита поворачивает рычаг 11, который при повороте выводит тягу 12 на зацепление с рычагом 13. Пружина сжатия 14 воздействует на двуплечий рычаг 15, с которым связана тяга, заставляет его повернуться вокруг оси и вторым плечом включить кулачковую муфту 3. После включения муфты замыкается цепь подачи, и пиноль движется вперед. Рычаг 13 под действием пружины 16 находится в контакте со шпонкой и поворачивается на оси. Свободный конец рычага скользит по выступу тяги и затем попадает в ее паз под действием пружины 17.
Возвращаясь назад, пиноль шпонкой повернет рычаг, который, увлекая за собой тягу, сожмет пружину 14 и через двуплечий рычаг 15 отключит кулачковую муфту 3. Вращение кулачка прекратится, и пиноль в ожидании новой команды останется в исходном положении. При наладочных работах подача включается от руки нажатием кнопки 18.
Исходное положение контролируется микропереключателем 19, а команда на реверсирование электродвигателя при резьбонарезных работах силовой головки поступает от микропереключателя 20. Управление микропереключателями осуществляется при помощи флажков 21, закрепленных на рычаге 9. Если не требуется реверсирование двигателем, го микропереключатель 20 используется как запасной.
С целью уменьшения времени на вспомогательные перемещения пиноли (быстрые подвод и отвод) в силовой головке применяются многоскоростные электродвигатели. Небольшая частота вращения электродвигателя применяется на участках кулачка быстрых подвода и отвода. Управление происходит следующим образом: с исходного положения пиноль быстро перемещается вперед (включается обмотка двигателя большой частоты вращения) до тех пор, пока дополнительный флажок не включит микропереключатель 20, который даст команду на вращение двигателя на расчетной (меньшей) частоте вращения. Шпиндель вращается на заданной частоте вращения на всём участке рабочего хода кулачка до конца рабочего хода. При переходе ролика с профиля кулачка рабочего хода на участок быстрого отвода флажок включает дополнительный конечный выключатель, и электродвигатель начинает вращаться с большей частотой вращения и происходит быстрое перемещение пиноли в исходное положение.
Основные технические данные силовой головки модели У1Х4035
-
Выбор стоек
Для установки вертикальных силовых головок на позициях №2, №3 и №4, где установлены вертикальные силовые головки, по габаритным размерам выбираем стойку 1УХ1535.010, её масса 192 кг. Эскиз стойки изображён на рисунке 5.
-
Описание устройства и принципа действия предлагаемого агрегатного станка и последовательности срабатывания схемы управления
Данное автоматизированное оборудование (агрегатный станок) состоит из унифицированных узлов (агрегатов), соединённых в единую работоспособную конструкцию. Обработка производится на поворотном делительном 6-ти позиционном столе модели У1Н2056, который установлен на станине модели 2УХ1234.000. Ось вращения стола – вертикальная. На станине располагаются три стоки модели 1УХ1535.010, расположенных по окружности со смещением в 60° каждая относительно предыдущей. На каждой стойке, на определённой высоте, устанавливается силовая головка модели У1Х4035.300, (расположение силовой головки в пространстве – вертикально) которая непосредственно участвует в процессе обработки. Еще две силовые головки располагаются непосредственно на станине – горизонтально (так же по окружности со смещением в 60°). Позади стола расположена гидростанция. В первой позиции вместо стойки с силовой головкой расположен стул, предназначенный для удобства рабочего (оператора). На передней поверхности расположен пульт управления (кнопочная станция).
Из вышесказанного ясно, что данный агрегатный станок является шестипозиционным. В нем пять рабочих позиций и одна загрузочная. Общий вид агрегатного станка приведен на чертеже общего вида ТПЖА. 041400.235 ВО. Установка заготовок и снятие деталей производится рабочим из питателя. Время снятия и установки является перекрываемым временем обработки на лимитирующей позиции, которой является позиция №4 (силовая головка №3), где производится нарезание резьбы в четырех отверстиях, поскольку только в данной позиции применяется симметричный, а, следовательно, самый длительный цикл обработки.
Основной особенностью подобного оборудования является автоматическая работа, почти не требующая вмешательства человека. Рабочий только снимает деталь и устанавливает заготовку. Здесь автоматическая работа осуществляется за счёт совместных действий совокупности различных приводов движения, переключателей, датчиков и таймеров, объединённых в единый, отлаженный механизм. При этом заготовка последовательно проходит ряд остановок, на каждой из которых совершается технологическая операция. После выполнения тех. операции силовая головка автоматически выключается, этому способствует датчик, который активизируется в конце тех. операции. После остановки всех агрегатных головок стол поворачивается (начало поворота после остановки лимитирующей силовой головки) и включается таймер, по команде которого зажимается планшайба стола, и запускаются все агрегатные силовые головки. Таким образом, данный цикл может повторяться сколько угодно долго, пока оператор не нажмёт на пульте управления кнопку «СТОП».
Данный станок работает в следующей последовательности. В начале смены рабочий загружает заготовку в позиции №1 (загрузочная), после чего он нажимает кнопку «ПУСК» на панели управления. Происходит включение электродвигателя ЭД1 гидростанции. Одновременно с этим включается электромагнит Э2 распределителя гидроцилиндра зажима стола, последний при этом освобождает зажим стола. И одновременно же с этими событиями поступает сигнал на таймер (ТМР2), который с определенной задержкой времени включает электромагнит Э4 гидрораспределителя, после чего происходит поворот стола с помощью гидромотора. При повороте стола на угол 60 один из шести скошенных упоров набегает на подвижный скошенный фиксатор. При этом последний, перемещаясь в осевом направлении, включает выключатель ВК1, который дает команду на реверс гидродвигателя. Непосредственно перед этим подвижный скошенный фиксатор нажимает золотник, который замедляет вращение стола, когда же гидромотор реверсируется, указанный золотник возвращается в исходное положение. При незначительном обратном вращении стола включается датчик исходного положения ВК2. Срабатывание датчика включает таймер ТМР1, выдержка которого достаточна для создания необходимого усилия контакта скошенных упора и фиксатора. Срабатывание таймера отключает гитдродвигатель и включает зажим планшайбы стола.
Срабатывание таймера ТМР1, кроме вышеописанных действий, осуществляет одновременный запуск электродвигателей всех силовых головок. Происходит одновременная обработка деталей во всех пяти рабочих позициях. По окончании цикла обработки лимитирующей силовой головки СГ №3 ее выключатель ВК6 включает электромагнит Э2 распределителя гидроцилиндра зажима стола и подает сигнал на таймер ТМР2, который с определенной задержкой времени включает электромагнит Э4 гидрораспределителя, после чего происходит поворот стола с помощью гидромотора. Таким образом, цикл начинает повторяться.
Принцип действия применяемых на станке силовых головок заключается в следующем. Главное движение передается от электродвигателя через зубчатую передачу на пустотелый червяк, вращающийся в подшипниках качения. От червяка через шлицевое соединение вращение передается шпинделю.
Движение подачи осуществляется пинолью совместно со шпинделем относительно корпуса головки. От вышеупомянутого червяка через червячное колесо, предохранительную и кулачковую муфты, сменные шестерни вращение передается на шестерню кулачка. Ось кулачка закреплена на пиноли и сообщает последней возвратно-поступательное движение.
Для нарезания резьбы на СГ №3 используется микропереключатель ВК5, который в определенный момент подает команду на реверсирование электродвигателя головки. При этом и вращение шпинделя, и вращение кулачка осуществляются в обратных направлениях.















