125970 (690805)
Текст из файла
Содержание
Задание
-
Обжиговые печи черной металлургии
1.1 Общие сведения
1.2 Обжиговые печи
2 Шахтные печи
2.1 Принцип действия и устройство шахтных печей
2.2 Способы отопления и режимы обжига в шахтных печах
2.3 Особенности теплообмена в слое
Заключение
Список использованных источников
1 Обжиговые печи в чёрной металлургии
1.1 Общие сведения
Печные установки служат для обжига различных сыпучих материалов, суспензий или изделий разнообразных форм и размеров. Показателем успешно проведенного обжига является высокое качество готового продукта, полученного в результате воздействия на материал ряда внешних факторов, называемых режимом обжига. Под режимом обжига понимают совокупность температурных и аэродинамических условий и длительности обжига, а также характера газовой среды, в которой происходит обжиг.
В свете этих положений различают температурный и аэродинамический режимы обжига.
Температурный режим определяется скоростью подъема температуры до максимальной, временем выдержки материала при максимальной температуре и скоростью его охлаждения. Наглядное представление о температурном режиме дает температурная кривая обжига.
Аэродинамический режим печи характеризуется статическим давлением в рабочей полости. Неравномерное распределение давления или разрежения приводит к разной скорости движения газовых потоков вокруг обжигаемого материала и неравномерному нагреву изделий. Особенно отрицательно это сказывается на качестве крупногабаритных изделий.
Наиболее равномерное распределение температур по рабочему пространству печи устанавливается при статическом давлении, близком к нулю. Повышенное давление в рабочем пространстве печи приводит к выбиванию газов в помещение цеха через имеющиеся в печи неплотности. Наоборот, разрежение создает присосы наружного холодного воздуха, вызывающие местное понижение температуры. Аэродинамический режим печи во многом зависит от сопротивления самого обжигаемого материала прохождению газов. Равномерное сопротивление слоя кускового материала или садки изделий в печи способствует равномерному обжигу.
Состав газовой среды в процессе обжига может быть окислительным, если в газах присутствует свободный кислород, восстановительным при содержании в газах водорода Н2, окиси углерода СО, углерода С в виде мельчайших частиц сажи и нейтральным при отсутствии в газах СО, Н2 и О2.
Определенный состав газовой среды достигается сжиганием топлива при разных значениях коэффициента избытка воздуха а. На качество обжига гипса, извести, шамота газовый режим не оказывает существенного влияния, но в целях уменьшения потерь теплоты с отходящими газами рекомендуют топливо сжигать с таким количеством воздуха, которое по возможности близко к теоретическому его значению, т. е. при а=1.
Каждые материал или изделие, обжигаемые в той или иной конструкции печи, требуют индивидуального режима обжига. Резкий режим обжига отличается высокими скоростями подъема и снижения температуры. В противоположность ему мягкий режим протекает при малых скоростях подъема и снижения температуры. Большинство кусковых материалов — гипс, известь, цементный клинкер, глина, шамот — можно обжигать при резких режимах. Решающим значением здесь для получения качественной продукции является продолжительность выдержки материала при максимальной температуре для завершения всех физико-химических процессов, протекающих в материале при его обжиге. Формованные же изделия, наоборот, обжигают при мягких режимах. Наряду с достаточной продолжительностью выдержки при максимальной температуре для обжига формованных изделий характерны меньшие скорости подогрева и охлаждения во избежание появления в материале разрушающих напряжений.
Рациональная конструкция печи должна обладать всеми возможностями для регулирования процесса обжига по отдельным его зонам для каждого вида обжигаемого в ней материала, а также отличаться высокими технико-экономическими показателями работы. Оптимальный режим обжига — это совокупность всех внешних условий, обеспечивающих получение готового продукта высокого качества при наилучших технико-экономических показателях печи.
К технико-экономическим показателям печной установки относят:
а) производительность — количество вырабатываемого в принятую единицу времени готового продукта. Для сравнения производительности отдельных печей при обжиге в них однотипного материала и для удобства нормирования пользуются понятием
удельная производительность печи или съем — это количество готового продукта, получаемого с 1 м3 или с 1 м2 площади попе речного сечения рабочего пространства печи в принятую единицу времени;
б) расход топлива на обжиг принятой единицы продукции. Этот показатель определяют отношением расхода условного топлива к количеству готовой продукции. Он характеризует тепловую экономичность печи;
в) расход электроэнергии (кВт-ч) на обжиг принятой единицы продукции. В пламенных печах основными потребителями электроэнергии являются вентиляторы и дымососы;
г) затраты труда на обслуживание печи выражают отношением человеко-часов к количеству готовой продукции; затраты труда зависят от степени механизации печи;
д) капитальные затраты, связанные с расходом и стоимостью материалов на сооружение печи.
Вышеприведенные технико-экономические показатели работы печи дают возможность не только определить стоимость обжига принятой единицы продукции, но и судить о совершенстве той или иной конструкции, наметить пути дальнейшего ее усовершенствования.
1.2 Обжиговые печи
В черной металлургии обжиговые шахтные печи применяют главным образом для обжига железных руд, известняка, магнезита и доломита. По виду используемого топлива обжиговые шахтные печи разделяются на пересыпные и с выносными топками.
Пересыпные шахтные печи применяют преимущественно для обжига тугоплавких материалов: известняка, доломита и др. Топливом служит коксовая мелочь, загружаемая в печь вместе с известняком. В нижней части шахты устанавливают механическое устройство для выгрузки обожженного продукта и регулирования схода шихты. Воздух подают через решетку разгрузочного устройства. Иногда для улучшения распределения шихты на колошнике печи устанавливают засыпной аппарат с одной вращающейся воронкой и конусом. Подогрев и обжиг материалов осуществляется в верхней части шахты. В нижней части обожженный материал охлаждается и одновременно подогревается воздух.
Шахтные печи с выносными топками применяют для обжига сравнительно легкоплавких железных руд. Нагрев и обжиг материала осуществляется продуктами сгорания, поступающими из топок в среднюю часть шахты по специальным каналам. Топки располагают около шахты, они могут иметь с ней общие стенки. В качестве топлива используют горючие газы любого вида, мазут и каменный уголь. Нижняя часть шахты как и в пересыпных печах, служит для охлаждения обожженного материала. Для этого через нее пропускают определенное количество воздуха, который нагревается и в средней части печи смешивается с продуктами сгорания, поступающими из топок.
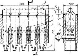
Продукты сгорания, подводимые по каналам через стенки шахты, устремляются в основном по наиболее легкому пути в периферийных областях слоя. Чтобы прогреть центральные области слоя шихтовых материалов, шахты печей делают узкими (с вытянутым поперечным сечением). В некоторых печах нижнюю часть шахты перегораживают огнеупорными стенками (кернами), в которых предусмотрены каналы для подачи продуктов сгорания в центральные области. Схема такой печи, предназначенной для обжига сидеритов (железных руд, содержащих до 20 % Fe), представлена на (рисунке 1).
Удельная производительность обжиговых шахтных печей значительно ниже, чем для вагранок, около 0,5—1.0 т/(м2-ч). Расход условного топлива зависит от содержания влаги и карбонатов в обжигаемом материале. При обжиге известняка он составляет 180—200 кг на 1 т готового продукта.
Для повышения производительности и замены кокса на газообразное топливо в зоне горения известковых печей стали устанавливать горизонтальные водухоохлаждаемые балки с вмонтированными в них или под ними газовыми горелками. Куски известняка проходят между этими балками через пламя горящего газа. При установлении по высоте печи двух рядов балок в шахматном порядке достигается значительное улучшение качества обжига.
1 — люки для загрузки шихты: 2 — газопровод для отходящих газов;
3 — гребень (разбойник), направляющий руду к стенкам печи; 4 — поперечные стенки (керны); 5 — каналы для подвода горячих газов в слой обжигового материала; 6 – футерованный газопровод для продуктов сгорания газообразного топлива; 7 — люки для выгрузки обожженного материала
2 Шахтные печи
2.1 Принцип действия и устройство шахтных печей
Автоматические шахтные печи при относительно небольших размерах просты по конструкции, требуют сравнительно небольших капиталовложений при строительстве и характеризуются сравнительно низким расходом тепла — около 4,200 МДж (1000 ккал) на 1 кг клинкера. Однако производительность их за сутки невысока — не более 270 т. В СССР эти печи имеются лишь на трех предприятиях. Заводы с шахтными печами строят в единичных случаях, так как для эффективного применения этих печей необходимы сырьевые материалы невысокой влажности, пластичный глинистый компонент и твердое короткопламенное топливо (антрацит, кокс, тощий уголь, сланцевый кокс), содержащее не более 7% летучих веществ.
Основным элементом автоматической шахтной печи (рисунок 2) является сварной цилиндрический кожух диаметром 2—3 м и высотой 8—12 м, облицованный внутри шамотным кирпичом и хромомагнезитом. Нижнюю часть шахты облицовывают чугунными плитами. Верхняя часть шахты расширена (примерно на 25%) в виде воронки. К верхней части шахты, закрытой специальным колпаком, примыкает труба для удаления отходящих газов.
Над шахтой расположены бункера сырьевой смеси и топливной крупки, весовые или винтовые дозаторы, смесительный шнек и тарельчатый гранулятор. Кроме сырьевой смеси и топливной крупки на тарелку гранулятора подается распыленная вода, вокруг брызг, которой образуются сырьевые гранулы, скатывающиеся во вращающуюся течку загрузочного устройства, распределяющего гранулы равномерно по сечению шахты. Внизу шахта закрыта вращающейся решеткой, жестко посаженной на вертикальный вал, и многошлюзовым затвором, предупреждающим потери воздуха высокого давления. Воздух для горения подается в печь от воздуходувки, обеспечивающей давление до 2500 мм вод. ст., по разветвленному воздухопроводу частично под решетку и частично для улучшения сгорания топлива в зоны подогрева и кальцинирования. В эти же зоны для дожигания обычно образующейся в печи окиси углерода иногда по центральной трубе подают кислород. Во избежание утечки сжатого воздуха через разгрузочное отверстие клинкер выгружают из печи через двух -, трех-шлюзовой затвор, клапаны которого открывают и закрывают попеременно специальным гидропривводом.
Таким образом, автоматическая шахтная печь представляет собой печь непрерывного действия с механизированной подготовкой и загрузкой сырьевых гранул, а также разгрузкой клинкера.
Печи последних конструкций оборудуют контрольно-измерительными приборами и приборами автоматического регулирования процесса.
Производительность шахтной печи прямо пропорциональна квадрату диаметра шахты, высоте шахты, давлению дутья и количеству воздуха, подаваемого в печь, и обратно пропорциональна размеру кусков обжигаемого материала. Съем клинкера с единицы объема шахтной печи составляет 100—135 кг/(м3-ч).
Качество клинкера шахтных печей несколько ниже качества клинкера, обожженного во вращающихся печах. Оно может быть повышено в результате тонкого помола (до 8% остатка на сите с сеткой № 009) сырья при точной дозировке и тщательном перемешивании сырьевой смеси и топлива, хорошем гранулировании смеси (прочные гранулы размером 10—20 мм), равномерном распределении гранул при подаче воздуха с наибольшим давлением.
Существенным недостатком шахтных печей является их низкая производительность. Однако технико-экономический анализ показывает целесообразность применения автоматизированных шахтных печей в ряде случаев, например при небольшой производительности (до 600 т/сутки) завода.
Шахтные печи усовершенствованной конструкции, изготовляемые фирмами Леше и Де Ролль (Швейцария), работают по способу «черной муки» и имеют высокие технико-экономические показатели. Расход тепла в них составляет 3,35 МДж (800 ккал) на 1 кг клинкера. Из клинкеров шахтных печей 20 цементных заводов ФРГ получают цемент 325—425 (по стандарту ФРГ). Сланцевский цементный завод в шахтных печах получает клинкер марки 400 (по ГОСТ 10178—62).
Р
исунок 2 - Шахтная печь
В последние годы производительность шахтных печей за сутки достигла 300 т, а фирма Леше проектирует и более крупные шахтные печи (диаметром 3,6—4 м, высотой 11,2—12 м) производительностью 400—500 т за сутки. Ведутся исследования по применению жидкого и газообразного топлива для обжига клинкера в шахтных печах, что обеспечит дальнейшее развитие и распространение этих экономичных установок.
Характеристики
Тип файла документ
Документы такого типа открываются такими программами, как Microsoft Office Word на компьютерах Windows, Apple Pages на компьютерах Mac, Open Office - бесплатная альтернатива на различных платформах, в том числе Linux. Наиболее простым и современным решением будут Google документы, так как открываются онлайн без скачивания прямо в браузере на любой платформе. Существуют российские качественные аналоги, например от Яндекса.
Будьте внимательны на мобильных устройствах, так как там используются упрощённый функционал даже в официальном приложении от Microsoft, поэтому для просмотра скачивайте PDF-версию. А если нужно редактировать файл, то используйте оригинальный файл.
Файлы такого типа обычно разбиты на страницы, а текст может быть форматированным (жирный, курсив, выбор шрифта, таблицы и т.п.), а также в него можно добавлять изображения. Формат идеально подходит для рефератов, докладов и РПЗ курсовых проектов, которые необходимо распечатать. Кстати перед печатью также сохраняйте файл в PDF, так как принтер может начудить со шрифтами.















