125892 (690745), страница 4
Текст из файла (страница 4)
3.2 Розрахунок привода
Вибір електродвигуна і кінематичний розрахунок.
По табл.1.1. ККД пари циліндричних зубчастих коліс
; коефіцієнт, який враховує втрати пари підшипників кочення
; ККД клинопасової передачі
; коефіцієнт, який враховує втрати в опорах приводного вала
.
Загальний ККД привода
=
Потужність на валу змішувача N=31,6 кВт
Потрібна потужність електродвигуна
Частота обертання вала
ωв - кутова швидкість вала
По ГОСТ 19523-81 по потрібній потужності N1=35б1 кВт вибираємо електродвигун трифазний асинхронний коротко замкнутий серії 4А закритий, обдуває мий, з синхронною частотою обертання nc=1500 об/хв. Тип двигуна 4А200М4УЗ з параметрами: синхронна частота обертання nc=1500 об/хв.; потужність Nдв=37кВт; ковзання S=1,7%; відношення моментів:
Номінальна частота обертання двигуна
Кутова швидкість електродвигуна
Загальне передаточне відношення
Вибираємо редуктор типу Ц2-300. Потужність на швиткохідному валу Np=39,6 кВт; частота обертання швидкохідного вала редуктора np=1500 об/хв; передаточне число редуктора
Передаточне число клинопасової передачі
Кутова швидкість і частота обертання ведучого вала редуктора
Табл. Кутові швидкості і частота обертання валів
| Вал двигуна |
|
|
| Швидкохідний вал редуктора |
|
|
| Тихохідний вал редуктора |
|
|
3.3 Розрахунок клинопасової передачі
Вихідні дані:
Потужність, що передається N1=35,1 кВ; частота обертання ведучого шківа n1=nдв=1474,5 об/хв; передаточне відношення клинопасової передачі іп=3,25; ковзання паса ε=0,015.
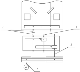
Рис. 3.2. Кінематична схема привода
1 – вал двигуна; 2 – швидкохідний вал редуктора; 3 - проміжний вал редуктора; 4 - тихохідний вал редуктора і вал змішувача
По номограмі в залежності від частоти обертання ведучого шківа і потужності, яка передається N1=35,1 кВт приймаємо переріз клинового паса Б.
Обертовий момент:
N1 – потужність, що передається;
ωдв – кутова швидкість електродвигуна, ωдв=154,3 рад/с.
Діаметр ведучого шківа:
Згідно табл. 7.8 приймаємо d1=224 мм.
Діаметр веденого шківа:
По знайденому значенню підбираємо діаметр шківа (мм) із стандартного ряда по ГОСТ 17383-73 приймаємо d2=710 мм.
Уточнюємо передаточне відношення
Уточнюємо значення кутової швидкості веденого шківа:
Розходження з тим, що було отримано з початку розрахунку:
,
що менше допустимого значення.
Отже, остаточно приймаємо діаметри шківів d1=224 мм і d2=710 мм.
Міжосьову відстань ар слід прийняти в інтервалі:
То=10,5 – висота перерізу паса по табл. 7.7 ГОСТ 1284.1-80.
Приймаємо попередньо близьке значення ар=1000 мм із стандартного ряда.
Розрахункова довжина паса:
Вибираємо найближче значення із стандартного ряду L=3550 мм(табл. 7.7 ГОСТ 1284.1-80).
Уточнюємо значення міжосьової відстані ар з врахуванням стандартної довжини паса L.
де ω=0,5π(d1+d2)=0,5∙3,14(224+710)=1466 мм
у=(d2-d1)2=(710-224)2=23,6∙104
При монтажі передачі необхідно забезпечити можливість зменшення міжосьової відстані на 0,01L=0,01∙3550=35,5 мм, для полегшення натягання пасів на шківи і можливості збільшення його необхідно забезпечити можливість зменшення міжосьової відстані на 0,025 L=0,025∙3550=88,75 мм.
Кут обхвату меншого шківа:
Число пасів у передачі:
,
де Ср – коефіцієнт режиму роботи, що враховує умови експлуатації передачі, Ср=1,2;
СL – коефіцієнт, який враховує вплив довжини пасу, СL=1,07;
Сα – коефіцієнт, який враховує вплив кута обхвату, Сα=0,93;
Сz – коефіцієнт, який враховує число пасів у передачі, припустивши, що число пасів у передачі буде більше 6, приймаємо Сz=0,85;
No – потужність, яка передається одним клиновим пасом, No=6,81 кВт (табл. 7.8 [7]); Приймаємо z=7.
Натяг вітки клинового паса:
де v – швидкість паса v=0,5∙ωдв∙d1=0,5∙154,3∙224∙10-3=17,3 м/с;
θ – коефіцієнт, який враховує вплив відцентрових сил; для паса перерізу Б коефіцієнт θ=0,18 Н∙с2/м2; Тиск на вали
Ширина шківів
Приймаємо Вш=140 мм.
По табл.. 7.12. для паса перерізу: Б=19 мм; f=12,5 мм.
Робочий ресурс пасів, год.
Де Nоц – наробка пасів у циклах при стендових випробовуваннях (один цикл – один пробіг). Для паса перерізом Б –
L – розрахункова довжина паса, мм;
d1 – діаметр меншого шківа, мм;
σу – границя витривалості паса, для клинових пасів σу=9МПа[1].
σmax – максимальна напруга у перерізі паса, МПа.
σmax= σ1+ σзг+ σv.
Напруження від повного натягу паса, МПа
F0 – натяг вітки клинового паса, Н
b – ширина паса, b=14 мм; σ – товщина паса, σ=10,5 мм – для паса перерізу Б табл. 7.7. (ГОСТ 1284.1-80).
z – кількість пасів,
Ft – колова сила паса, Н
N1 – потужність, яка передається, кВт.
v – швидкість паса, м/с.
Напруження згину при огинання пасом ведучого шківа, МПа
Для гумотканинних пасів Еи=100…200 МПа, модуль пружності.
Для паса перерізу Б, табл.2.12, [2], уо=4 мм.
d1 –діаметр меншого шківа, мм.
Напруження від відцентрованої сили, МПа
zш – кількість шківів у передачі, zш=2;
σmax=3,7+3,6+0,33=7,63 МПа.
Сзг – коефіцієнт, який враховує вплив різного степеня згину паса на шківах передачі.
іп – передаточне відношення клинопасової передачі, іп=3,22.
При тяжкому режимі роботи Но≥[H]. У нашому випадку 1625≥1000, отже умова виконується. Умова σmax≤σy в нашому випадку також виконується.
ІV. Техніка безпеки і охорона праці
Вимоги техніки безпеки слід враховувати на всіх етапах проектування машини або її модернізації. Всі органи керування машиною повинні задовольняти вимогам ергономіки і технічної естетики в цілому. Їх потрібно розташовувати в місцях, зручних для користування, щоб запобігти випадковому включенню машини.
Розглянемо деякі з основних вимог техніки безпеки – загальні для експлуатації всіх видів обладнання на підприємствах будівельних матеріалів.
При експлуатації машин потрібно дотримувати наступні заходи безпеки:
До роботи по керуванню та обслуговуванню обладнання допускаються особи, яким не менше 18 років, які пройшли медичний огляд, вступний інструктаж по техніці безпеки, інструктаж безпосередньо на робочому місці і навчання по затвердженій програмі.
Машини і обладнання повинні бути забезпечені технічними паспортами, інструкціями по експлуатації та іншими нормативними документами. На видному місці в зоні роботи машини необхідно вивішувати витяги з інструкції по експлуатації, знаки і плакати по техніці безпеки.
Робоче місце слід утримувати в чистоті і не загромаджувати сторонніми предметами. Пульт керування повинен знаходитись у зручному для роботи місці з добрим оглядом і достатнім освітленням. Робочі місця по обслуговуванню машини слід обладнувати кнопками з сигналом «СТОП» для аварійної зупинки.
Всі площадки обслуговування обладнання, розташованого на висоті більше 1 метра необхідно обгородити перилами, відгородження всіх частин, що рухаються, розміщених на висоті 2 м від підлоги майданчика. Приймальні бункери обладнання слід обладнувати решітками з розмірами ячейок не більше 150х150 мм. Обертаючі частини обладнання необхідно відгородити захисними кожухами, решітками.
Муфти, шківи, барабани, передачі (пасові, зубчасті, ланцюгові), вали повинні надійно відгороджуватись кожухами (за виключенням робочих органів, які за характером роботи не можуть бути закриті), щоб виключити можливість контакту з ним обслуговуючого персоналу.
Вантажопідйомні механізми та пристрої, а також шланги, що працюють під тиском повинна періодично оглядати технічна інспекція.
Місце інтенсивного запилення слід обладнати системати асперації і вентиляції, обезпилення, а обслуговуючий персонал забезпечити засобами індивідуального захисту – респіраторами, окулярами. Забороняється працювати при несправних пилеосаджувальних пристроях.
В роботу можна вмикати лише справне обладнання після перевірки надійності кріплення шківів, муфт. Корпусів підшипників, захисних загороджень, стану сигналізації. Пуск і зупинку обладнання, технологічно зв′язаного з наявним і наступним обладнанням, слід здійснювати лише після подачі звукових (або світлових) сигналів.
Наявність і справність гальмових, сигнальних і блокувальних пристроїв.
Механічна міцність цих частин та кріплень машин і апаратів, регулярна і своєчасна їх перевірка і огляд.
Дотримання обслуговуючим персоналом правил зупинки і пуску устаткування під час його огляду, чищення і ремонту.
При виконанні ремонтних робіт всередині машини рухомі деталі необхідно фіксувати надійними підкладками. Монтажний інструмент для різьбових з’єднань повинен чітко відповідати розмірам головок болтів, гайок. Користуватися підкладками для ключів не допускається.
Станини, рами обладнання, корпуса електродвигунів, шкафів управління необхідно заземлювати. Силова проводка повинна заключатися в металеві труби для запобігання їх пошкодження. Забороняється самостійно усувати несправності електрообладнання і електропроводів особам, які не мають на це права.
Важкодоступні місця обладнання при оглядах і ремонтах слід освітлювати переносними лампами напругою не більше 36 В, а в умовах вологого середовища – не вище 12 В.
Ремонтні роботи, змащення і чищення обладнання можна проводити тільки при відключеному електрообладнанні і знятих запобіжниках. На пускових пристроях необхідно вивішувати попереджувальні таблички «Не вмикати! Працюють люди!» Спеціальні огородження окремих небезпечних зон повинні мати блокіровки, які запобігають можливості включення приводів при відкритих дверках огороджень. При розробці заходів по техниці безпеки в проекті необхідно також враховувати специфічні умови експлуатації конкретних видів обладнання. Деякі з таких заходів проводяться в окремих підрозділах по певному обладнанні.















