125842 (690715), страница 2
Текст из файла (страница 2)
Поле допуска - два предельно допустимых размера, между которыми находятся или равен действительный размер годной детали.
Наибольший предельный размер - самый большой предельно допустимый размер.
Наименьший предельный размер - самый маленький допустимый размер.
В процессе изготовления каждая деталь получает те или иные отклонения от номинальных размеров. Деталь номинального размера изготовить невозможно, поэтому обработка размеров детали допускается с определенными отклонениями.
Точность изготовления деталей зависит от выбранного квалитета.
Квалитет - совокупность допусков, которые соответствуют одинаковой степени точности для всех номинальных размеров.
В системе ЕСДП предусмотрено двадцать квалитетов.
ІТ0І — ІТ4 — самая высокая точность поверхностей, которые не соединяются.
ІТ5 – ІТ11 — точность поверхностей, которые соединяются.
ІТ12 -?Т18 — грубая точность поверхностей, которые не соединяются.
±0,03 ±0,02
1). 60 2). 75
nom = 60 nom = 75
max = 60.03 max = 75.02
min = 59.97 min = 74.98
Δ = 0.06 Δ = 0.04
±0,01 ±0,03
3). 87 4). 90
nom = 87 nom = 90
max = 87.01 max = 90.03
min = 86.99 min = 89.97
Δ = 0.02 Δ = 0.06
2.5 Характеристика оборудования
Изготовление детали «Сухарь» ведется на вертикально-фрезерном станке модели 6Р82Г.
6
- группа фрезерних станков
6Р82Г Р - модернизация базовой модели
82 - типоразмер стола
Г – станок горизонтально-фрезерный
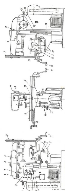
Табл. 2.5.1. Техническая характеристика консольно-фрезерного станка 6Р82Г
|
Рис. 2.5.1. Устройство консольно-фрезерного станка 6Р82Г
Органы управления горизонтально-фрезерным станком 6Р82Г
-
Кнопка «стоп» для выключения эл. двигателя,
-
Кнопка «пуск» для включения эл. двигателя,
3, 4, 5, Рукоятки коробки скоростей для установления требуемого числа оборота шпинделя,
6. Затяжные винты крепления хобота,
7. Рукоятка перемещения хобота,
8. пусковой рычаг,
9. Поддержка,
10, 11, 12, Рукоятки коробки подач для установления требуемой подачи стола,
13. Рукоятка для ручного вертикального перемещения стола,
14. Рычаг для изменения направления движения подачи,
15. Рукоятка для замедленного ручного продольного перемещения стола,
16. Упоры автоматического выключения продольной подачи стола,
17. Кран для пуска охлаждающей жидкости,
18. Рычаг для включения и выключения механической продольной подачи стола,
19. Рукоятка для ускоренного ручного продольного перемещения стола,
20. Упоры для автоматического выключения поперечной подачи стола,
21. Рукоятка для включения и выключения механической вертикальной подачи стола,
22. Рукоятка для включения и выключения механической поперечной подачи стола,
23. рукоятка для поперечного ручного перемещения стола,
24. упоры для автоматического выключения вертикальной подачи стола,
25. рукоятка для измерения направления вращения шпинделя.
2.6 Выбор режущего инструмента
Для обработки детали «Сухарь» необходим следующий режущий инструмент:
-
фреза цилиндрическая (для фрезерования плоскости)
-
фреза дисковая трехсторонняя (для фрезерования паза)
Материал для Фрез – Р10М9 и ВК8
Р
- обозначение быстрорежущей стали
Р10М9 10 - 10% вольфрама
М -
9 -
Рис. 2.6.1. Цилиндрическая фреза Р10М9
S - подача, мм/об
Sz - подача на зуб фрезы, мм/зуб
1 - заготовка
2 - обработанная деталь
3 - срезаемый слой
В - ширина фрезерования
n - частота вращения шпинделя, об/мин
Рис. 2.6.2. Дисковая трехсторонняя фреза ВК8
-
Выбор мерительного инструмента
Для обработки детали «Сухарь» необходим следующий мерительный инструмент:
-
штангенциркуль ШЦ-1 (для контроля размеров)
-
угольник
-
рейсмас
-
лекальная линейка
Штангенциркуль ШЦ – 1 ±0,3 ±0,2 ±0,1 ±0,3
Применяется для контроля размеров (60 х 75 х 28 х 10 х 87 х 90)
Предназначен для измерения наружных и внутренних размеров деталей. В машиностроении широко используют штангенинструменты. К ним относятся:
-
Штангенциркули (Рис. 2.7.1)
-
Штангенглубиномеры (Рис. 2.7.2)
-
Штангенрейсмасы (Рис. 2.7.3)
Рис. 2.7.1. Штангенциркуль
Рис. 2.7.2. Штангенглубиномер
Рис. 2.7.3. Штангенрейсмас
Они выпускаются отечественной промышленностью нескольких типов:
-
ШЦ-І (двусторонний с глубиномером)
-
ШЦ-ІІ (двусторонний)
-
ШЦ-ІІІ (односторонний)
Штангенциркуль - представляет собой штангу с миллиметровой шкалой, губки для наружных и для внутренних измерений. По штанге перемещается рамка с нониусом которая зажимается винтом ч/з пружину.
Угольник
Применяется для выверки и установки детали на столе фрезерного станка, проверки и разметки прямых углов. Различают шесть типов:
-
УП – угольники слесарные плоские
-
УШ - угольники слесарные с широким основанием
-
УЛП - угольники лекальные плоские
-
УЛШ - угольники лекальные с широким основанием
-
УЛ – угольник лекальной плитки
-
УЛЦ – угольники лекальные цилиндрические
Рис. 2.7.4. Угольник
В инструментальном производстве применяют преимущественно лекальные угольники.
Лекальные линейки
Наиболее распространенным инструментом для контроля прямолинейности является лекальные линейки. Изготовляются с рабочей поверхностью в виде одного, трех или четырех ребер, закругленных по радиусу не более 0,3 мм:
-
ЛД – двусторонним скосом
-
ЛТ – трехгранная
-
ЛЧ – четырехгранная
Линейками контролируют прямолинейность поверхностей двумя способами:
-
на просвет
-
на краску
Рис. 2.7.5. Лекальные линейки
-
Выбор приспособлений и вспомогательного инструмента
Для обработки детали «Сухарь» необходим следующий вспомогательный инструмент:
-
оправка для установки фрезы
-
тиски - для установки заготовки
-
крепеж - болты и гайки
-
установочные кольца
-
гаечные ключи
-
молоток алюминиевый
-
напильник
-
чертилка
-
линейка
Фрезерные оправки производят установку и закрепление фрез. В соответствии с размером диаметра отверстия фрезы выбирают необходимый диаметр оправки.
Рис. 2.8.1. Установка и закрепление фрез
а, б, - установка фрезы и колец на оправку;
в, - установка подвески хобота;
г, - закрепление фрезы на оправке
Рис. 2.8.2. Кольца
Рис. 2.8.3. Тиски
3. Охрана труда при выполнении фрезерных работ
Работа на фрезерных станках может сопровождаться наличием ряда вредных и опасных производственных факторов, к числу которых относятся:
-
электрический ток,
-
мелкая стружка,
-
аэрозоли смазочно-охлаждающей жидкости (СОЖ),
-
отлетающие кусочки металла,
-
высокая температура поверхности обрабатываемых деталей и инструментов,
-
повышенный уровень вибрации.
Общие требования безопасности
К самостоятельной работе на фрезерных станках допускается обученный персонал, прошедший медицинский осмотр, инструктаж по охране труда на рабочем месте, ознакомленный с правилами пожарной безопасности и усвоивший безопасные приемы работы.
-
Фрезеровщику разрешается работать только на станках к которым он допущен, и выполнять работу, которая ему поручена.
-
Рабочий, обслуживающий фрезерные станки, должен иметь; костюм хлопчатобумажный или полукомбинезон, очки защитные, ботинки юфтевые
-
Если пол скользкий (облит маслом, эмульсией), рабочий обязан потребовать, чтобы его посыпали опилками, или сделать это самому - загрязненной стружкой.
-
о каждом несчастном случае фрезеровщик обязан немедленно поставить в известность мастера и обратиться в медицинский пункт.
Требования безопасности перед началом работы
Перед началом работы фрезеровщик обязан:
-
проверить, хорошо ли убраны станок и рабочее место;
-
надеть спецодежду, застегнуть рукава и куртку, надеть головной убор;
-
проверить наличие и исправность защитного экрана и защитных очков, предохранительных устройств защиты от стружки и охлаждающих жидкостей;
-
отрегулировать местное освещение так, чтобы рабочая зона была достаточно освещена и свет не слепил глаза;
-
проверить наличие смазки станка. При смазке следует пользоваться только специальными приспособлениями;
-
проверить на холостом ходу работу станка.
Фрезеровщику запрещается:
-
работать в тапочках, сандалиях, босоножках и т.п.;
-
применять неисправные и неправильно заточенные инструменты и приспособления;
-
прикасаться к токоведущим частям электрооборудования,
-
открывать дверцы электрошкафов. В случае необходимости следует обращаться к электромонтеру.
Требования безопасности во время работы















