125604 (690605), страница 3
Текст из файла (страница 3)
Трубчатые установки эффективны в том случае, если последующий процесс обработки молока проводят при температуре, незначительно отличающейся от температуры пастеризации.
Сепарирование молока и получение сливок. Оптимальная температура сепарирования (35…45 °С) обусловливает снижение его вязкости, повыше-ние агрегации мелких жировых шариков, увеличение разности показателей плотности жира и плазмы, что повышает эффективность разделения фаз.
Сепарируют молоко, как правило, на заводах с использованием сепараторов-сливкоотделителей, получая обезжиренное молоко и сливки, являющиеся исходным сырьем для производства сливочного масла. Сливки представляют собой эмульсию молочного жира (дисперсная фаза) в плазме молока (дисперсионная среда), стабилизированную белками молока и фосфолипидами.
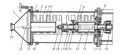
Массовую долю жира в сливках устанавливают с учетом особенностей производства масла. При выработке масла методом преобразования высокожирных сливок рекомендуемая жирность сливок 32…37. Основными элементами сепараторов являются: барабан, приводной механизм, станина, коммуникаии для подвода и отвода продуктов сепарирования. Сепаратор ОСБ открытого типа с ручной выгрузкой осадка предназначен для разделения цельного молока на сливки и обезжиренное молоко (обрат), с одновременной очисткой их от загрязнений при темературе 308...313 К и жира в обрате до 0,04 %. Частота вращения барабана 8000 мин–1. Количество тарелок в барабане 56. Масса барабана 17 кг. Мощность электродвигателя 0,55 кВт. Продолжительность непрерывной работы один час. Основные части сепаратора: станция с приводным механизмом, плитой и салазками, барабан и молочная посуда. Состоит из электродвигателя 1 (рис. 3), приводного механизма, барабана 5 и приемно-выводного устройства. Приводной механизм обеспечивает постепенную и плавную передачу вращения от электродвигателя через фрикционно-центрбежную муфту, состоящую из полумуфты, обоймы и грузиков с фрикционными накладками, на червячную пару, вал 2 и барабан 5. Барабан состоит из основания, тарелкодержателя, пакета промежуточных тарелок, верхней разделительной тарелки с отверстием и регулировочным винтом, крышки, прижимаемой к основанию шайбой.
Сливкоотделительный барабан (рис. 4 а) состоит из основания 1, тарелкодержателя 3, пакета тарелок 2, кожуха барабана 10, накидной гайки 5. Между основанием и кожухом закладывается уплотнительное кольцо 11. В основание вставляется трубка 4 приемной камеры. На центральную трубку основания надеваются тарелкодержатель и комплект тарелок. Зазор между тарелками обеспечивается за счет приваренных шипиков. Пакет тарелок накрыт разделительной тарелкой 8. В ее горловине припаяна планка с регулировочным винтом 6. На наружной конусной части разделительной тарелки напаяны три ребра, на которые ложится кожух барабана, образуя пространство для выхода обезжиренного молока. При сепарировании молоко из молокоприемника через калиброванную трубку с постоянным напором поступает в центральную трубку основания. Далее по каналам и отверстиям 9 в тарелкодержателе молоко попадает по трем вертикальным каналам в пакете тарелок 2 и распространяется между тарелками вращающегося барабана. В межтарелочном пространстве поток молока разделяется. Плазма, как более тяжелая часть молока (обрат), движется к периферии – к стенкам кожуха барабана. Жировые шарики под действием центростремительного ускорения движутся к оси вращения и "всплывают". Таким образом в межтарелочном пространстве под действием напора вновь поступивших в барабан порций молока образуются два потока: I – поток сливок, направленный к оси барабана; II – поток плазмы к стенкам кожуха барабана. Сливки оттесняются к тарелкодержателю и, поднимаясь вверх, выходят через отверстие регулировочного винта. Обезжиренное молоко проходит между разделительной тарелкой и кожухом и выбрасывается из барабана через канал 7.
Для изменения жирности сливок регулировочный винт с отверстием неизменного сечения ввертывают внутрь. Скорость истечения сливок снижается, так как центробежная сила по мере приближения винта к оси вращения уменьшается, а с ней уменьшается и напор. При этом сливок будет выходить меньше, но они будут содержать больше жира. В пространстве между пакетом тарелок и кожухом барабана (грязевое пространство) оседает грязь. Зазор между парами тарелок (в разных конструкциях) составляет 0,35...0,5 мм. Зазоры между тарельчатыми вставками у молокоочистительного сепаратора больше, чем у сливкоотделителя и могут составлять 0,8...2,0 мм. Молокоочистительный барабан (рис. 4 б) состоит из корпуса 4 с центральной трубкой дна 1, тарелкодержателя 2, пакета тарелок 3, верхней тарелки, крышки, затяжной гайки и уплотнительного резинового кольца. Центральная трубка корпуса закрыта снизу и имеет ребро для установки в прорези вала барабана.
Маслообразователь барабанного типа Т1-ОМ-2Т (рис. 5) состоит из установленных один над другим трех цилиндров одинаковой конструкции и соединенных планками. Цилиндр состоит из двух обечаек, образующих теплообменную рубашку с проложенной в ней направляющей спиралью; вытеснительного барабана; передней и задней крышек с редуктором и электродвигателем. Для охлаждения внутреннего цилиндра и находящихся в нем сливок по направляющей спирали под давлением движется ледяная вода или рассол.
Рис. 5 Маслообразователь барабанного типа:
1 – кронштейн; 2 – спускной кран; 3 – направляющая втулка; 4 – воздушный кран; 5 – передняя крышка; 6,14 – уплотнительное кольцо; 7 – передний фланец цилиндра; 8 – вытеснительный барабан; 9 – обшивка цилиндра; 10 – наружная обечайка; 11 – спираль; 12 – внутренняя обечайка; 13 – задний фланец цилиндра; 15 – задняя крышка; 16 – редуктор; 7 – электродвигатель; 18 – нож; 19 – станина
Вытеснительный барабан изготовлен из нержавеющей стали. Два ножа с пластинками из пластмассы установлены на внешней стороне вытеснительного барабана таким образом, что при вращении последнего они отбрасываются и прижимаются лезвием к внутренней поверхности цилиндра, снимают охлажденный слой сливок и перемешивают его с остальной массой продукта. Полученная смесь уходит в щель между плоскостью вытеснительного барабана и ножом. Для удаления воздуха из барабана в момент его пуска в верхней части крышек установлены краны. Высокожирные сливки с температурой 60…70 °С подаются в нижний цилиндр маслообразователя и продвигаясь последовательно через три цилиндра, преобразуются в результате тепловой и механической обработок в масло, которое с температурой 12…16 °С выходит через кран, размещенный в нижней части крышки верхнего цилиндра.
Производительность описанного маслообразователя 500…600 кг/ч. Мощность на привод – 6,6 кВт.
По сравнению с маслообразователем Т1-ОМ-2Т усовершенствованную систему механической обработки сливок имеет маслообразователь Я7-ОМ-3Т. В нем продукт дополнительно обрабатывается двумя дисками с перфорированными лопастями, расположенными на выходе из цилиндров.
Идея дальнейшей модернизации маслообразователей заключается в разделении процесса маслообразования на две стадии, которые осуществляются в двух различных аппаратах. Первая стадия – охлаждение высокожирных сливок – осуществляются в маслоохладителе, вторая стадия – механическая обработка промежуточного продукта – в обработнике.
Обработник в модернизированном маслообразователе выполнен в виде цилиндра, в котором размешена мешалка, представляющая собой рамку с приваренными к ней в шахматном порядке под углом 60° лопастями. Привод мешалки от электродвигателя через коробку скоростей позволяет изменять частоту вращения мешалки 3; 4 или 5,5 с–1 и, тем самым, обрабатывать продукт с различной интенсивностью.
В некоторых маслообразователях (например, четырехцилиндровый маслообразователь Я5-ОМГ) механическая обработка промежуточного продукта происходит до его поступления в цилиндры аппарата. Высокожирные сливки предварительно охлаждаются до температуры 12…20 °С в пластинчатом охладителе; проходят специальный аппарат – дестабилизатор, в котором на них воздействует специальный рабочий орган, вращающийся с частотой 25 с–1.
В пластинчатых маслообразователях процесс разделения процесса маслообразования на операции охлаждения и механической обработки реализовано в маслообразователе Р3-ОУА1 (рис. 6), входящего в комплект автоматизированной линии производства сливочного масла П8-ОЛФ. Он состоит из станины, охладителя, маслообработника и электропривода.
Охладитель представляет собой пакет пластин в комплекте с ножами, надетыми на приводной вал редуктора. Поступая через распорные втулки продуктовых пластин во внутреннюю полость охлаждающих пластин, хладоноситель омывает торцевые стенки охлаждающих пластин изнутри и далее выводится наружу. Охлаждаемые сливки в первой части охладителя через центральное отверстие охлаждающей пластины поступают в полость, образуемую продуктовой пластиной и вращающимся диском и по щели между ними движутся к периферии диска. Далее продукт огибает диск и движется в зазоре между диском и стенкой следующей охлаждающей пластины от периферии к центру диска, после чего через центральное отверстие охлаждающей пластины поступает в следующую секцию.
Рис. 6 Платинчатый маслообразователь Р3-ОУА1:
1 – винт; 2, 4,6, 21 – шкивы; 3 – ремень; 5 – ролик натяжной; 7, 24 – трубопроводы; 8 – опора; 9 – шарнир; 10 – плита; 11, 13, 25 – облицовка; 12 – редуктор; 14 – тройник; 15 – кран спуска воздуха; 16 – маслообработник; 17 – охладитель; 18 – трехходовой кран; 19 – вал маслообработника; 20 – станина; 22 – нажимная плита; 23 – вал редуктора; 26 – электродвигатель; 27 – крепежная доска
Во второй части охладителя с целью уменьшения гидравлического сопротивления движение продукта между каждой парой пластин осуществляется в одном из направлений: от центра к периферии или наоборот. Для этого в охлаждающих пластинах выполнены сквозные отверстия для прохода продукта. В этой части охладителя вместо дисков установлены лопастные турболизаторы (крестовины) со скребковыми ножами. Непрерывно вращающиеся ножи счищают продукт с торцевых поверхностей охлаждаемых пластин и перемешивают его, тем самым интенсифицируя процесс теплообмена.
Маслообработник (рис. 7) представляет собой цилиндр с отражателем и трехлопастной мешалкой. Отражатель имеет неподвижные лопатки. Между фланцем цилиндра и конусной частью маслообработника расположена текстурная решетка. Мешалка закреплена на валу, установленному на валу в стакане на подшипниках качения. Снаружи к стакану приварены лопатки отражателя. Для спуска воздуха и жидкости после мойки маслообразователя в верхней и нижней частях установлены соответственно краны. Привод вала охладителя и вала маслообработника осуществляется от одного электродвигателя через клиноременные передачи. Привод вала маслообработника двухступенчатый. Для изменения частоты вращения валов в комплект маслообработника водят сменные шкивы. Для проворачивания рабочих органов маслообработника вручную на конце приводного вала редуктора имеется паз для рукоятки.
Рис. 7 Маслообработник маслообразователя Р3-ОУА1:
1 – конус; 2 – текстурная решетка; 3 – цилиндр; 4 – мешалка; 5 – отражатель; 6, 8 – лопатки отражателя; 7, 9 – подшипники качения; 10, 11 – полумуфты; 12 – крышка; 13 – вал; 14 – стакан; 15, 16 – уплотнитель; 17 – пружина; 18 – втулка; 19 – гайка; 20 – патрубок пробно-спускного клапана; 21 – уплотнительное кольцо; 22 – цапфа; 23 – патрубок для выхода готового продукта
Преимуществом вакуум-маслообразователей перед другими аппаратами для получения масла является возможность устранения некоторых пороков сливок (посторонние привкусы и запахи) в процессе получения готового продукта.
Ванна нормализации высокожирных сливок ВН-600
Ванна предназначена для нормализации высокожирных сливок в линиях поточного производства сливочного масла на предприятиях молочной промышленности. В ванне может осуществляться подогрев и охлаждение любого молочного продукта в соответствии с технологическим процессом.
Ванна представляет собой 2х-стенный цилиндрический вертикальный сосуд с наклонным дном, снабженный механической лопастной мешалкой. В качестве теплоносителя используется горячая вода или пар, который вводится в предварительно заполненную водой рубашку емкости. Для выхода воздуха и воды из межстенной емкости имеется переливная труба. Крышка ванны выполнена в виде усеченного конуса из двух частей, одна из которых откидная, на другой, неподвижной, имеется люк для подачи продукта в ванну и установлен конечный выключатель, который служит для обесточивания электродвигателя привода мешалки при открывании крышки. Рамная лопастная мешалка расположена перпендикулярно наклонному дну ванны. Привод вала мешалки находится в нижней части ванны снаружи на наклонном днище. Для контроля за температурой продукта в нижней части ванны расположен штуцер для присоединения датчика температуры. Ванна изготовлена из нержавеющей стали.
Техническая характеристика
Рабочая вместимость, л 600
Частота вращения мешалки, с-1. 0,56















