125381 (690505), страница 3
Текст из файла (страница 3)
Коэффициент полезного действия котла (брутто):
ηК = 100 – Σq = 100 – 7,05 = 92,95 %. (2.4.2-11)
2.4.3 Полезная мощность котла и расход топлива
Полное количество теплоты, полезно использованной в котле:
, кВт, (2.4.3-1)
где
=
- количество выработанного насыщенного пара = 1,87 кг/с,
- энтальпия насыщенного пара, кДж/кг; определяется по давлению и температуре насыщенного пара (РНП = 14,0 кгс/см2 (1,4 МПа); tНП = 195,1 С):
кДж/кг.
- энтальпия питательной воды, кДж/кг,
, кДж/кг, (2.4.3-2)
где сП.В. 4,19 кДж/(кг*С) – теплоемкость воды;
tП.В. – температура питательной воды = 83С;
кДж/кг; (2.4.3-3)
- энтальпия кипящей воды, кДж/кг, определяется по таблице 9 по давлению насыщенного пара РНП = 14,0 кгс/см2 (1,4 МПа):
| Давление насыщенного пара, РПЕ, МПа | Температура насыщения, tS, C | Удельный объем кипящей воды, v’, м3/кг | Удельный объем сухого насыщенного пара, v’’, м3/кг | Удельная энтальпия кипящей воды, i’, кДж/кг | Удельная энтальпия сухого насыщенного пара, i’’, кДж/кг |
| 1,25 | 189,82 | 0,0011412 | 0,15698 | 806,8 | 2785,2 |
| 1,27 | 190,54 | 0,0011422 | 0,15436 | 810,0 | 2785,7 |
| 1,3 | 191,61 | 0,0011438 | 0,15117 | 814,8 | 2786,5 |
| 1,35 | 193,35 | 0,0011464 | 0,14579 | 822,6 | 2787,7 |
| 1,37 | 194,03 | 0,0011474 | 0,14378 | 825,6 | 2788,2 |
| 1,4 | 195,05 | 0,0011489 | 0,14077 | 830,1 | 2788,9 |
кДж/кг, (2.4.3-4)
- расход воды на продувку котла, кг/с:
, кг/с; (2.4.3-5)
где ПР – доля непрерывной продувки = 4 %;
D – паропроизводительность котла = 1,87 кг/с.
кг/с (2.4.3-6)
кВт (2.4.3-7)
Расход топлива, подаваемого в топку котла:
, м3/с, (2.4.3-8)
где QK – полезно использованная теплота в котле, кВт;
QР – располагаемое тепло 1м3 газообразного топлива, кДж;
К – коэффициент полезного действия котла, %.
м3/с. (2.4.3-9)
Таблица 10 – Расчет теплового баланса.
| Наименование | Обозначение | Расчетная формула | Единица измерения | Расчетное значение |
| 1 | 2 | 3 | 4 | 5 |
| Располагаемая теплота топлива | QP | QPС + Qв.вн | кДж/м3 | 36 800 |
| Потеря теплоты от химической неполноты сгорания |
|
| % | 0,5 |
| Потеря теплоты от механической неполноты сгорания |
| По рекомендации [1] | % | 0 |
| Температура уходящих газов | tух | По рекомендации [2] | С | 162 |
| Энтальпия уходящих газов | Iух |
| кДж/м3 | 2160,0833 |
| Температура холодного воздуха | tХВ | По заданию | С | 30 |
| Энтальпия холодного воздуха | I0.х.в | tХВ*VH0 | кДж/м3 | 387,652 |
| Потеря теплоты с уходящими газами |
|
| % | 4,62 |
| Потеря теплоты от наружного охлаждения |
|
| % | 1,93 |
| КПД котла | 100 – Σq | % | 92,95 | |
| Коэффициент сохранения теплоты |
| - | 0,98 | |
| Температура питательной воды | tПВ | По заданию | С | 83 |
| Температура насыщенного пара | tНП | По заданию | С | 195,1 |
| Температура перегретого пара | tПЕ | По заданию | С | 210 |
| Энтальпия питательной воды |
|
| кДж/кг | 347,77 |
| Энтальпия насыщенного пара |
| По таблице 3 | кДж/кг | 2788,4 |
| Энтальпия перегретого пара |
| По таблице 3 | кДж/кг | 2828,9 |
| Величина продувки | ПР | По заданию | % | 4 |
| Полезно используемая теплота | QR |
| кВт | 4631,44 |
| Полный расход топлива | B |
| м3/с | 0,135 |
| Расчетный расход топлива | BP |
| м3/с | 0,135 |
2.5 Расчет топки (поверочный)
2.5.1 Геометрические характеристики топки
Расчет площади поверхностей, ограждающих объем топочной камеры.
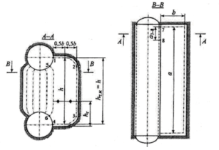
Границами объема топочной камеры являются осевые плоскости экранных труб или обращенные в топку поверхности защитного огнеупорного слоя, а в местах, не защищенных экранами, - стены топочной камеры и поверхность барабана, обращенная в топку. В выходном сечении топки и камеры догорания объем топочной камеры ограничивается плоскостью, проходящей через ось левого бокового экрана. Поскольку поверхности, ограждающие объем топочной камеры, имеют сложную конфигурацию, для определения их площади поверхности разбивают на отдельные участки, площади которых затем суммируются. Площадь поверхностей, ограждающих объем топочной камеры, определяются по чертежам котла.
Рисунок 2 – К определению границ расчетного объема топочной камеры котла.
Площадь потолка, правой боковой стенки и пода топки:
, м2, (2.5.1-1)
где
- длины прямых участков потолка, боковой стенки и пола; а – глубина топки = 2695 мм.
, м2, (2.5.1-2)
Площадь левой боковой стенки:
, м2. (2.5.1-3)
Площадь фронтовой и задней стенки:
, м2. (2.5.1-4)
Общая площадь ограждающих поверхностей:
, м2. (2.5.1-5)
Расчет лучевоспринимающей поверхности топочных экранов и выходного экрана топки
Таблица 11 – Геометрические характеристики топочных экранов
| № | Наименование, условное обозначение, единицы измерения величин | Фронтовой экран | Задний экран | Боковой экран | |
| левый | правый | ||||
| 1 | 2 | 3 | 4 | 5 | 6 |
| 1 | Наружный диаметр труб d, мм | 51 | 51 | 51 | 51 |
| 2 | Шаг экранных труб S, мм | 55 | 55 | 55 | 55 |
| 3 | Относительный шаг экранных труб | 1,078 | 1,078 | 1,078 | 1,078 |
| 4 | Расстояние от оси экранной трубы до обмуровки е, мм | 25 | 25 | 25 | 25 |
| 5 | О | 0,4673 | 0,4673 | 0,4673 | 0,4673 |
| 6 | Угловой коэффициент х | 0,96 | 0,96 | 0,96 | 0,96 |
| 7 | Расчетная ширина экрана bэ, мм | 1790 | 1790 | 2695 | 2695 |
| 8 | Число труб экрана z, шт. | 33 | 33 | 50 | 50 |
| 9 | Средняя освещенная длина труб экрана | 2400 | 2400 | 2750 | 6776 |
| 10 | Площадь стены Fпл, занятой экраном, м2 | 4,296 | 4,296 | 5,525 | 15,853 |
| 11 | Лучевоспринимающая поверхность экрана Нэ, м2 | 4,124 | 4,124 | 5,304 | 15,22 |
Где
- относительный шаг экранных труб,
- относительное расстояние от оси трубы до обмуровки, bэ – расчетная ширина экрана - расстояние между осями крайних труб экрана, принимается по чертежам.
тносительное расстояние от оси экранной трубы до обмуровки е














