125369 (690496)
Текст из файла
Содержание
-
Исходные данные и их анализ
1.1 Описание и конструкторско-технологический анализ детали
1.2 Анализ требований к геометрическим параметрам поверхностей детали
1.3 Тип производства и программа выпуска
-
Выбор заготовки
-
Разработка маршрута технологического процесса изготовления детали
-
Расчёт припусков на механическую обработку
-
Проектирование станочных операций
5.1 Выбор оборудования
5.2 Выбор станочных приспособлений
5.3 Выбор режущих инструментов
5.4 Выбор вспомогательных инструментов
5.5 Выбор контрольно-измерительных средств
5.6 Назначение режимов резания
5.7 Техническое нормирование операций
Библиографический список
1. Исходные данные и их анализ
1.1 Описание и конструкторско-технологический анализ детали
Плунжер является фиксатором рычага и подпружинивает упор шептала через плечо.
Плунжер входит в состав затыльника, который, в свою очередь, предназначен для размещения механизма подачи, электропуска, выключателя и спускового механизма. В пазу затыльника размещается шептало, которое прокачивается на оси. Зацеп шептала удерживает остов затвора в крайнем заднем положении, а выступ шептала взаимодействует с плечом упора шептала.
В другом пазу затыльника на оси размещается упор шептала, который своим плечом препятствует опусканию шептала. Упор шептала через плечо подпружинен плунжером. Третье плечо упора шептала, взаимодействуя с остовом затвора при откате, выводит упор шептала из зацепления с шепталом для обеспечения забега остова затвора за шептало.
Плунжер является телом вращения, которое с левого торца имеет выступ в виде плоской поверхности с фасками. Цилиндрическая часть детали представлена двумя диаметрами. На наружной поверхности большего диаметра – паз выполненный в форме квадрата со скруглёнными углами. Деталь имеет центральное отверстие с правого торца; отверстие глухое ступенчатое с цилиндрической поверхностью без резьбы. На наружных поверхностях резьба также отсутствует.
В качестве материала детали выбираем сталь 30 ХРА, которая является оптимальным вариантом с физико-механическими свойствами и стоимостью, соответствующими применению и назначению детали, а также техническим требованиям, предъявляемым к ней.
Сталь 30 ХРА является хромистой высококачественной с массовыми долями элементов: углерода 0.27 – 0.33%, кремния 0.17 – 0.37%, марганца 0.5 – 0.8%, хрома 1 – 1.3%. Бор вводится по расчёту (без учёта угара) в количестве не более 0.005%;при этом остаточная массовая доля его в стали должна быть не менее 0.001%.
Основным легирующим элементом является хром, который повышает твёрдость и прочность, незначительно уменьшая пластичность, увеличивает коррозионную стойкость. Бор повышает износостойкость стали.
Также в стали допускается наличие вольфрама до 0.2%, молибдена до 0.15%, титана до 0.03% и ванадия до 0.05%.
Массовая доля фосфора, серы, остаточных меди и никеля в стали не должна превышать норм (по ГОСТ 4543 – 71 – для высококачественных сталей): P – 0.025%; S – 0.025%; Cu – 0/30%; Ni – 0.30%.
Твёрдость по Бринеллю горячекатаного проката после термообработки диаметром свыше 5 мм должна быть не более 241 (HB); диаметр отпечатка не менее 3.9 мм.
Механические свойства при нормальной температуре:
-
Предел текучести σт=1275(Н/мм2);
-
Временное сопротивление σв =1570(Н/мм2);
-
Относительное удлинение δб=9%;
-
Относительное сужение ψ=40%;
-
Ударная вязкость KCИ =49(Дж/см2).
Для достижения необходимой твёрдости (43.5…51.5 HRCэ) и заданных механических свойств назначаем термообработку – закалка + низкий отпуск. Температура первой закалки 9000С, температура второй закалки 8600С; среда охлаждения – масло (т.е. скорость охлаждения не высокая, т.к. легированная сталь обладает большей прокаливаемостью, чем углеродистая).
Температура отпуска 2000С; среда охлаждения – воздух.
При проведении неполной закалки (сталь доэвтектоидная) при нагреве в структуре мартенсита сохраняется некоторое количество оставшегося после закалки феррита, снижающего твёрдость закалённой стали. Назначая закалку при температурах нагрева выше точки Ас3(полная закалка), получаем сталь со структурой однородного аустенита, который при последующем охлаждении превращается в мартенсит. Сталь благодаря этому становится твёрдой, кроме того, повышается прочность.
Целью отпуска является уменьшение напряжений в стали, повышение вязкости. В данном случае назначение низкого отпуска обосновывается тем, что во время отпуска мартенсит закалки превращается в мартенсит отпуска, при этом внутренние напряжения частично снимаются и остаточный аустенит превращается в мартенсит отпуска. В результате сталь сохраняет высокую твёрдость и даже возможно повышение твёрдости (в пределах, указанных в технических требованиях) за счёт распада остаточного аустенита; устраняется закалочная хрупкость.
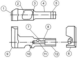
1.2 Анализ требований к геометрическим параметрам поверхностей детали
На рис.1 дан эскиз детали с нумерацией поверхностей. Для анализа детали по механически обрабатываемым поверхностям составляем таблицу, в которую сводим данные с каждой поверхности и методы механической обработки, с помощью которых возможно обеспечение этих требований.
Рис.1. Эскиз деталей поверхности.
Результаты анализа приведены в таблице 1.
Результаты анализа технических требований, предъявляемых к детали, приведены в таблице 2.
Таблица 1.
Анализ требований по точности и шероховатости поверхностей детали.
| № | Наименование поверхности | Основной размер, мм | квалитет | Отклонение, мм | Ra | Механическая обработка поверхности |
| 1 | Торец левый | L=10.5 | h12 | -0.18 | 10 | Фрезерование черновое |
| 2 | Выемка | L=9.8 | H11 | +0.11 | 10 | Фрезерование черновое |
| 3 | Выемка, правая граница | L=24 | H11 | +0.13 | 10 | Фрезерование черновое |
| 4 | Ступень цилиндрическая | d=8 | d11 | -0.05 -0.15 | 2.5 | Наружное обтачивание черновое, шлифование круглое получистовое |
| 5 | Поверхность цилиндрическая | L=2 d=8.05 | h9 | -0.03 | 2.5 | Наружное обтачивание черновое, шлифование круглое получистовое, чистовое |
| 6 | Торец левый | L=13 | h14 | -0.43 | 10 | Фрезерование черновое |
| 7 | Отверстие глухое | d=2.6 | H11 | +0.06 | 2.5 | Сверление, растачивание черновое, получистовое и чистовое |
| 8 | Отверстие (с правого торца) | d=5.8 | H9 | +0.25 | 2.5 | Сверление, зенкерование черновое, развёртывание получистовое |
| 9 | Торцы (габаритный размер по длине) | L=49.2 | h11 | -0.17 | 10 | Подрезка торцов черновая, получистовая и чистовая |
| 10 | Отверстие (левая граница) | d=2.6 L=22.7 | H11 | +0.14 | 2.5 | Сверление, развёртывание получистовое |
| 11 | Отверстие (перпендикулярное оси заготовки) | d=2.05 | H12 | +0.12 | 10 | Сверление |
| 12 | Ступень цилиндрическая | d=8 | f9 | -0.013 -0.049 | 2.5 | Шлифование круглое получистовое, чистовое |
Таблица 2.
Анализ технических требований по точности положения поверхностей детали.
| № | Наименование и номер поверхности | Параметр | База | Допуск, мм | Метод достижения |
| 1 | Отверстие глухое 7 | Несоосность | 8,12 | 0,05 | Сверление, развертывание получистовое |
1.3 Тип производства и программа выпуска
Тип производства необходимо учитывать при проектировании технологического процесса изготовления детали.
Тип производства устанавливаем по таблице 4 (с.28)[1]; объём выпуска – 150 деталей в год – соответствует мелкосерийному производству. Для данного типа производства коэффициент закрепления операций кзо, рассчитываемый по формуле кзо = Оуч/Р (Оуч – число различных операций на участке; Р – число рабочих мест участка), находится в пределах:20<кзо<40.
2. Выбор заготовки
Рациональным выбором способа изготовления заготовки достигается снижение трудоёмкости механической обработки, что обеспечивает рост производства на тех же производственных площадях без существенного увеличения количества оборудования и технологической оснастки. Наряду с этим рациональный выбор способов изготовления заготовок применительно к различным производственным условиям определяет степень механизации и автоматизации производства.
Для детали «Плунжер» с относительно небольшими перепадами диаметров в качестве исходной заготовки выбираем стальной прокат круглого сечения диаметром dзаг=14 (мм) по ГОСТ 2590-88 (табл.4, с.548 [9]. Из него гибкой левого торца будет образована заготовка, максимально приближённая по конфигурации к готовой детали.
Массу заготовки определим по формуле:
Мзаг=Мцил+Мгибк
Мцил=ρVцил= ρπR2H=7.81·10-3·3.14·72·42=50.47(г)
Мгибк=ρV=ρabh= 7.81·10-3·9·14·27=26.57(г)
Мзаг= 50.47+26.57=77.04(г)
Коэффициент использования материала равен:
Ки.м.=34/77.04=0.441, или 44.1%
Хотя коэффициент использования материала заготовки небольшой, но по экономическим показателям выгоднее принять прокат.
Механические свойства проката при нормальной температуре, определяемые на продольных термически обработанных образцах должны соответствовать значениям:
-
Предел текучести σт=1275 (Н/мм2);
-
Временное сопротивление σв=1570 (Н/мм2);
-
Относительное удлинение δ=9%;
-
Относительное сужение ψ=40%;
-
Ударная вязкость КСИ= 49(Дж/см2).
3. Разработка маршрута технологического процесса изготовления детали
Основой для проектирования технологического процесса механической обработки являются сведения о детали, методах достижения требований по точности и шероховатости поверхностей, типе производства.
Первой назначаем токарную операцию (01) – операция по созданию технологической базы – центрового отверстия, также производится подрезание торца, обтачивается цилиндрическая поверхность, скругляются острые рёбра и деталь отрезают в заданный размер. Оборудование – станок токарно–винторезный 1А616.
02 – токарная операция: подрезание торца в определённый размер, обтачивают диаметр (меньший), центрование отверстия, скругление острых рёбер. Оборудование – станок токарно – винторезный 1А616.
03- шлифовальная операция: шлифование цилиндрической поверхности. Оборудование: станок круглошлифовальный 3А130.
04;05 – фрезерные операции: фрезерование плоской поверхности с одной и другой сторон соответственно. Оборудование – станки вертикально – фрезерные 6Р10.
06;07 – фрезерные операции: фрезерование плоских поверхностей в заданные размеры. Оборудование – станки вертикально – фрезерные 6Р10.
08;09;10;11 – фрезерные операции: фрезерование фаски, скоса в размер, фаски с другой стороны и скоса в определённые размеры соответственно. Оборудование – станки вертикально – фрезерные 6Р10.
12 – фрезерная операция: фрезерование выемки. Оборудование – станок вертикально – фрезерный 6Р10.
13 – сверлильная операция: зенкерование площадки, сверление и развёртывание отверстия, скругление острых рёбер в отверстии. Оборудование – станок вертикально – сверлильный 2Н118-4.
14 – токарная операция: обтачивается наружная цилиндрическая поверхность; сверление, зенкерование и развёртывание отверстия; сверление и развёртывание соосного с предыдущим отверстия, скругление острых рёбер. Оборудование – станок токарно – винторезный с ЧПУ 16К20Ф3.
15 – контрольная операция; проверка размеров, радиусов скруглений. Средства контроля и измерения, выбранные для всех контрольных операций, будут описаны ниже.
16 – термическая: подробное описание см.п.
17 – шлифовальная операция: шлифование наружной цилиндрической поверхности (обоих ступеней). Оборудование – станок круглошлифовальный с ЧПУ 16К20Ф3.
18 – токарная операция: отрезают прибыль под ложный центр. Оборудование – станок токарно-винторезный 1А616.
19 – токарная операция: обтачивают недоход шлифовального круга; развёртывание отверстия (меньшего диаметра). Оборудование – станок токарно-винторезный 1А616.
40>Характеристики
Тип файла документ
Документы такого типа открываются такими программами, как Microsoft Office Word на компьютерах Windows, Apple Pages на компьютерах Mac, Open Office - бесплатная альтернатива на различных платформах, в том числе Linux. Наиболее простым и современным решением будут Google документы, так как открываются онлайн без скачивания прямо в браузере на любой платформе. Существуют российские качественные аналоги, например от Яндекса.
Будьте внимательны на мобильных устройствах, так как там используются упрощённый функционал даже в официальном приложении от Microsoft, поэтому для просмотра скачивайте PDF-версию. А если нужно редактировать файл, то используйте оригинальный файл.
Файлы такого типа обычно разбиты на страницы, а текст может быть форматированным (жирный, курсив, выбор шрифта, таблицы и т.п.), а также в него можно добавлять изображения. Формат идеально подходит для рефератов, докладов и РПЗ курсовых проектов, которые необходимо распечатать. Кстати перед печатью также сохраняйте файл в PDF, так как принтер может начудить со шрифтами.















