125317 (690459), страница 4
Текст из файла (страница 4)
При проектировании технологии производства особое внимание следует обращать на ресурсосбережение, максимальное использование природного сырья и отходов различных производств, на социальную и эколого–экономическую переориентацию производителей продукции на потребность рынка.
Предприятия керамической промышленности выделяют как «традиционные» выбросы, типичные для многих отраслей производства, - золу от сжигания топлива в котельных, дымовые газы, так и специфические аэрозоли, влажные сырьевые смеси, выбракованные черепки.
В качестве экологического контроля в курсовой работе рассмотрим контроль аэрозолей керамической промышленности.
Аэрозоли в промышленности строительных материалов являются гетерогенными полидисперсными системами. Твёрдые частицы этих аэрозолей образуются путём диспергирования при дроблении, измельчении, сушке, обжиге или в процессе химических реакций.
Аэрозоли керамической промышленности образуются при тепловой и механической обработке сырьевых материалов. Они характеризуются высоким влагосодержанием при температуре отходящих газов 110 – 2300С и содержанием частиц размером менее 20 мкм от 40 до 96%. Концентрация вредных веществ в отходящих газах составляет (в г/м3): пыли в распределительных сушилках – 7 – 15, сернистого ангидрида, образующегося в туннельных печах – до 15. Содержание свободного кремнезёма в пыли не превышает 35%. Пыль хорошо смывается водой. [24]
Инженерно-технические мероприятия по борьбе с запыленностью делятся на 3 группы:
- снижение или устранения пылеобразования;
- подавление и улавливание пыли;
- вынос летучей пыли из выработок и обеспыливание воздушного потока.
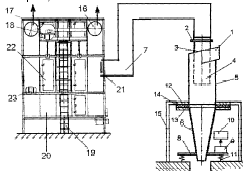
В технологии производства керамической черепицы, запроектированной в данной курсовой работе для очистки окружающей среды и рабочей зоны от пыли применяется пылеулавливающая установка с виброциклоном типа ВЦНРФ-1, совмещающая 2 стадии очистки. Установка состоит из циклона и тонкого фильтра, связанных между собой воздуховодом таким образом, что выход циклона соединен со входом фильтра.
Данный очистной аппарат представлен на рисунке 4и в приложении 1.
Рисунок 4 - Пылеулавливающая установка с виброциклоном типа ВЦНРФ-1.
Пылеулавливающая установка работает следующим образом.
Запыленный газовый поток подается в установку через патрубок 1, закручивается за счет тангенциального периферийного ввода и винтообразной крышки 3. Затем направляется по исходящей винтовой линии вдоль стенок аппарата. В результате чего частицы пыли под действием центробежной силы движутся от центра аппарата к периферии и, достигая стенок аппарата, транспортируются вниз в коническую часть 6 корпуса для сбора уловленной пыли. Очищенный воздух выводится из циклона через выходной патрубок 2.
Для ускорения осаждения частиц пыли применяют их вибротранспортирование путем сообщения корпусным деталям циклона вибрации с заданными параметрами с помощью вибратора Q, установленного на кольце 8. Регулирование параметров возникающего вибродинамического режима осуществляют посредством блока управления 10. При этом легкие мелкодисперсные фракции частиц пыли, не уловленные в конической части корпуса, задерживаются на тонком фильтре , связанном с ним воздуховодом . После предварительной очистки в фильтре газ поступает в короб для входа загрязненного воздуха тонкого фильтра, затем в блок фильтров с фильтрующими элементами рукавного типа. Пыль осаждается на внутренней поверхности рукавов и периодически сбрасывается с них системой регенерации фильтрующих элементов, выполненной в виде рамы встряхивания с вибратором. Пыль ссыпается в бункер , откуда через шлюз посредством шнекового механизм выгрузки удаляется из фильтра. Для обслуживания фильтра предусмотрены лестницы и площадка. Устройство выгрузки может быть двух типов: выгрузка на базе шнекового транспортера и выгрузка на основе цепного транспортера. Установка комплектуется шкафом управления с микропроцессором, управляемым системами регенерации, выгрузки и пожаротушения. Удельная газовая нагрузка на фильтр выбирается с учетом физико-химических свойств пылегазового потока.
В аппарате происходит снижение виброакустической энергии, так как фильтрующие элементы одновременно является аэродинамическим глушителем шума активного (сорбционного) типа.
Гидравлическое сопротивление фильтрующего элемента составляет 15…25% от гидравлического сопротивления всего аппарата, а материал фильтрующего элемента обладает повышенными звукопоглощающими свойствами.
Внедрение модернизированной пылеулавливающей установки в технологический процесс производства керамической черепицы позволит довести степень очистки запыленного воздуха от пыли до 97 – 98%.
ЗАКЛЮЧЕНИЕ
Курсовая работа состоит из 36 страниц, 5 таблиц, 4 рисунков, наименований источников информации.
Целью выполнения курсовой работы была разработка технологии производства керамической черепицы на основании современных требований к качеству продукции и экологической безопасности производства.
В ходе выполнения курсовой работы цель была достигнута путем решения следующих задач:
1. выбор экономичных и экологически чистых сырьевыех материалов;
2. выбор и обоснование эффективных видов продукции и экологически чистой технологии производства;
3. выявление источников загрязнения окружающей среды;
4. предложение очистного сооружения.
На основании проведенной работы были получены данные о современном состоянии производства керамической черепицы и о перспективах его развития.
После изучения характеристик различных сырьевых ресурсов, были выбраны наиболее экономически выгодные, технологчески эффективные и экологически безопасные материалы.
Проанализировав несколько технологических схем производства, была выбрана наиболее оптимальная, доступная и экологически чистая технология производства керамической черепицы, которая рассмотрена в 5 разделе данной курсовой работы.
На основе патентного поиска предложено очистное сооружение – пылеулавливающая установка с виброциклоном типа ВЦНРФ-1.
СПИСОК ИСПОЛЬЗУЕМЫХ ИСТОЧНИКОВ ИНФОРМАЦИИ
-
Баринова Л.С. и др. Современное состояние и перспективы развития строительного комплекса России//Строительные материалы//2004.-№9-56с.
-
Безопасность жизнедеятельности. Безопасность технологических процессов и производств (охрана труда): Учебное пособие для вузов.-М.:Высш.шк.,1999.-381с.
-
Белецкий Б.Ф. Строительные машины и оборудование: Справочное пособие для строит. фак. вузов и техникумов, производственников-механизаторов, инженер.- техн. работников строит. орг – Ростов н/Д: Феникс, 2002.-591с.
-
Гегерь В.Я., Городков А.В. Основы архитектурного проектирования промышленных зданий.- Брянск. БГИТА.2004.-118с.
-
ГОСТ 17.2.3.01-90. Охрана природы. Атмосфера. Правила контроля качества воздуха населенных пунктов. – М: Изд-во стандартов, 1990.
-
ГОСТ 17.2.3.02-91. Охрана природы. Атмосфера. Правила установления допустимых выбросов вредных веществ промышленными предприятиями. – М: Изд-во стандартов, 1991.
-
ГОСТ 17.2.4.08-90. Охрана природы. Атмосфера. Методы определения влажности газопылевых потоков, отходящих от стационарных источников загрязнения. – М: Изд-во стандартов, 1990.
-
ГОСТ 21216.0-93. Сырьё глинистое. Общие требования к методам анализа. – М.: Изд-во стандартов, 2001.
-
ГОСТ 21216.10-93. Сырьё глинистое. Метод определения минерального состава. – М.: Изд-во стандартов, 2001.
-
ГОСТ 23732-99. Вода для бетонов и растворов. Технические условия.-М: Изд-во стандартов, 1999.
-
ГОСТ 30108-94. Материалы и изделия строительные. Определение удельной эффективной активности естественных радионуклидов. –М.:Изд-во стандартов,1994.
-
ГОСТ 3226-93. Глины формовочные огнеупорные. Общие технические условия. – М.: Изд-во стандартов, 2001.
-
ГОСТ 8735-88*. Песок для строительных работ. Методы испытаний. – М.: Изд-во стандартов, 1998.
-
ГОСТ 8736-93. Песок для строительных работ. Технические условия. – М.: Изд-во стандартов, 1995.
-
ГОСТ 9169-75. Сырьё глинистое для керамической промышленности. . – М.: Изд-во стандартов, 2001.
-
Закон РФ «Об охране окружающей среды» от 10.01.02 №7 – ФЗ:-М.:Норма,2002.-28с.
-
Закон РФ «Об экологической экспертизе» от 16.11.95 №167– ФЗ:-М.:Норма,1995.-34с.
-
Исламкулова С.Х. Кровельные материалы для строительства и ремонта индивидуальных домов. – М.: Стройиздат, 1992. – 112 с.
-
Кровельные системы. Материалы и технологии. – М.: Стройинформ, Ростов н/Д: Феникс, 2006. – 636 с.
-
Микульский В.Г. и др. Строительные материалы (Материаловедение. Строительные материалы): Учеб. издание. – М.: Издательство Ассоциации строительных вузов, 2004. – 536 с.
-
Михеев А.С. Производственные факторы//Экология и промышленность//2006.- №2-45с.
-
НРБ-99. Нормы радиационной безопасности. Основные положения.-М.: Госкомэпиднадзор России,1999.-15с.
-
Панасюк М.В. Кровельные материалы. Практическое руководство. Характеристики и технологии монтажа новых и новейших гидроизоляционных, теплоизоляционных, пароизоляционных материалов. – Ростов н/Д.: Феникс, 2005. – 448 с.
-
Паращенко О.Д., Шульга А.С., Валешко К.А. Контроль качества строительных материалов. – К.: Будивельник, 1983. – 79 с.
-
Попов К.Н. Строительные материалы и изделия. – М.: Высш. шк., 2005. – 438 с.
-
СанПиН 2.1.6.1032-01. Гигиенические требования к обеспечению качества атмосферного воздуха населенных мест.- М.: Федеральный центер эпиднадзора,2001.-14с.
-
СанПиН 2.2.4.1294-03. Гигиенические требования к аэроционному составу воздуха производственных и общественных помещений.- М.: Здравоохранение РФ, 2003.- 11с.
-
СН 2.4/2.1.8.562-96. Шум на рабочих местах, в помещениях жилых, общественных зданий и на территориях жилой застройки.- М.:Информационно-издательский центр Минздрава России,1996.-20с.
-
СниП 23-03-2003. Защита от шума.- М.: Госстрой России, 2003.-20с.
-
СниП 23-05-95. Естественное и искусственное освещение.-М.:Минстрой России,1995.-10с.
-
Трофимов Н.А. Производство строительных материалов. Достоинства и недостатки: Учебное пособие/ПГТУ.-Пермь, 1999.-144 с.
-
Ястребова И.А. Методические указания по выполнению курсовой работы по дисциплине «Строительные материалы и оценка их экологической безопасности».- Брянск. БГИТА.2006.-20с.
ПРИЛОЖЕНИЕ А















