125215 (690341)
Текст из файла
Плазменные печи
Общая характеристика
Работа плазменных печей (установок плазменного нагрева) основана на использовании газоразрядной плазмы в качестве теплоносителя. Достаточная электрическая проводимость плазмы обеспечивает преобразование электрической энергии в тепловую за счет токов проводимости Iпр. подводимых через электроды (кондукционный способ) или возбуждаемых переменным электромагнитным полем (индукционный способ). Поскольку формирование плазмы связано с эндотермическими процессами диссоциации и ионизации газов, плазма характеризуется достаточно высоким энергосодержанием, позволяющим использовать её в энергоёмких пирометаллургических процессах, в том числе для плавки высоколегированных сталей и сплавов, прямого восстановления металлов из руд и получения ферросплавов.
Плазмотрон – устройство для преобразования электрической энергии источника питания в тепловую энергию струи (потока) плазмы, т.е. плазменный генератор. В зависимости от способа преобразования электрической энергии в тепловую различают плазмотроны: дуговые, индукционные (высокочастотные) и электронные (сверхвысокочастотные).
Наибольшее распространение получили дуговые плазматроны, в которых возможно достижение температуры плазмы порядка 10000 К путём сжатия столба дуги стенками канала (гидродинамическое сжатие), газовым потоком (аэродинамическое сжатие) или внешним магнитным полем (электромагнитное сжатие). Для получения дугового разряда можно применить как постоянный, так и переменный ток. Стремясь получить стабильную работу плазматрона, чаще всего используют постоянный ток во избежании обрыва дуги при переменном токе. Различают плазматроны с независимой дугой (косвенного действия) и с зависимой дугой (прямого действия). Выбор схемы работы плазмотрона зависит от назначения печи и необходимых требований по эффективности её работы
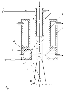
Принцип работы плазматрона косвенного действия
Принцип работы плазматрона косвенного действия используют в тех случаях, когда замкнуть электрическую цепь между электродом плазматрона и нагреваемым материалом нельзя. Схема такого плазматрона показана на рис.1. Вокруг водоохлаждаемого катода 1 находится водоохлаждаемый корпус 3. В щель между катодом и корпусом подают плазмообразующий газ 2. Корпус отделяют от водоохлаждаемого сопла- анода 6 изоляционные вставки 4. Катод и анод соединяют электрической сетью 9.Между катодом и анодом зажигается электрическая дуга 5. Дуга ионизирует плазмообразующий газ главным образом путём термической ионизации. Конструктивное оформление катодно-анодного участка выполнено так, что дуга сжимается относительно холодными слоями газа и собственным магнитным полем дуги. Это противодействие расширению площади дуги (как это наблюдается при свободно горящей дуге) и повышает плотность тока в дуге.
Все элементы плазматрона охлаждаются водой, поэтому часть тепла, которая выделяется в горящей дуге, передаётся системе охлаждения, в следствии чего КПД плазмотрона сравнительно невысок. Его можно повысить расходом плазмообразующего газа Qv (рис.2), однако при этом падает средняя температура струи плазмы, выходящей из сопла плазматрона. Среднюю температуру плазмы можно повысить увеличением подводимой мощности P (рис.3). Нелинейность повышения температуры при этом, в первую очередь, объясняется повышением теплопроводности и излучения столба плазмы.
О
дним из недостатков плазматронов с независимой дугой является высокая тепловая нагрузка в месте анодного тепла, что может привести к разрушению материала анода. Поэтому иногда на анод устанавливают магнитную катушку, которая своим полем вращает анодное пятно по поверхности анодного сопла, что увеличивает время службы плазматронов.
Рис. 1.Плазматрон с независимой дугой (косвенного действия):
1- катод; 2- плазмообразующий газ;3- водоохлаждаемый корпус; 4- электрическая дуга; 5-изоляционная вставка; 6- водоохлаждаемый анод; 7-плазменная струя; 8- нагреваемый материал; 9-электрическая сеть
Рис. 2.Зависимость к.п.д. Рис. 3. Зависимость средней
плазматрона косвенного температуры плазменной
действия от расхода аргона струи от подводимой мощности
Таким образом, для правильного конструирования плазматронов необходимо знать их вольт- амперные характеристики, от которых зависят размеры рабочих частей плазматрона, вид и расход плазмообразующего газа, длину дуги и другие параметры.
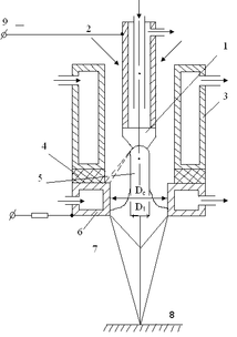
Принцип работы плазматрона прямого действия
В настоящее время для металлургических целей, особенно для переплава металла, применяют мощные плазматроны, работающие с зависимой дугой (рис. 4). При помощи таких плазматронов можно достичь гораздо большей мощности, чем при использовании плазматронов косвенного действия. Надо однако учитывать, что при этом конструкция должна выдерживать более высокие тепловые нагрузки во всех основных частях плазматрона. Высокая концентрация тепловой энергии достигается дросселированием электрической дуги с помощью сопла. Сопло одновременно стабилизирует дугу. При использовании таких плазматронов 75% передаётся материалу электрической дугой и лишь 25% потоком плазмы. Дросселирование столба дуги повышает плотность тока, концентрацию энергии и напряжение дуги, что в свою очередь повышает температуру выходящего из плазматрона потока плазмы до 16000 К и выше, тогда когда у плазматрона косвенного действия эта температура не превышает 5500 К.
Одной из важных характеристик мощных плазматронов прямого действия является восходящая вольт – амперная характеристика, что позволяет повышать ток дуги и напряжение между катодом и анодом. Это значительно увеличивает мощность плазматронов данного типа. Сейчас имеются плазматроны прямого действия, которые имеют мощности свыше 6 МВт, работающие на напряжении 700 В с током до 9 кА.
На рисунке 4 видно, что характер образования столба дуги значительно отличается от него же в плазматроне косвенного действия. Столб дуги здесь на много длиннее, что существенно влияет на распределение напряжения. Из рисунка 4 так же видно, столб дуги в сопле изолирован от хорошо проводящего материала сопла лишь тонким слоем газа. Хотя этот слой газа на много холоднее, чем ионизированная плазма, он, как и изоляция, весьма не надёжен. Из этого следует, что надо исключить возможность раздвоения дуги при пробое, когда образуются дуги между катодом и соплом, а так же между анодом и соплом. Пробои и последующие раздвоения дуги нарушают режим работы, являются опасным для стойкости элементов плазматрона и снижают мощность. Поэтому основным требованием при эксплуатации плазматронов прямого действия является исключение пробоев.
Рис.4. Плазматрон с зависимой
дугой (прямого действия),
обозначения см. рис. 1.
Плазмообразующие газы
В металлургической практике могут использоваться такие инертные плазмообразующие газы как аргон, азот, водород, гелий, характеристики которых представлены в таблице 1.
Из таблицы 1 следует, что состав плазмообразующей смеси сильно влияет на энергетические параметры электрического разряда и плазменной струи. Кроме того, необходимо учитывать химическое воздействие плазмообразующих газов на металл и на процесс эрозии катодного материала. Можно ожидать, что в будущем будут широко использоваться плазмообразующие смеси, которые с одной стороны энергетически более выгодны и с другой стороны менее дефицитны и более дешевы, чем атомарные газы (аргон, гелий). Из таблицы 1 видно, что двухатомные газы имеют преимущества перед атомарными газами.
Таблица 1. Характеристики плазмообразующих газов
| Параметры | Плазмообразующие газы | |||
| аргон | азот | водород | гелий | |
| Молекулярная (атомная) масса……… Плотность кг*м-3, при: нормальных условиях………………... Т=104 К и р~0.1 МПа…………………. Удельная теплоёмкость при нормальных условиях, кДж/(кг*К-1)... Коэффициент теплопроводности, Вт*(м*К)-1 при: нормальных условиях ……………….. Т=104 К и р~0.1 МПа……………........ Электропроводность, см/м-1, при Т=104 К и р~0.1 МПа ………………… Энергия диссоциации, МДж*моль-1 Потенциал ионизации, В: однократной…………………………... двукратной……………………………. Энергия ионизации, МДж*моль-1 однократной…………………………... двукратной……………………………. Энтальпия плазмы, кДж*моль-1, при: Т=104 К и р~0.1 МПа………………… Т=1,5*104 К и р~0.1 МПа……………. | 39,940 1,78 0,048 0,52 0,0163 0,42 3650 15,76 27,7 1,50 2,65 6,15 34,6 | 28,016 1,25 0,018 1,04 0,0243 2,63* 2740 0,72 14,53 29,6 1,40 2,83 50,3 121,5 | 2,016 0,084 - 14,2 0,174 3,45** 1400 0,43 13,595 - 1,35 460,9 1383 | 4,002 0,178 - 5,26 0,151 2,29 6300 - 24,59 54,38 2,36 6,22 49,9 74,4 |
* -максимальное значение при Т=7*108 К равно 6,08 Вт (м*к)
** -максимальное значение при Т=3,8*104 К равно13,4 Вт (м*к)
В настоящее время используют 2 типа плазменно-дуговых печей: с огнеупорной футеровкой и с водоохлаждаемым кристаллизатором. В обоих типах плазменно-дуговых печей переплав можно осуществить в вакууме или в регулируемой газовой атмосфере.
Плазменно-дуговые печи с огнеупорной футеровкой (рис.5) эксплуатируют как промышленно производственные агрегаты (табл. 2). Самые крупные 35-т плазменно-дуговые печи, разработанные совместно ГДР и СССР, сооружены с использованием четырёх плазматронов мощностью 6 МВт каждый. Плазматроны поставлены по бокам под наклоном. Расход аргона на все работающие плазматроны составляет 45 м3/ч (22,5 г/с). Расход воды соответственно 167 м3/ч. Скорость расплавления составляет 20000 кг/ч и расход электроэнергии на расплавление соответственно 500 кВт*ч/т. Огнеупоры выдерживают около 150 плавок и плазматроны практически возобновляются через 30 часов. Печи уже несколько лет работают стабильно. Их эксплуатация протекает практически бесшумно, что значительно облегчает работу у печей. Годовая производительность 35-т печей - составляет 80000 т высоколегированной стали. На основании опыта печей вместимостью 15 и 35 т в Германии проводились исследования с целью создания более крупных печей вместимостью 65и 110т.
Характеристики
Тип файла документ
Документы такого типа открываются такими программами, как Microsoft Office Word на компьютерах Windows, Apple Pages на компьютерах Mac, Open Office - бесплатная альтернатива на различных платформах, в том числе Linux. Наиболее простым и современным решением будут Google документы, так как открываются онлайн без скачивания прямо в браузере на любой платформе. Существуют российские качественные аналоги, например от Яндекса.
Будьте внимательны на мобильных устройствах, так как там используются упрощённый функционал даже в официальном приложении от Microsoft, поэтому для просмотра скачивайте PDF-версию. А если нужно редактировать файл, то используйте оригинальный файл.
Файлы такого типа обычно разбиты на страницы, а текст может быть форматированным (жирный, курсив, выбор шрифта, таблицы и т.п.), а также в него можно добавлять изображения. Формат идеально подходит для рефератов, докладов и РПЗ курсовых проектов, которые необходимо распечатать. Кстати перед печатью также сохраняйте файл в PDF, так как принтер может начудить со шрифтами.















