125167 (690325), страница 4
Текст из файла (страница 4)
Додатки
| Форм. | Позначення | Найменування | Кільк. | Прим. | |||||||||||||||||||||||||||
| Відомість курсового проекту | |||||||||||||||||||||||||||||||
| А4 | ЕАРМ 502.001.000 ТЗ | Технічне завдання | 1 | ||||||||||||||||||||||||||||
| А4 | ЕАРМ 502.001.000 ПЗ | Пояснювальна записка | 23 | ||||||||||||||||||||||||||||
| А4 | ЕАРМ 502.001.001 Е1 | Схема структурна ДПС | 1 | ||||||||||||||||||||||||||||
| А4 | ЕАРМ 502.001.002 Е1 | Схема структурна ДПС з постійним | 1 | ||||||||||||||||||||||||||||
| магнітним потоком | |||||||||||||||||||||||||||||||
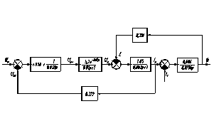
| А4 | ЕАРМ 502.001.003 Е2 | Схема функціональна контуру | 1 | ||||||||||||||||||||||||||||
| регулювання струму | |||||||||||||||||||||||||||||||
| А4 | ЕАРМ 502.001.004 Е2 | Схема функціональна контуру | 1 | ||||||||||||||||||||||||||||
| регулювання швидкості | |||||||||||||||||||||||||||||||
| А4 | ЕАРМ 502.001.005 Е2 | Схема функціональна контуру | 1 | ||||||||||||||||||||||||||||
| регулювання положення | |||||||||||||||||||||||||||||||
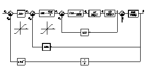
| А4 | ЕАРМ 502.001.006 Е1 | Схема структурна контуру | 1 | ||||||||||||||||||||||||||||
| регулювання струму в системі ТП-Д | |||||||||||||||||||||||||||||||
| А4 | ЕАРМ 502.001.007 Е1 | Схема структурна контуру | 1 | ||||||||||||||||||||||||||||
| регулювання швидкості | |||||||||||||||||||||||||||||||
| А4 | ЕАРМ 502.001.008 Е1 | Схема структурна контуру | 1 | ||||||||||||||||||||||||||||
| регулювання положення | |||||||||||||||||||||||||||||||
| Зм | Лист | № докум. | Підпис | Дата | |||||||||||||||||||||||||||
Виконав | | | | Відомість курсового проекту | Літ. | Лист | Листів | ||||||||||||||||||||||||
Перевір | | | | н | 1 | 1 | |||||||||||||||||||||||||
| Н.контр | |||||||||||||||||||||||||||||||
| Затв. | | | | ||||||||||||||||||||||||||||
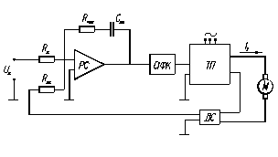
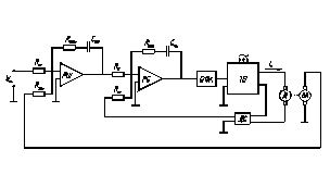
| Форм | Позначення | Найменування | Кільк | Прим. | |||||||||||||||||||||||||||
| М | ПБВ 100-М | 1 | 0,75 кВт | ||||||||||||||||||||||||||||
| ТП | ТП ТС 1,0 | 1 | 1,0 кВт | ||||||||||||||||||||||||||||
| | СІФК | ТСА 160А | 1 | 160 А | |||||||||||||||||||||||||||
| ДС | ДХГ-2 | 1 | кт = 3,5 | ||||||||||||||||||||||||||||
| BR | ТД-101 | 1 | ктг = 0,021 | ||||||||||||||||||||||||||||
| ДП | ВТ-5 | 1 | кт = 0,96 | ||||||||||||||||||||||||||||
| РС | К153УД5А | 1 | Umax = 20 B | ||||||||||||||||||||||||||||
| РШ | К153УД5А | 1 | Umax = 20 B | ||||||||||||||||||||||||||||
| РП | К140УД8 | 1 | Umax = 20 B | ||||||||||||||||||||||||||||
| Rзс | МЛТ-50 | 1 | 4,7 кОм | ||||||||||||||||||||||||||||
| Rззс | МЛТ-100 | 1 | 73 кОм | ||||||||||||||||||||||||||||
| Rпззс | МЛТ-50 | 1 | 7,8 кОм | ||||||||||||||||||||||||||||
| Rзш | МЛТ-50 | 1 | 10 кОм | ||||||||||||||||||||||||||||
| Rззш | МЛТ-5 | 1 | 2,2 кОм | ||||||||||||||||||||||||||||
| Rпззш | МЛТ-50 | 1 | 6 кОм | ||||||||||||||||||||||||||||
| Rзп | МЛТ-50 | 1 | 20 кОм | ||||||||||||||||||||||||||||
| Rззп | МЛТ-200 | 1 | 136 кОм | ||||||||||||||||||||||||||||
| Rпззп | МЛТ-5 | 1 | 2 Ом | ||||||||||||||||||||||||||||
| Сззс | 0,01 мк | 1 | 8,2 мкФ | ||||||||||||||||||||||||||||
| Сззш | 0,01 мк | 1 | 8,2 мкФ | ||||||||||||||||||||||||||||
| VS1,2 | КД 522Б | 2 | Umax = 40 B | ||||||||||||||||||||||||||||
ЕАРМ 502.001.000 СП | |||||||||||||||||||||||||||||||
| Зм. | Лист | № докум. | Підпис | Дата | |||||||||||||||||||||||||||
Виконав | | | | Специфікація | Літ. | Лист | Листів | ||||||||||||||||||||||||
Перевір. | | | | н | 1 | 1 | |||||||||||||||||||||||||
| Н. контр. | |||||||||||||||||||||||||||||||
| Затв. | | | | ||||||||||||||||||||||||||||















