125030 (690243), страница 4
Текст из файла (страница 4)
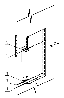
Выбранные методы обработки основных узлов изделия представлены в данном курсовом проекте в виде сборочных схем (графических моделей) с указанием последовательности выполнения операций путем цифровой нумерации на рисунке 4.
В основу выбора методов обработки положены: прогрессивная технология, достижения науки и техники в области швейного производства, методы обработки, применяемые на передовых предприятиях бытового обслуживания.
Прогрессивные методы обработки предусматривают: использование клеевых прокладочных материалов, машинные способы обработки, технологичные конструкции деталей и узлов изделия, совмещение технологических операций, вывод из технологического процесса ряда операций, не снижающих качества изделия.
При выборе методов обработки учитаны основные направления дальнейшего совершенствования техники и технологии швейного производства.
Проанализировав все вышесказанное, были выбраны следующие методы обработки основных узлов: соединение нижнего воротника с верхним производится челночной стачивающей обтачной строчкой в кант (рисунок 4), такая обработка является материалосберегающей (отсутствие клеевой паутинки). Карман накладной на подкладке обрабатывается по унифицированному методу, что сокращает количество операций и также является трудосберегающей технологией. Для придания формоустойчивости воротнику используется флизелин с точечным клеевым покрытием.
Широко применяются клеевые кромки, которые предохраняют срезы от растяжения, не увеличивая при этом массу изделия.
Рисунок 4 - Графические модели методов обработки основных узлов женского жакета
Метод 1 Метод 2 Метод 3
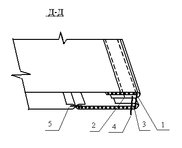
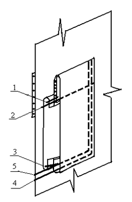
Рисунок 5. Графические модели методов обработки заданного узла (накладной карман на подкладке)5.3 Выбор и оценка методов обработки заданного узла изделия (накладной карман на подкладке)
Технология обработки швейных изделий изменены с совершенствованием процессов моделирования и конструирования одежды, с появлением новых материалов, оборудования. В связи с этим, методы обработки для одного и того же вида одежды и узла различны по технологии, применяемым оборудованием, материалами, входящими в пакет изделия, средствами механизации.
Для детального анализа и оценки эффективности в курсовом проекте представлены три варианта обработки заданного узла (рисунок 5), разработаны графические модели (схемы) и дана характеристика особенностей обработки каждого метода по составу пакета материалов, применяемых конструкций швов, оборудования, конструкций деталей, технологии обработки, составлена технологическая последовательность выбранных методов обработки (таблица 8). Формирование технологической последовательности состоит в выборе операций из нормативной технологической документации.
Таблица 9 - Технологическая последовательность обработки заданного узла изделия
| № операций | Наименование операций | Вид работы | Затрата времени по вариантам обработки, мин | Оборудование, приспособления, инструменты | ||||||||
| 1метод | 2 метод | 3метод | ||||||||||
| 1 | 2 | 3 | 4 | 5 | 6 | 7 | ||||||
| Обработка кармана подкладкой | ||||||||||||
| 1 | Проложить кромку из материала с односторонним клеевым покрытием по верхнему краю карманов (со стороны припуска по намеченной линии) | У | 1,09 | 1,09 | 1,09 | Утюг УТП-2, ОЭП ОАО «Агата», пулевизатор | ||||||
| 2 | Притачать подкладку к припуску на подгиб верхнего края накладных карманов | М | 0,976 | 0,976 | 0,976 | Машина131-131+50 ОА”Орша” Беларусь | ||||||
| 3 | Перегнуть верхний край накладных карманов по намеченной линии и обтачать карманы подкладкой, посаживая основную ткань в углах. | М | - | 2,99 | - | Машина131-131+50 ОА”Орша” Беларусь | ||||||
| 4 | Подрезать шов обтачивания карманов и вывернуть карманы на лицевую сторону, выправляя в углах | Р | - | 1,91 | - | Колышек, ножницы | ||||||
| 5 | Выметать края накладных карманов, образуя кант из основной ткани | СМ Р | - - | 3,20 5,25 | - - | 2222М АО «Орша» Беларусь Игла, наперсток ножницы | ||||||
| 6 | Подшить пропуск в строчке | Р | - | 1,13 | - | Игла, наперсток ножницы | ||||||
| 7 | Приутюжить накладные карманы | У | - | 1,67 | - | Утюг УТП-2, ОЭП ОАО «Агата» | ||||||
| 8 | Перегнуть верхний край накладных карманов на изнаночную сторону по намеченной линии и приутюжить | У | 1,67 | - | 1,67 | Утюг УТП-2, ОЭП ОАО «Агата» | ||||||
| 9 | Прострочить отделочной строчкой верх кармана | М | 0,976 | 0,976 | 0,976 | Машина131-131+50 ОА”Орша” Беларусь, направляющая линейка | ||||||
| 10 | Удалить нитки после выметывания краев карманов в ручную | Р | - | 0,948 | - | Колышек, ножницы | ||||||
| Итого 1 этапа | 4,712 | 20,14 | 4,712 | |||||||||
| Соединение кармана с полочкой | ||||||||||||
| 11 | Восстановить места расположения кармана | Р | 0,784 | 0,784 | 0,784 | Мел, линейка, сантиметровая лента, лекало | ||||||
| 12 | Заутюжить боковые и нижние края подкладки кармана, подгибая обрезные края в сторону изнанки подкладки | У | 1,66 | - | - | Утюг УТП-2, ОЭП ОАО «Агата» | ||||||
| 13 | Наложить подкладку накладных карманов лицевой стороной на лицевую сторону полочек по намеченным линиям и настрочить её по боковым сторонам и низу | М | 2,53 | - | - | Машина131-131+50 ОА”Орша” Беларусь | ||||||
| 14 | Притачать верхние края подкладки накладных карманов к полочке по намеченным линиям | М | - | - | 0,976 | Машина131-131+50 ОА”Орша” Беларусь, ножницы | ||||||
| 15 | Стачать боковые срезы подкладки кармана | М | - | - | 1,95х2 | Машина131-131+50 ОА”Орша” Беларусь | ||||||
| 16 | Заутюжить боковые и нижние края кармана, подгибая обрезные края в сторону подкладки | У | 1,66 | 1,66 | 1,66 | Утюг УТП-2, ОЭП ОАО «Агата» | ||||||
| 17 | Наметать накладные кармана на полочки | Р | 3,73 | 3,73 | 3,73 | Игла, наперсток ножницы | ||||||
| 18 | Притачать боковые и нижние края накладных карманов по намеченным линиям | М | 3,95 | - | - | 242 «PFAFF» Германия | ||||||
| 19 | Притачать боковые и нижние края накладных карманов по намеченным линиям двумя строчками | М | - | 7,91 | 7,91 | Машина131-131+50 ОА”Орша” Беларусь | ||||||
| 20 | Удалить нитки наметывания накладных карманов | Р | 1,05 | 1,05 | 1,05 | Колышек, ножницы | ||||||
| 21 | Приутюжить накладные карманы | Пр | 2,53 | 2,53 | 2,53 | Пресс ПГУ-3 | ||||||
| Итого 2 этапа | 17,894 | 17,664 | 22,54 | |||||||||
| Итого по этапам | 22,606 | 37,804 | 27,252 | |||||||||
На основании данных о трудоемкости узлов и времени технологических операций проведен анализ структуры методов обработки.
Таблица 10 – Структурный состав операций методов обработки по видам работ.
| Номер метода обработки | Графическая модель метода обработки | Затраты времени по видам работ | ||||||
| Затраты времени по этапам обработки, мин. | М | СМ | Пр | У | Р | Применяемое оборудование, приспособления | ||
| 1 | 2 | 3 | 4 | 5 | 6 | 7 | 8 | 9 |
| 1 | 1этап 4,712 2этап 17,894 Итого 22,606 | 1,952 6,48 8,432 | - - - | - 2,53 2,53 | 2,76 3,32 6,08 | - 5,564 5,564 | Машина131-31+50 ОА “Орша”, Утюг УТП-2 242 «PFAFF» Германия Машина131-31+50 ОА “Орша”, Пресс ПГУ-3, Утюг УТП-2, Игла, Наперсток, Ножницы, Линейка, Мел, Трафарет, | |
Продолжение таблицы 9
| 1 | 2 | 3 | 4 | 5 | 6 | 7 | 8 | 9 |
| 2 |
| 1 этап 20,14 2этап 17,664 Итого 37,804 | 4,942 7,91 12,852 | 3,20 - 3,20 | - 2,53 2,53 | 2,76 1,66 4,42 | 9,238 5,564 14,802 | Машина131-131+50 ОА “Орша”, Утюг УТП-2, 2222М АО «Орша» Беларусь, Пресс ПГУ-3, Игла, Наперсток, Мел, Ножницы, Линейка, Колышек, Трафарет Машина131-131+50 ОА “Орша”, Утюг УТП-2, Игла, Наперсток, Мел, Ножницы, Линейка, Колышек, Трафарет |
| 3 |
| 1этап 4,712
2этап 22,54
Итого 27,252 | 1,952 12,786 14,738 | - - - | - 2,53 2,53 | 2,76 1,66 4,42 | - 5,564 5,564 | Машина131-131+50 ОА “Орша”, Пресс ПГУ-3, Утюг УТП-2 Машина131-31+50 ОА “Орша”, Утюг УТП-2, Игла, Наперсток, Ножницы, Линейка, Мел, Трафарет, |
Продолжение таблицы 9
| 1 | 2 | 3 | 4 | 5 | 6 | 7 | 8 |
| 1 этап 4,712 20,14 4,712 | 1,952 4,942 1,952 | - 3,20 - | - - - | 2,76 2,76 2,76 | - 9,238 - | ||
| 2 этап 17,894 17,664 22,54 | 6,48 7,91 12,786 | - - - | 2,53 2,53 2,53 | 3,32 1,66 1,66 | 5,564 5,564 5,564 | ||
| Итого | 87,662 | 36,022 | 3,20 | 7,59 | 14,92 | 25,93 |
5.4 Оценка эффективности методов обработки заданного узла изделия















