124936 (690207)
Текст из файла
КУРСОВА РОБОТА
Кінематичні і геометричні параметри процесу різання
1 Кінематика процесу різання
Обробка різанням – це частина технологічного процесу виготовлення деталей, яка полягає в утворенні нових поверхонь шляхом відділення поверхневих шарів металу з утворенням стружки. Різання проходить шляхом проникнення в оброблювану заготовку клиноподібного твердого тіла – різальної частини інструмента, рух якого здійснюється під дією приводу верстата. Для здійснення процесу різання необхідно забезпечити відносний рух інструмента і заготовки. Сукупність відносних рухів інструмента і заготовки для утворення заданої поверхні називають кінематичною схемою обробки.
Більшість принципових схем обробки різанням ґрунтуються на суміщенні двох елементарних рухів – обертового і прямолінійного. Прямолінійний або круговий рух інструменту чи заготовки, який забезпечує найбільшу швидкість відносного переміщення, називають головним рухом–швидкістю різання V м/хв. Якщо головний рух обертовий, то швидкість різання визначається за формулою V=πDn/1000 м/хв, тут D- діаметр оброблюваної заготовки (при точінні), або діаметр інструменту (фрезерування, свердління, шліфування), n – частота обер-тання інструменту, або заготовки хв-1. Якщо головний рух зворотно поступовий, (стругання, довбання) то швидкість різання визначається за формулою
V=
м/хв,
тут L – довжина робочого ходу інструменту, або стола (мм), n- число подвійних ходів за хвилину, к- коефіцієнт, що характеризує відношення швидкості робочого ходу до швидкості холостого ходу к =Vрх/Vхх.
Подача s – це відносне переміщення, пройдене певною точкою інструменту чи заготовки в напрямку руху подачі за певний цикл головного руху (оберт, подвійний хід…). Вона вимірюється в мм/оберт, мм/подвійний хід.
Процес різання проводиться в конкретних умовах, які характеризуються певними режимними параметрами. В процесі різання на оброблюваній заготовці розрізняють три поверхні : 1- оброблена поверхня; 2- поверхня різання; 3-оброблювана поверхня. При точінні схема розміщення цих поверхонь показана на рис.1. Поперечний перетин знятого за один оберт заготовки шару в багатьох випадках різання має форму паралелограма.
Рис 1. Рис.2
На цьому рисунку s- подача на 1 оберт заготовки, t –глибина різання. Вона визначається як віддаль між оброблюваною і обробленою поверхнями, виміряна по перпендикуляру до останньої t=
мм, а- товщина зрізуваного шару (мм), в- ширина зрізуваного шару (мм). а=ssinφ, b=t/sinφ. Площа зрізуваного шару стружки f=ab=st.
Режим різання характеризується наступними величинами v, s, t, a і основ-ним часом на протязі якого здійснюється процес різання to. При обробці на токарних верстатах to=
, тут l –довжина поверхні, яка обробляється різанням, і- число робочих проходів; і=δ/t, де δ – припуск на обробку. Тоді to=lδ/nst (хв).
2 Геометричні параметри різця
Одним з найбільш розповсюджених і простих різальних інструментів є токарний прохідний прямий різець. Він складається з двох частин: робочої (різальної) частини і корпуса. Різальна частина різця обмежена рядом поверхонь, перетин яких утворює різальні кромки і вершину (рис.2). 1-передня поверхня – поверхня по якій сходить стружка, 3- головна задня поверхня (повернута до поверхні різання), 4-допоміжна задня поверхня (повернута до обробленої поверхні). Лінія перетину передньої поверхні і головної задньої поверхні - головна різальна кромка – 2. Лінія перетину передньої поверхні і допоміжної задньої поверхні – допоміжна різальна кромка – 5. Точка перетину різальних кромок – вершина різця – 6.
Рис.3. Відрізний різець
Відрізний різець (рис.3) має одну передню поверхню (1), головну задню поверхню (2), дві допоміжні задні поверхні (3), головну різальну кромку (4), дві допоміжні різальні кромки (5) і дві вершини (6).
Для того, щоб визначити кутові параметри різця необхідно його ув’язати з системою площин: 1. Основна площина проходить паралельно до напрямків поздовжньої і поперечної подач токарного верстата, як правило вона співпадає з опорною поверхнею різця. 2.Площина різання проходить через головну різальну кромку дотична до поверхні різання (перпендикулярно до основної площини) в стані спокою (без подачі). 3. Головна січна площина проходить через певну точку головної різальної кромки перпендикулярно до проекції головної різальної кромки на основну площину її слід А-А, (рис.4). 4.Допоміжна січна площина проходить через точку допоміжної різальної кромки перпендикулярно до проекції допоміжної різальної кромки на основну площину (слід Б-Б).
Рис.4. Геометрія різця
В головній січній площині розглядають такі кути, що характеризують процес різання: 1. Головний задній кут α – це кут між площиною різання і головною задньою поверхнею різця, заміряний в головній січній площині. 2.Кут загострення β – це кут між головною задньою і передньою гранями, заміряний в головній січній площині. 3. Головний передній кут γ – це кут між передньою поверхнею і перпендикуляром до площини різання. 4. Кут різання δ– це кут між площиною різання і головною передньою поверхнею δ=α+β = 90-γ.
. В допоміжній січній площині лежать допоміжний задній кут α1, допоміжний передній кут γ1, допоміжний кут загострення β1 і допоміжний кут різання δ1.
Кут нахилу головної різальної кромки λ– це кут, що знаходиться в площині різання, що проходить через головну різальну кромку перпендикулярно до основної площини і лежить між різальною кромкою і лінією, що проходить через вершину різця паралельно до основної площини (рис.7). Цей кут впливає на напрям сходу стружки. При λ+ стружка іде в сторону обробленої поверхні, при λ- в сторону необробленої поверхні, а при λ=0 – завивається в архімедову спіраль.
Кут між проекцією головної різальної кромки на основну площину і напрямком подачі називається головним кутом в плані . Кут між проекцією допоміжної різальної кромки на основну площину і напрямком подачі називається допоміжним кутом в плані 1. Кут між проекціями головної і допоміжної різальних кромок на основну площину називається кутом при вершині ;11800. Кути і1 визначають положення різця по відношенню до заготовки.
3 Залежність кутових параметрів процесу різання від умов
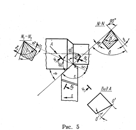
Всі розміри кутових параметрів різця будуть зберігатись в процесі різання лише в тому випадку, коли вершина різця встановлена на висоті обертання заготовки, геометрична вісь різця строго перпендикулярна до вісі обертання заготовки і вектор швидкості подачі направлений вздовж вісі обертання заготовки (перпендикулярно до вісі різця). Любі відхилення від цих положень (випадкові чи спеціальні) ведуть до зміни значень одного або декількох кутових геометричних параметрів. На рис.5 показано вплив повертання різця навколо вертикальної вісі на деякий кут . При цьому міняються значення кутів і 1. Всі інші кутові параметри не міняються.
Рис. 5
Вплив зміщення вершини у вертикальному напрямку показано на рис.8. Встановлення вершини різця вище (рис.6), або нижче осі обертання автоматично веде до зміни всіх кутових параметрів процесу різання (,,,,1). При встановленні різця вище центру заготовки на деяку величину Н призводить до зміни фактичних значень переднього і заднього кутів на деяку величину ,
=
, тоді ф= і ф=. При встановленні різця на величину Н нижче центра заготовки фактичні значення цих кутів будуть мати такі значення: ф= і ф=-. Приведені залежності справедливі для кутів, заміряних в площині, що проходить через вершину різця перпендикулярно до осі заготовки. В площині різання зміна цих кутів визначаються по більш складних залежностях.
Рис. 6
4 Фізичні основи процесу різання
Різання є складним фізичним процесом в ході якого виникають пружні і пла-стичні деформації. Цей процес супроводжується тертям, тепловиділенням, усадкою стружки, наростоутворенням, наклепом обробленої поверхні і зношуванням інструменту. Більшість твердих тіл (метали, діелектрики, напівпровідники),що піддаються обробці різанням мають кристалічну будову, що характеризується трьохмірною періодичністю розміщення атомів. Ідеальні кристали характеризуються безмежною сукупністю атомів, періодично розміщених в просторі.
Усі реальні кристали мають певні недосконалості будови: точкові, лінійні, просторові і об’ємні дефекти. Точкові дефекти –вакансії і атоми між вузлами. Лінійні дефекти, що порушують правильність чергування атомних площин у кристалічних ґратках (в границях однієї, або декількох міжатомних віддалей) називаються дислокаціями. В процесі обробки металу (затвердівання…) завжди утворюються дислокації різних видів.
Рух і розмноження дислокацій завжди приводить до елементів пластичної деформації, а їх взаємодія, в основному, визначає сукупність механічних властивостей металу. Якщо пластична деформація проходить шляхом ковзання то одна частина кристалу переміщається відносно другої вздовж певної щільноупаковоної площини ковзання. На 1 мм2 площини ковзання знаходиться біля 1012 атомів. В процесі деформування при різанні реальних кристалів число дислокацій (щільність), що перетинає 1 см2 площі доходить до 108-1012, а щільність вакансій зміцненого металу доходить до 109-1020 в см3.
При різанні полікристалічних матеріалів одночасно з внутрішньою деформацією проходить міжкристалічна деформація (відносне зміщення (проковзування) і повертання зерен…).При підвищенні температури міжкристалічні зв’язки послаблюються і руйнування матеріалу буде проходити не тільки в нутрі зерен, але і по їх границях.
Вивчення механічних деформації показує, що для реальних полікристалічних матеріалів дуже трудно створити прості формули “напруження – деформація – температура”. Тому при вивченні процесу різання матеріал заготовки розглядають як ізотропне тіло з середніми фізико-механічними властивостями.
5 Процеси деформації і руйнування матеріалів при різанні
Першу спробу дати опис процесу відділення зруйнованого шару (стружки) від заготовки зробив І.А.Тіме в своїй праці “Опір металів і дерева різанню” (1870р.) Запропонована ним елементарна схема стружкоутворення ґрунтувалась на простому спостереженні за процесом різання. І.А. Тіме вважав, що різання –це процес послідовного сколювання окремих елементів стружки по єдиній “площинці сколювання”, нахиленій до площини різання під кутом
1 (рис.7).
Різальний інструмент, переміщаючись під дією сил різання, деформує (стискає) матеріал, що лежить на його шляху. В момент найбільших напружень, допустимих для даного матеріалу, він сколюється по площині
-
, утворюючи елемент стружки. Цю площину називають площиною сколювання, або зсуву. В процесі утворення елемента стружки сили різання зростає, а в момент сколювання зменшується, що призводить до коливання сили, що діє на інструмент з боку заготовки, отже процес різання періодичний. Кут дії
=
+
=180-
1 коливається в границях 1450-1500. З збільшенням кута різання
кут
зростає, але не у великих границях.
Рис. 7
Металографічними дослідженнями встановлено, що шар металу, який знімається в процесі обробки, до перетворення в стружку піддається деформації на певній дільниці (зоні). Ширина цієї зони стружкоутворення залежить від властивостей оброблюваного матеріалу і режимів обробки. Найбільший вплив на ширину зони стружкоутворення має швидкість різання. З збільшенням швидкості різання вона може звузитись до десятих і навіть сотих долів мм. Тому з деяким спрощенням можна вважати, що зсув іде по площині ковзання, яка розміщена під кутом зсуву
1.
Характеристики
Тип файла документ
Документы такого типа открываются такими программами, как Microsoft Office Word на компьютерах Windows, Apple Pages на компьютерах Mac, Open Office - бесплатная альтернатива на различных платформах, в том числе Linux. Наиболее простым и современным решением будут Google документы, так как открываются онлайн без скачивания прямо в браузере на любой платформе. Существуют российские качественные аналоги, например от Яндекса.
Будьте внимательны на мобильных устройствах, так как там используются упрощённый функционал даже в официальном приложении от Microsoft, поэтому для просмотра скачивайте PDF-версию. А если нужно редактировать файл, то используйте оригинальный файл.
Файлы такого типа обычно разбиты на страницы, а текст может быть форматированным (жирный, курсив, выбор шрифта, таблицы и т.п.), а также в него можно добавлять изображения. Формат идеально подходит для рефератов, докладов и РПЗ курсовых проектов, которые необходимо распечатать. Кстати перед печатью также сохраняйте файл в PDF, так как принтер может начудить со шрифтами.















