124829 (690172), страница 2
Текст из файла (страница 2)
Определяем показатель помещения
i =
=
= 2,78
По справочнику с учётом коэффициентов отражения и показателя помещения находим коэффициент использования светового потока:
пот=0,5; ст=0,3; п=0,1:
u = 73%
Рассчитаем световой поток одой лампы в Лм, если коэффициент минимальной освещённости z = Еср / Еmin = 1,2:
Фл =
где Kз = 2 - коэффициент запаса;
Еmin – нормированная освещённость, лк.
Фл.р. =
= 29589 лм.
По найденному значению Фл подбираем лампу, поток которой должен отличаться не более, чем на (-10 – +20)%.
Принимаем лампу ДРЛ 700(6) - 3 имеющую следующие технические данные:
номинальная мощность лампы Рн = 700 Вт; световой поток Фл = 40,6 клм.
Общая мощность световой установки:
Руст = Рл *nсв = 700*32 = 22400 Вт.
Составим схему расположения светильников рабочего освещения в цехе (рисунок 2)
Рисунок 2 - План расположения светильников в цехе.
Для аварийного освещения выбираем лампы типа ЛН (лампы накаливания).
Норма освещенности аварийного освещения сос -тавляет не менее 5% от нормы рабочего освещения, то есть:
Е = Еmin*0,05 = 200*0,05 = 10 лк
Выбираю светильник типа НСП 20, источник света которого должен иметь мощность 500 Вт, для создания кривой силы света Д3, класс светораспределения светльника - П, степень защиты IP52.
По заданной мощности лампы светильника НСП 20, Рл=500Вт, выберем ЛН типа Г125-135-500 с номинальным световым потоком, Фл=9200 лм.
Определим количество ламп для аварийного освещения преобразовав формулу (11.15):
nс =
=
= 6 шт.
Выбираем светильники типа НСП.
Рассчитаем осветительную сеть рабочего освещения, схема которой приведена на рисунке 3 Линии освещения питают светильники с лампами накаливания, коэффициент мощности которых cos =1:
Рисунок 3 - Схема осветительной сети аварийного освещения.
Выберем осветительные щиты. При выборе осветительного щитка необходимо чтобы выполнялось условие:
Iном.щ I
где Iном.щ- номинальный ток осветительного щитка, А;
I-расчетный ток питающей линии, А.
Для рабочего освещения выберем щит серии ЯОУ -8503, так как выполняется условие
Iном.щ = 63 А 50 А = I1-2
Для аварийного освещения выберем осветительный щиток серии ЯОУ - 8504, так как выполняется условие
Iном.щ = 63 А 28 А = I1-2
Таблица 2 - Технические данные осветительных щитков серий ЯОУ - 8503 и ЯОУ - 8504 на напряжение 380/220В.
| Тип | Автоматический выключатель | ||
| Тип | Номинальный ток, А | Количество | |
| 1 | 2 | 3 | 4 |
| ЯОУ - 8503 | АЕ - 2044 - 10 | 63 | 6 |
| ЯОУ - 8504 | АЕ - 2046 - 10 | 63 | 2 |
III. Расчет вентиляционной установки для цеха.
Вентиляционные установки - устройства, обеспечивающие в помещении такое состояние воздушной среды, при котором человек чувствует себя нормально и микроклимат помещений не оказывает неблагоприятного действия на его здоровье.
Для обеспечения требуемого по санитарным нормам качества воздушной среды необходима постоянная смена воздуха в помещении; вместо удаляемого вводится свежий, после соответствующей обработки, воздух. В данном подразделе будет произведен расчет общеобменной вентиляции от избытков тепла. Общеобменная вентиляция - система, в которой воздухообмен, найденный из условий борьбы с вредностью, осуществляется путем подачи и вытяжки воздуха из всего помещения.
Системы отопления и системы кондиционирования следует устанавливать так, чтобы ни теплый, ни холодный воздух не направлялся на людей. На производстве рекомендуется создавать динамический климат с определенными перепадами показателей. Температура воздуха у поверхности пола и на уровне головы не должна отличаться более, чем на 5 градусов. В производственных помещениях помимо естественной вентиляции предусматривают приточно-вытяжную вентиляцию. Основным параметром, определяющим характеристики вентиляционной системы, является кратность обмена, т.е. сколько раз в час сменится воздух в цехе.
Количество вентиляционного воздуха определяется по формуле
Vвент - объем воздуха, необходимый для обмена;
Vпом - объем рабочего помещения.
Для расчета примем следующие размеры рабочего помещения:
длина В = 30 м;
ширина А = 48 м;
высота Н = 9 м.
Соответственно объем помещения равен:
Vпомещ = АВH = 12960 м3
Необходимый для обмена объем воздуха Vвент определим исходя из уравнения теплового баланса:
Vвент С( tуход - tприход ) Y = 3600 Qизбыт
Qизбыт - избыточная теплота (Вт);
С = 1000 - удельная теплопроводность воздуха (Дж/кгК);
Y = 1.2 - плотность воздуха (мг/см).
Температура уходящего воздуха определяется по формуле:
tуход = tр.м. + (Н - 2 )t , где
t = 2°С - превышение t на 1м высоты помещения;
tр.м. = 22°С - температура на рабочем месте;
Н = 9 м - высота помещения;
tприход = 18 градусов.
tуход = 22 + (9 - 2)*2 = 36
Qизбыт = Qизб.1 + Qизб.2 + Qизб.3 , где
Qизб. - избыток тепла от электрооборудования и освещения.
Qизб.1 = Е р , где
Е - коэффициент потерь электроэнергии на теплоотвод ( Е=0.55 для освещения);
р - мощность, р = 700 Вт 32 = 22400 Вт.
Qизб.1 = 0.55 * 22400=12320 Вт
Qизб.2 - теплопоступление от солнечной радиации,
Qизб.2 =m S k Qc , где
m - число окон, примем m = 20;
S - площадь окна, S = 1,8 * 2 = 3.6 м2;
k - коэффициент, учитывающий остекление. Для двойного остекления
k = 0.6;
Qc = 127 Вт/м - теплопоступление от окон.
Qизб.2 = 3.6 * 20 * 0.6 * 127 = 5486 Вт
Qизб.3 - тепловыделения людей
Qизб.3 = n q , где
q = 15 Вт/чел. , n - число людей в смене, например, n = 40
Qизб.3 = 40 * 80 = 3200 Вт
Qизбыт = 12320 + 5486 + 3200 = 21006 Вт
Из уравнения теплового баланса следует:
Vвент
м3
Оптимальным вариантом является кондиционирование воздуха, т.е. автоматическое поддержание его состояния в помещении в соответствии с определенными требованиями (заданная температура, влажность, подвижность воздуха) независимо от изменения состояния наружного воздуха и условий в самом помещении.
Определяем необходимую кратность воздухообмена:
где Vпом = n * Sчел * Н , (11.15)
n=40 - число людей в помещении;
Sчел - площадь производственного помещения, приходящаяся на 1 человека (по нормам для работы в цехе Sчел=6 м) ;
Н =4 м - высота помещения.
Кратность воздухообмена:
Произведем подбор вентилятора по аэродинамическим характеристикам и специальным номограммам
Исходными данными для выбора вентилятора являются:
- расчетная производительность вентилятора:
Vрасч = 1.1 * Vвент = 1.1*3858 = 4244 м /ч, (11.16)
где 1.1 - коэффициент, учитывающий утечки и подсосы воздуха.
- напор (полное давление), обеспечиваемый вентилятором:
Hв = 10*v/2 * Y , (11.17)
где Y=1.3 кг/м - плотность воздуха,
v - окружная скорость вентилятора; ограничивается предельно допустимым уровнем шума в помещении.
Для центробежных вентиляторов низкого для цеховых помещений v должна быть не менее 35 м/с. Для расчета
примем v=40 м/с.
Тогда Hв = 10*40/2 * 1,3 = 26 Па.
По исходным данным выбираем центробежный вентилятор низкого давления Ц4-70N5. По номограммам определяем его характеристики:
- число оборотов - 1000 об/мин;
- КПД вентилятора - 0.8.
Необходимая установочная мощность электродвигателя:
Вт
где η - КПД вентилятора.
IV. Расчет грузоподъемного механизма.
Электрические подъёмные краны - это устройства служащие для вертикального и горизонтального перемещения грузов. Подвижная металлическая конструкция с расположенной на ней подъемной лебёдкой являются основными элементами подъёмного крана. Механизм подъемной лебёдки приводится в действие электрическим двигателем.
Подъемный кран представляет собой грузоподъемную машину циклического действия, предназначенную для подъема и перемещения груза, удерживаемого грузозахватным устройством (крюк, грейфер). Он является наиболее распространенной грузоподъемной машиной, имеющей весьма разнообразное конструктивное исполнение и назначение.
Мостовой кран (рис. 4.1) представляет собой мост, перемещающейся по крановым путям на ходовых колесах, которые установлены на концевых балках. Пути укладываются на подкрановые балки, опирающиеся на выступы верхней части колонны цеха. Механизм передвижения крана установлен на мосту крана. Управление всеми механизмами происходит из кабины прикрепленной к мосту крана. Питание электродвигателей осуществляется по цеховым троллеям. Для подвода электроэнергии применяют токосъемы скользящего типа, прикрепленные к металлоконструкции крана. В современных конструкциях мостовых кранов токопровод осуществляется с помощью гибкого кабеля. Привод ходовых колес осуществляется от электродвигателя через редуктор и трансмиссионный вал.
Рисунок 4.1 – Общий вид мостового крана.
Любой современный грузоподъемный кран в соответствии с требованиями безопасности, может иметь для каждого рабочего движения в трех плоскостях, следующие самостоятельные механизмы: механизм подъема - опускания груза, механизм передвижения крана в горизонтальной плоскости и механизмы обслуживания зоны работы крана (передвижения тележки).
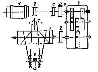
Типичная кинематическая схема механизма подъема крана приведена на рисунке 4.2
Рисунок 4.2 - Кинематическая схема механизма подъема главного крюка: 1 - двигатель; 2 - муфта; 3 - тормоз; 4 - редук -тор; 5 - барабан; 6 - полиспаст; 7 - неподвижный блок полис - пасты.
К основным параметрам механизма подъёма относятся: грузоподъемность, скорость подъема крюка, режим работы, высота подъема грузозахватного устройства.
Номинальная грузоподъемность - масса номинального груза на крюке или захватном устройстве, поднимаемого грузоподъемной машиной.
Скорость подъема крюка выбирают в зависимости от требований технологического процесса, в котором участвует данная грузоподъемная машина, характера работы, типа машины и ее производительности.
Режим работы грузоподъемных машин цикличен. Цикл состоит из перемещения груза по заданной траектории и возврата в исходное положение для нового цикла.
Для данного мостового крана рекомендуемые режимные группы:
5К - группа режима работы крана;
4М - группа режима работы механизма подъема.
На крановых установках допускается применять рабочее напряжение до 500 В, поэтому крановые механизмы снабжают электрооборудованием на напряжения 220, 380, 500 В переменного тока и 220, 440 В постоянного тока. В схеме управления предусматривают максимальную защиту, отключающую двигатель при перегрузке и коротком замыкании. Нулевая защита исключает самозапуск двигателей при подаче напряжения после перерыва в электроснабжении. Для безопасного обслуживания электрооборудования, находящегося на ферме моста, устанавливают, блокировочные контакты на люке и двери кабины. При открывании люка или двери напряжение с электрооборудования снимается.
Правилами Госгортехнадзора предусматривается четыре режима работы механизмов: лёгкий - Л, средний - С, тяжёлый - Т, весьма тяжёлый - ВТ.
Определяем режим работы крана: Проектируемый мостовой кран работает в среднем режиме с ПВ40.















