124705 (690123), страница 5
Текст из файла (страница 5)
Кислород расходуется на образование WOCl4 и СО2 (см. стр. № 35 реакции 1 и 3), следовательно, необходимая масса кислорода равна:
кг
Хлор входит во все продукты реакций, и для изучения процесса хлорирования возмём хлор с избытком на 5%. Необходимая стехиометричеческая масса хлора равна:
кг
Для моделирования процесса хлорирования твердого сплава возьмем данные из таблицы 4.2.1, 10000 кг хлора и 2443 кг кислорода.
Таблица 4.2.2.2. Результат моделирования процесса хлорирования при помощи прграммы TERRA, при температуре 700°C и давлении 0,1 МПа.
| Химическая формула | Масса [кг] |
| WOCl4 | 12291,53 |
| WO2Cl2 | 5,9 |
| WCl4 | 0,3 |
| WCl6 | 0,6 |
| TiCl4 | 4239,3 |
| CoCl2(c) | 1179,9 |
| FeCl3 | 203,3 |
| CuCl2(c) | 43,2 |
| ZnCl2(c) | 28,4 |
| ZnCl2 | 14,4 |
| CO2 | 2567,6 |
| Cl2 | 904,57 |
| Всего: | 21479 |
4.2.2.1. Основные реакции протикающие при хлорировании твердосплавного лома
При рассмотрении таблицы 4.2.2.2 можно определить основные реакции.
1.
2.
3.
4.
5.
6.
4.2.2.2 Краткая характеристика продуктов реакций
Таблица 4.2.2.2.1. Краткая характеристика продуктов реакций [11].
| Соединение | Температура плавления [°С] | Температура кипения [°С] | Плотность [г/см3] |
| WOCl4 – Оксодихлорид вольфкама (VI) | 212 | ~ 300 | н. д. |
| TiCl4 – Хлорид титана (IV) | -24,1 | +136,4 | 2,33(20°С) |
| CoCl2 – Хлорид кобальта (II) | 740 | 1049 | 3,367 |
| FeCl3 – Хлорид железа (III) | 307,5 | 316 | 2,898 |
| CuCl2 – Хлорид меди (II) | 596 | 993 | 3,386 |
| ZnCl2 – Хлорид цинка (II) | 293 | 733 | 2,907 |
4.3. Разработка принципиальной схемы
При разработке технологии подготовки сырья (см. раздел 3) и выборе процесса хлорирования (см. раздел 4.2.1), были сделаны предпосылки для разработки схемы хлорирования в эвтектическом расплаве хлоридов щелочных и щелочноземельных металлов. Представленная схема (Рис.4.3.1) представляет собой адаптированную под твёрдый сплав принципиальную схему подобную той, что применяется на ниобий - танталовом производстве при хлорировании лопарита.
Схема 4.3.1. Принципиальная схема хлорирования твердосплавного лома
4.4. Разработка аппаратурно-технологической схемы
При выборе оборудования, прежде всего, учитывают соображения о необходимости опробования оборудования до принятия его в проекте промышленного производства. Так как от оборудования зависят условия работы его конструктивных элементов, а при значительном изменении может меняться режим основного процесса, опытную проверку должен пройти до включения в проект не только принципиальный тип конструкции аппарата, но и его конкретный типоразмер. Это относится в основном к процессам плохо моделирующимся, в первую очередь к пирометаллургическим. Следует, однако, отметить, что требование проверки конструкции оборудования не всегда можно выполнить в полном объеме.
Оценка результатов опытных работ и изучение других технологических и технических вопросов позволяет решить вопрос о технологической и технической обоснованности выбора определенного типоразмера аппарата. Но для принятия решения о выборе типоразмера аппарата необходимо провести технико-экономический анализ изменения показателей проекта в целом, включая изменения требований к смежным частям проекта, в зависимости от масштаба аппарата.
Экономическая эффективность определяется влиянием масштаба аппаратуры на капитальные затраты при создании производства и на затраты, связанные с его последующей эксплуатацией.
Увеличение производительности аппаратуры повышает производительность труда основных производственных рабочих. Увеличение производительности аппарата на несколько десятков процентов обычно не повышает трудозатрат на обслуживание [12].
Основными характеристиками процесса являются высокая конверсия сырья, и высокий выход целевого продута, следовательно, сырьё должно быть максимально прохлорированно, и должно получаться минимальное количество побочных продуктов.
При использовании хлорного метода получаются высококачественные продукты. Хлориды и оксохлориды металлов обладают различными свойствами, что существенно облегчает их разделение и очистку.
Наиболее подходящим оборудованием для хлорирования твердых сплавов является оборудование для хлорирования лопарита, применяющееся в ниобий – танталовом производстве. Данное оборудование может применяться без принципиальных изменений в конструкции [3].
Взаимодействие твёрдого сплава с газовой хлоро - кислородной смесью в широком интервале температур характеризуется положительными значениями ΔG° [9].
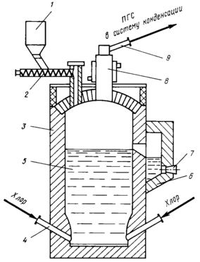
Схема 4.4.1. Технологическая схема переработки твердосплавного лома методом хлорирования.
4.4.1. Аппаратурное оформление
1 – Одновальцовая дробилка CEB 16/40
2 – Молотковая мельница CHM 23/20
3 – Магнитный сепаратор ПБС-63/50
4 – Хлоратор для хлорирования в солевом расплаве
5 – Теплоизоляционная емкость с подогревом
6 – Солевой фильтр с аэролифтной циркуляцией расплава
7 – Комбинированная система конденсации ПГС
4.4.2.Описание схемы переработки твердого сплава
4.4.2.1. – 4.4.2.2. Дробление и измельчение
Исходное сырье поступает в одновальцовую дробилку CEB 16/40, затем в молотковую мельницу CHM 23/20, где происходит измельчение сырья до нужного размера до 0,5 – 1,0 мм. .
4.4.2.3. Обогащение твердого сплава
После измельчения сырье направляется в магнитный сепаратор ПБС-63/50. Магнитная сепарация позваляет значительно отделить твердосплавный лом от стали, что благоприятно влияет на параметры процесса.
4.4.2.4. Хлорирование в расплаве
Далее обогащенный твердосплавный концентрат хлорируют в эвтектическом расплаве хлоридов натрия и калия (температура плавления меньше 600°C). Хлорирование в расплаве имеет ряд преемуществ перед другими методами хлорироания их числе: непрерывность процесса, позволяющая автоматизировать управление; более высокие скорость процесса и удельная производительность основного аппарата; более эффективные массо - и теплообмен; ненужно сырье брикетировать.
Твердосплавный концентрат шнековым питателем на зеркало расплава. В нижнюю зону хлоратора через фурмы подается хлор, который барботирует через расплав хлоридов. Проходя через слой расплавленных хлоридов, хлор нагревается и вступает во взаимодействие с диспергированным в расплаве концентратом.
Солевая ванна состоит из хлоридов, натрия, калия и образующихся при взаимодействии концентрата с хлором CoCl2, FeCl3, ZnCl2 и CuCl2
При барботировании хлора в хлораторе создается интенсивная циркуляция расплава, что обеспечивает эффективный массо-и теплообмен, высокие скорости процесса хлорирования и соответственно повышенную производительность аппаратуры.
Расплав, содержащий сумму хлоридов кобальта, железа периодически по мере накопления необходимо сливать из хлоратора и направляют на дальнейшую переработку.
Сливаемый из хлоратора расплав хлоридов содержит непрохлорированный остаток, улерод и др [3].
4.4.2.5. Очистка расплава хлоридов от нерастворимого остатка
Очистка расплава хлоридов от нерастворимого остатка осуществляется отстаиванием.
Отстаивание обеспечивает очистку от непрохлорированного остатка примерно на 80%. Метод отстаивания связан с необходимостью возврата осадка в хлоратор, что является трудоемкой операцией [3].
4.4.2.6. Очистка парогазовойсмеси от хлоридов железа
Метод "солевой" очистки основан на большей термической стабильности комплексов МFeС14 (М = Na, К) по сравнению с комплексами, образованными оксохлоридом вольфрама и титана с хлоридами натрия и калия. При контакте ПГС с хлоридами натрия и калия хлориды железа связываются в прочные комплексы. Термическая стабильность соединений TiC14 и WOCl4 с МС1 (М = Na, К) в сопоставимых условиях значительно ниже; W и Ti хлоридами щелочных металлов не удерживаются.
Оксохлорид вольфрама соединений не образует c МС1 (М = Na, К). Тетрахлорид титана с хлоридом натрия не взаимодействует, а с хлоридом калия образует термически непрочное соединение К2Т1С16.
В пар переходят хлориды щелочных металлов, что и объясняет их появление в системе конденсации после аппарата солевой очистки - солевого оросительного фильтра (СОФ).
Реализация процесса связана с использованием расплавов хлоридов натрия и калия: это делается для понижения температуры плавления расплава, уменьшения его вязкости. Кроме того, хлороферраты калия термически более устойчивы и, следовательно, степень очистки повышается. В промышленной практике для работы в СОФ используют отработанный электролит магниевого производства, содержащий хлориды калия и натрия.
Температурный режим процесса "солевой" очистки определяется двумя факторами. С понижением температуры расплава прочность комплексов хлоридов железа с хлоридами щелочных металлов возрастает и очистка парогазовойсмеси от этих элементов улучшается. В то же время снижение температуры приводит к увеличению потерь титана с расплавом за счет образования соединений с хлористым калием K2TiCl6. Повышение температуры > 600°С нежелательно, так как степень очистки от железа падает.
Солевая очистки ПГС смеси может быть осуществлена: в слое насадки из хлоридов натрия или калия, барботированием через расплав хлоридов щелочных металлов, орошением парогазовой смеси легкоплавким расплавом хлористых солей в скруббере. Скруббер, орошаемый легкоплавким расплавом хлоридов щелочных металлов, который органически вписывается в конденсационную систему и размещается на выходе их хлоратора перед конденсационной системой. В этом случае очистка парогазовой смеси совмещается с ее охлаждением, что стабилизирует температурный режим процесса конденсации очищенной ПГС. Очистка хлоропроизводных вольфрама и титана от хлоридов железа обеспечивается на ~ 95% [3].
4.4.2.7. Конденсация ПГС
После солевой очистки ПГС поступает систему конденсации. Устройства конденсации ПГС предназначаются для: удаления ПГС из аппарата хлорирования; отвода тепла от ПГС с целью достижения температур, при которых происходит совместная или селективная конденсация компонентов; сбора продуктов конденсации.















