202289 (690117), страница 3
Текст из файла (страница 3)
– которые содержат стабильный источник излучения, при чем фотоприемник служит лишь индикатором равенства яркостей данного источника и объекта.
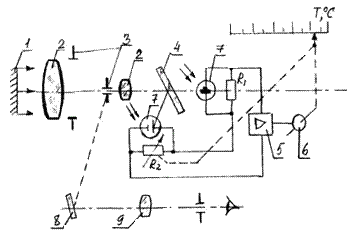
Рисунок 1.5 – Фотоэлектрический датчик теплового излучения
На рис. 1.5 приведена схема фотоэлектрического датчика, относящегося ко второй группе. В нем в качестве приемника излучения применяется фотоэлемент. Поток от излучателя 1 линзой 2 и диафрагмой 3 объектива фокусируется на отверстии 7 в держателе светофильтра 5 таким образом, чтобы изображение визируемого участка поверхности излучателя перекрывало данное отверстие. В этом случае величина светового потока, падающего на катод фотоэлемента 6, расположенного за светофильтром, определяется яркостью излучателя, т. е. его температурой. В держателе светофильтра расположено еще одно отверстие 8, через которое на фотоэлемент попадает поток от лампы обратной связи 17. Световые потоки от излучателя 1 и лампы 17 подаются на катод попеременно с частотой 50 Гц, что обеспечивается с помощью вибрирующей заслонки 9. Возвратно-поступательное движение заслонки обеспечивается с помощью катушки возбуждения 10 и постоянного магнита 12. В вибраторе происходит перемагничивание стального якоря 11, который с частотой 50 Гц поочередно притягивается полюсами магнита 12 и перемещает заслонку 9. При различии световых потоков излучателя 1 и лампы 17 в токе фотоэлемента появится переменная составляющая, имеющая частоту 50 Гц и амплитуду, пропорциональную разности данных потоков. Усилитель 13 обеспечивает усиление переменной составляющей, а фазовый детектор 14 последующее ее выпрямление. Полученный выходной сигнал подается на лампу, что вызывает изменение силы тока накаливания. Это будет происходить до тех пор, пока на катоде фотоэлемента световые потоки от двух источников не уравняются. Следовательно, ток лампы обратной связи однозначно связан с яркостной температурой объекта измерения.
В цепь лампы 17 включено калиброванное сопротивление 16, падение напряжения на котором пропорционально силе тока и измеряется быстродействующим потенциометром 15, снабженным температурной шкалой. Окуляр 4 обеспечивает наводку устройства на объект измерения.
1.1.7.3 Датчики спектрального отношения
Датчики данного типа измеряют цветовую температуру объекта по отношению интенсивностей излучения в двух определенных участках спектра, каждая из которых характеризуется эффективной длиной волны
и
.
На рис. 1.6 приведена схема двухканального датчика спектрального отношения (СО), в котором преобразование энергии получения в электрические сигналы производится с помощью двух кремниевых фотодиодов. Поток излучения от объекта измерения 1 с помощью оптической системы, состоящей из линз 2, апертурной и полевой диафрагмы 3, передается на интерференционный светофильтр 4. Последний обеспечивает выделение двух потоков, каждый из которых характеризуется собственным спектром. Данные потоки попадают на кремниевые фотодиоды 7, которые преобразуют излучение в фототок, протекающий через сопротивление R1 и R2, включенные в измерительную схему вторичного регистрирующего прибора – логометра. Разность падений напряжений на сопротивлениях подается на вход усилителя 5, выходной сигнал которого поступает на реверсивный двигатель 6, перемещающий движок реохорда R2 и стрелку относительно шкалы наступления баланса, соответствующего измеряемой температуре.
Рисунок 1.6 – Датчик спектрального отношения теплового излучения
Интерференционный фильтр 4 является полупрозрачным зеркалом, имеющим высокий коэффициент пропускания в одной и высокий коэффициент отражения в другой области спектра. Зеркало 8 и окуляр 9 обеспечивают визуальную наводку объектива пирометра на объект измерения. Для уменьшения погрешности от влияния окружающей температуры фильтр 4 и приемники излучения 7 помещены в термостат.
1.1.7.4 Датчики суммарного излучения
Датчики суммарного излучения измеряют радиационную температуру тела, поэтому их часто называют радиационными. Принцип действия данных измерителей температуры основан на использовании закона Стефана-Больцмана. Однако в случае применения оптических систем в СИ определение температуры ведется по плотности интегрального излучения не во всем интервале длин волн, а значительно меньшем: для стекла рабочий спектральный диапазон составляет 0.4 – 2.5, а для плавленого кварца 0.4 – 4 мкм.
Рисунок 1.7 – Датчик суммарного теплового излучения
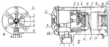
Датчик выполняется в виде телескопа, линза объектива которого фокусируется на термочувствительном приемнике излучения нагретого тела. В качестве термочувствительного элемента используются термопары, термобатареи, болометры (металлические и полупроводниковые), биметаллические спирали и т.п. Наиболее широко применяются термобатареи (рис. 1.7,а), в которых используется 6-10 миниатюрных термопар (например, хромель-копелевые), соединенных последовательно. Поток излучения попадает на расклепанные в виде тонких зачерненных лепестков рабочие концы 4 термопар 2. Свободные концы термопар привариваются к тонким пластинкам 1, закрепленным на слюдяном кольце 3. Металлические выводы 5 служат для присоединения к измерительному прибору, в качестве которого обычно используются потенциометры или милливольтметры. Рабочие концы термопар поглощают падающую энергию и нагреваются. Свободные концы находятся вне зоны потока излучения и имеют температуру корпуса телескопа. В результате возникновения перепада температур термобатарея развивает термо-ЭДС, пропорциональную температуре рабочих спаев, а следовательно, и температуре объекта измерения.
На рис. 1.7,б показано устройство телескопа СИ. Он включает: корпус 1 с диафрагмой 7; объектив, имеющий стеклянную или кварцевую линзу 2, устанавливаемую во втулке 13, ввинчиваемой в корпус; блок термобатареи, состоящей из самой термобатареи 3, корпуса 5, отростка, на который навинчивается подвижная диафрагма 6, и контактных винтов 10; компенсационное медное сопротивление 4, шунтирующее термобатарею и обеспечивающее уменьшение влияния измерений температуры телескопа на показания пирометра; окуляр, включающий линзу 8 и защитное стекло 9. Фланец 11 служит для крепления корпуса к защитной арматуре, обеспечивающей работу пирометра в тяжелых условиях металлургического производства.
Получение стандартной градуировки обеспечивается перемещением диафрагмы 6, зубчатый венец которой сочленен с зубьями трубки 12. Диафрагма, устанавливаемая в телескопе, ограничивает телесный угол визирования, что исключает влияние на показания размеров излучателя и его расстояния от датчика. При этом на термобатарею попадает излучение только с определенного небольшого участка объекта измерения. Размеры этого участка определяются по показателю визирования, который является отношением наименьшего диаметра излучателя к расстоянию от объекта измерения до объектива телескопа. При этом изображение круга, вписанного в излучатель, полностью перекрывает отверстие диафрагмы 6, находящейся перед термобатареей.
Телескопы с показателем визирования более 1/16 являются широкоугольными, а с показателем, равным или меньшим 1/16, - узкоугольными. При измерении температуры в схему пирометра между телескопом и вторичным прибором (милливольтметром или потенциометром) включается панель уравнительных и эквивалентных сопротивлений. Она обеспечивает постоянную нагрузку телескопа при работе с одним или двумя вторичными приборами, а также замену телескопа одной градуировки на телескоп другой градуировки.
1.2 Выпускаемые пирометрические датчики
На данный момент выпускается множество различных пирометрических датчиков. Рассмотрим некоторые из них.
Датчики фирмы Murata.
Пироэлектрические инфракрасные чувствительные элементы фирмы Murata, имеют высокую чувствительность и надежное исполнение, возможные благодаря керамической и упаковочной технологии Murata, которая развивалась многие годы.
Особенности датчиков:
– высокая чувствительность и превосходное соотношение С/Ш;
– высокая стабильность к температурным изменениям;
– высокая невосприимчивость к внешней помехе;
– высокое отношение качество-цена.
Инфракрасный пироэлектрический SMD датчик Murata IRS-A200ST01
Схема подключения и габаритные характеристики SMD датчика IRS-A200ST01 приведены на рис. 1.8.
Рисунок 1.8 – Габаритные размеры и электрическая схема сенсора
Основные характеристики датчика IRS-A200ST01:
Типовая чувствительность 3.8 мВ (размах напряжения на выходе сенсора при прерывании излучения абсолютно черного тела с температурой 227 °С, находящегося от него на расстоянии 140 мм);
-
угол обзора 50°;
-
напряжение питания от 2 до 15 В;
-
размеры фоточувствительных элементов 2.5×0.55 мм;
-
диапазон рабочих температур от -40 до 70 °С;
-
температура хранения от -40 до 85 °С;
-
возможна пайка оплавлением при температурах до 240°C;
-
оптический фильтр 5 мкм;
-
габаритные размеры 6.7×5.7×2.6 мм.
Инфракрасные пироэлектрические датчики Murata серии IRA-E7
Схема подключения и габаритные характеристики датчиков Murata IRА-E700ST0 и IRА-E710ST0 приведены на рис. 1.9.
Рисунок 1.9 – Габаритные размеры и электрические схема сенсоров
Основные характеристики датчиков серии IRA-E7:
-
типовая чувствительность 4.3 мВ;
-
угол обзора 45°;
-
напряжение питания от 2 до 15 В;
-
размеры фоточувствительных элементов 2×1 мм;
-
диапазон рабочих температур от -40 до 70 °С;
-
оптический фильтр 5 мкм;
-
температура хранения от -40 до 85 °С;
-
габаритные размеры 9.2×9.2×4.7 мм.
Температурно компенсированные инфракрасные пироэлектрические датчики Murata серии IRA-E420
Схема подключения и габаритные характеристики датчиков Murata IRА-E420S1, IRА-E420QW1 и IRА-E420SW1 приведены на рис. 1.10.
Рисунок 1.10 – Габаритные размеры и электрические схема сенсоров
Основные характеристики датчиков серии IRA-E420 приведены в табл. 1.2.
Таблица 1.2 – Основные характеристики датчиков серии IRA-E420
| Характеристика | IRА-E420S1 | IRА-E420QW1 | IRА-E420SW1 | |
| Типовая чувствительность | 3.4 мВ | 1.3 мВ | 0.45 мВ | |
| Угол обзора | 17° | 50° | ||
| Напряжение питания | 3…15 В | |||
| Диапазон рабочих температур | -25…70 °С | -25…55 °С | -25…70 °С | |
| Температура хранения | -30…100 °С | |||
| Габаритные размеры | 9.2×9.2×4.9 мм | 9.2×9.2×4.5 мм | ||
| Оптический фильтр | 1…15 мкм | 4.3 мкм | 4.45 мкм | |
Пироэлектрические датчики фирмы Banner Engineerihg cерии М18
Основные характеристики датчиков Banner Engineerihg cерии М18 приведены в табл.1.3 и 1.4.
Таблица 1.3 – Основные характеристики датчиков cерии М18
| Модель | Соединение | Отношение расстояние/размер окна | Чувствительная поверхность |
| M18TUP8 | Кабель | 8:1 | Встроенные линзы |
| M18TUP6E | Кабель | 6:1 | Закрытая пластиковая поверхность |
| M18TUP14 | Кабель | 14:1 | Германиевые линзы |
| M18TUP8Q | Разъем | 8:1 | Встроенные линзы |
| M18TUP6EQ | Разъем | 6:1 | Закрытая пластиковая поверхность |
| M18TUP14Q | Разъем | 14:1 | Германиевые линзы |
Таблица 1.4 – Характеристики датчиков cерии М18 с аналоговым выходом
| Диапазон измеряемых температур, ºC | 0…300 |
| Длина волны, нм | 8…14 |
| Программируемые функции | обучение |
| Выход, В | 0..10 DC |
| Линейность, ºC | ± 2 (0…50 ºC) ±1 (50…300 ºC) |
| Повторяемость, | ± 1% |
| Напряжение питания, В | 12…30 DC |
| Потребляемый ток, мА | < 35 |
| Минимальное сопротивление на выходе, кОм | 2,5 |
| Защита от короткого замыкания | есть |
| Ток утечки, мкА | < 10 |
| Время отклика, мс | 75 |
| Готовность к работе после включения, с | 1,5 |
| Минимальное сопротивление входа обучения, кОм | 3 |
| Время прогрева, мин | 5 |
| Температура окружающей среды, ºC | -20…70 |
| Материал корпуса | Нерж. сталь, пластик, акрил. |
| Соединение | Разъем M12×1 5pin Кабель 2м 5-ти ж. |
Схема подключения и габаритные характеристики датчиков Banner Engineerihg cерии М18 приведены на рис. 1.11.















