202289 (690117), страница 2
Текст из файла (страница 2)
Жидкостный термометр состоит из стеклянных баллона 1, капиллярной трубки 3 и запасного резервуара 4 (рис. 1.1). Термометрическое вещество 2 заполняет баллонmи частично капиллярную трубку. Свободное пространство в капиллярной трубке и в запасном резервуаре заполняется инертным газом или может находиться под вакуумом. Запасной резервуар или выступающая за верхним делением шкалы часть капиллярной трубки служит для предохранения термометра от повреждения при чрезмерном перегреве.
В качестве термометрического вещества чаще всего применяют химически чистую ртуть. Она не смачивает стекла и остается жидкой в широком интервале температур. Кроме ртути в качестве термометрического вещества в стеклянных термометрах применяются и другие жидкости, преимущественно органического происхождения. Например: метиловый и этиловый спирт, керосин, пентан, толуол, галлий, амальгама таллия.
Основные достоинства стеклянных жидкостных термометров – простота употребления и достаточно высокая точность измерения даже для термометров серийного изготовления. К недостаткам стеклянных термометров можно отнести: плохую видимость шкалы (если не применять специальной увеличительной оптики) и невозможность автоматической записи показаний, передачи показаний на расстояние и ремонта.
У лабораторных и других термометров, градуируемых и предназначенных для измерения при погружении в измеряемую среду до отсчитываемого деления, могут возникать систематические погрешности за счет выступающего столика термометра. Если капиллярная трубка будет погружена в измеряемую среду не полностью, то температура выступающей части капиллярной трубки будет отличаться от температуры измеряемой среды, в результате возникнет погрешность измерения. Поправку в градусах на выступающий столбик в показания термометра можно внести по уравнению
где
– коэффициент видимого объемного теплового расширения термометрической жидкости в стекле,
t – действительная температура измеряемой среды,
tв.с. – температура выступающего столбика, измеренная с помощью вспомогательного термометра,
n – число градусов в выступающем столбике.
У термометров, предназначенных для работы с неполным погружением, может возникнуть аналогичная систематическая погрешность, если температура окружающей среды, а следовательно, и выступающего столбика будут отличаться от его температуры при градуировке.
Поправка, в этом случае
где
– температура выступающего столбика при градуировке (в первом приближении допустимо считать
),
– средняя температура выступающего столбика.
Поправки могут иметь большие значения у термометров с органическими термометрическими жидкостями, для которых коэффициент примерно на порядок выше, чем у ртутных термометров.
1.1.4 Манометрические термометры
Действие манометрических термометров основано на использовании зависимости давления вещества при постоянном объеме от температуры. Замкнутая измерительная система манометрического термометра состоит из (рис. 1.2) из чувствительного элемента, воспринимающего температуру измеряемой среды, – металлического термобаллона 1, рабочего элемента манометра 2, измеряющего давление в системе, длинного соединительного металлического капилляра 3. При изменении температуры измеряемой среды давление в системе изменяется, в результате чего чувствительный элемент перемещает стрелку или перо по шкале манометра, отградуированного в градусах температуры.
Рисунок 1.2 – Манометрический термометр
Достоинствами манометрических термометров являются сравнительная простота конструкции и применения, возможность дистанционного измерения температуры и возможность автоматической записи показаний. К недостаткам манометрических термометров относятся: относительно невысокая точность измерения (класс точности 1.6; 2.5; 4.0 и реже 1.0); небольшое расстояние дистанционной передачи показаний и трудность ремонта при разгерметизации измерительной системы.
Поверка показаний манометрических термометров производится теми же методами и средствами, что и стеклянных жидкостных.
1.1.5 Термоэлектрические термометры
Данный тип устройств характеризует высокая точность и надежность, возможность использования в системах автоматического контроля и регулирования параметра, в значительной мере определяющего ход технологического процесса в металлургических агрегатах.
Сущность термоэлектрического метода заключается в возникновении ЭДС в проводнике, концы которого имеют различную температуру. Для того, чтобы измерить возникшую ЭДС, ее сравнивают с ЭДС другого проводника, образующего с первым термоэлектрическую пару AB (рис. 1.3), в цепи которой потечет ток.
Рисунок 1.3 – Термоэлектрисеский термометр
Результирующая термо-ЭДС цепи, состоящей из двух разных проводников A и B равна
где
и
– разность потенциалов между проводниками A и B при температурах t2 и t1, соответственно.
Термо-ЭДС данной пары зависит только от температуры t1 и t2 и не зависит от размеров термоэлектродов (длины, диаметра), величин теплопроводности и удельного электросопротивления.
Для увеличения чувствительности термоэлектрического метода измерения температуры в ряде случаев применяют термобатарею: несколько последовательно включенных термопар, рабочие концы которых находятся при температуре t2, свободные при известной и постоянной температуре t1.
1.1.6 Электрические термометры сопротивления
Принцип действия данных термометров основан на использовании зависимости электрического сопротивления вещества от температуры. Зная данную зависимость, по изменению величины сопротивления термометра судят о температуре среды, в которую он погружен. Выходным параметром устройства является электрическая величина, которая может быть измерена с весьма высокой точностью, передана на большие расстояния и непосредственно использована в системах автоматического контроля и регулирования.
В качестве материалов для изготовления чувствительных элементов ТС используются чистые металлы: платина, медь, никель, железо и полупроводники. Изменение электросопротивления данного материала при изменении температуры характеризуется температурным коэффициентом сопротивления
, который вычисляется по формуле
где t – температура материала;
R0 и Rt – электросопротивление соответственно при 0 ºС и температуре t.
Сопротивление полупроводников с увеличением температуры резко уменьшается, т. е. они имеют отрицательный температурный коэффициент сопротивления практически на порядок больше, чем у металлов. Полупроводниковые термометры сопротивления (ТСПП) в основном применяются для измерения низких температур.
Достоинствами ТСПП являются небольшие габариты, малая инерционность, высокий коэффициент
.
Однако они имеют и существенные недостатки:
– нелинейный характер зависимости сопротивления от температуры;
– отсутствие воспроизводимости состава и градуировочной характеристики, что исключает взаимозаменяемость отдельных ТС данного типа. Это приводит к выпуску ТСПП с индивидуальной градуировкой.
1.1.7 Бесконтактное измерение температуры
1.1.7.1 Основные понятия и законы излучения
О температуре нагретого тела можно судить на основании измерения параметров его теплового излучения, представляющего собой электромагнитные волны различной длины. Чем выше температура тела, тем больше энергии оно излучает. Датчики, действие которых основано на измерении теплового излучения, называют пирометрическими сенсорами. Одним из главных достоинств данных устройств является отсутствие влияния измерителя на температурное поле нагретого тела, так как в процесс се измерения они не вступают в непосредственный контакт друг с другом. Потому данные методы получили название бесконтактных.
На основании законов излучения разработаны датчики следующих типов:
– датчик суммарного излучения (СИ) – измеряется полная энергия излучения;
– датчик частичного излучения (ЧИ) – измеряется энергия в ограниченном фильтром (или приемником) участки спектра;
– датчики спектрального отношения (СО) – измеряется отношение энергии фиксированных участков спектра.
В зависимости от типа датчика различаются радиационная, яркостная, цветовая температуры.
Радиационной температурой реального тела Тр называют температуру, при которой полная мощность АЧТ равна полной энергии излучения данного тела при
действительной температуре Тд. Яркостной температурой реального тела Тя называют температуру, при которой плотность потока спектрального излучения АЧТ равна плотности потока спектрального излучения реального тела для той же длины волны (или узкого интервала спектра) при действительной температуре Тд. Цветовой температурой реального тела Тц называют температуру, при которой отношения плотностей потоков излучения АЧТ для двух длин волн
и
равно отношению плотностей потоков излучений реального тела для тех же длин волн при действительной температуре Тд.
1.1.7.2 Датчики частичного излучения
К данному типу датчиков, измеряющих яркостную температуру объекта, относятся монохроматические оптические пирометры и фотоэлектрические пирометры, измеряющие энергию потока в узком диапазоне длин волн.
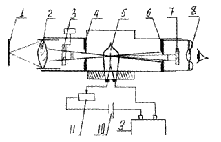
Принцип действия оптических датчиков основан на использовании зависимости плотности потока монохроматического излучения от температуры. На рис. 1.4 представлена схема оптического пирометра с "исчезающей" нитью, принцип действия которого основан на сравнении яркости объекта измерения и градуированного источника излучения в определенной длине волны.
Изображения излучателя 1 линзой 2 и диафрагмой 4 объектива пирометра фокусируется в плоскости нити накаливания лампы 5. Оператор через диафрагму 6 линзу 8 окуляра и красный светофильтр 7 на фоне раскаленного тела видит нить
лампы. Перемещая движок реостата 11, оператор изменяет силу тока, проходящего через лампу, и добивается уравнивания яркости нити и яркости излучателя. Если яркость нити меньше яркости тела, то она на его фоне выглядит черной полоской, при большей температуре нити она будет выглядеть, как светлая дуга на более темном фоне.
Рисунок 1.4 – Оптический датчик теплового излучения
При равенстве яркости излучателя и нити последняя "исчезает" из поя зрения оператора. Этот момент свидетельствует о равенстве яркостных температур объекта измерения и нити лампы. Питание лампы осуществляется с помощью батареи 10. Прибор 9, фиксирующий силу тока, протекающего в измерительной цепи, заранее проградуирован в значениях зависимости между силой тока и яркостной температурой АЧТ, что позволяет производить считывание результата в ºС.
Фотоэлектрические датчики частичного излучение обеспечивают непрерывное автоматическое измерения и регистрацию температуры. Их принцип действия основано на использовании зависимости интенсивности излучения от температуры в узком интервале длин волн спектра. В качестве приемников в данных устройствах используются фотодиоды, фотосопротивления, фотоэлементы и фотоумножители.
Фотоэлектрические датчики частичного излучения делятся на две группы:
– в которых мерой температуры объекта является непосредственно величина потока приемника излучения;















