124635 (690101), страница 2
Текст из файла (страница 2)
2. Диаметр сварочной проволоки сплошного сечения 2–2,5 мм, порошковой проволоки – 2–3 мм.
3. Звездочкой отмечена марка сварочной проволоки, используемая только при сварке арматуры класса А-II марки 10ГТ.
Стержни арматурной стали класса А-1 должны выпускаться круглыми гладкими; стержни классов А-II, А-III, А-IV и А-V периодического профиля. Каждый класс арматурной стали должен соответствовать ГОСТ 5781–75*.
4. Технологические особенности, которые необходимо учитывать при сварке арматуры и закладных деталей
Сварка стержней арматуры железобетона в монтажных условиях
В железобетонных конструкциях соединение стержней арматуры осуществляется, как правило, одним из электродуговых способов сварки или полуавтоматическим, а именно:
– без стальных скоб-накладок;
– на стальных скобах-накладках;
– с круглыми накладками или с нахлестом;
– в инвентарных формах (медных или графитовых);
– внахлест или втавр с плоскими элементами.
Перед сборкой узлов спряжений стержней арматуры следует убедиться в соответствии классов стали, размеров и взаимного расположения соединяемых элементов проектным и соответствиям ГОСТ 10922–92 собранных стыков под сварку.
Выпуски стержней, закладные изделия и соединительные детали должны быть очищены до чистого металла в обе стороны от кромок или разделки на 20 мм от грязи, ржавчины и других загрязнений. Вода, в том числе конденсационная, снег или лед должны быть удалены с поверхности стержней арматуры, закладных деталей и соединительных деталей путем нагревания их пламенем газовых горелок или паяльных ламп до температуры не выше 100 °С.
При увеличенных, по сравнению с требуемыми, зазорах между стыкуемыми стержнями допускается применение одной вставки, которые должны изготовляться из арматуры того же класса и диаметра, что и стыкуемые стержни. При сварке стержней встык с накладками увеличение зазора должно компенсироваться соответствующим увеличением длины накладок.
Длина каждого выпуска арматуры из тела бетона должна быть не менее 150 мм при нормальных зазорах между торцами стержней и 100 мм – при применении вставки. Следует стремиться изготавливать изделия так, чтобы длина выпусков позволяла вести монтаж и сварку без вставок, т.е. подгонку зазора между выпусками производить на месте монтажа, используя газовую резку.
Сборные железобетонные конструкции, монтируемые только на выпусках, должны собираться в кондукторах, обеспечивающих проектное положение. Сварка стержней железобетонных конструкций, удерживаемых краном, не допускается.
Сборные железобетонные конструкции, имеющие закладные детали, следует собирать на прихватках. Прихватки должны размещаться в местах последующего наложения сварных швов. Длина прихваток должна составлять 15–20 мм, а высота (катет) – 4–6 мм. Количество прихваток должно быть не менее двух. Выполнять прихватки следует, применяя те же материалы и такого же качества, что и материалы для основных швов. Перед сваркой основных швов поверхность прихватки и соседних участков должна быть очищена от шлака и брызг металла. Прихватки должны выполнять обученные сварщики, имеющие удостоверения на право производства этих работ.
Не допускается наличие ожогов и подплавления от дуговой сварки на поверхности рабочих стержней. Ожоги должны быть зачищены абразивным кругом на глубину не менее 0,5 мм. При этом уменьшение площади сечения стержня (углубления в основной металл) не должно превышать 3%. Место механической зачистки должно иметь плавные переходы к телу стержня, а риски от абразивной обработки должны быть направлены вдоль стержня. Резка концов стержней электрической дугой при сборке конструкций или разделке кромок стержней не допускается. Указанные операции следует выполнять специальными электродами для резки арматуры марки ОЗР-2.
Ручная дуговая сварка арматуры протяженными швами
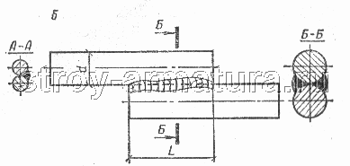
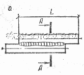
Ручная дуговая сварка арматуры применяется для стыковки вертикальных и горизонтальных стержней. Сварное соединение может быть нахлесточным и с накладками. Нахлесточное соединение выполняют, как правило, протяженными швами, но могут быть применены и дуговые точки. Кроме того, возможны соединения арматурных стержней с длинной и короткой нахлесткой, а также с односторонним или двусторонним швом (рис. 1).
Рис. 1. Нахлесточное сварное соединение арматуры протяженными швами а – с длинной нахлесткой в односторонним швом; б – с короткой нахлесткой и двусторонними швами
Сварные соединения арматуры стержней с накладками, круглыми или уголковыми могут быть длинными и короткими. При этом накладки могут смещаться по длине. Дуговую сварку арматуры выполняют фланговыми швами: двумя односторонними, двумя двусторонними, четырьмя двусторонними, односторонними с «усом» (рис. 2). При сварке арматуры двусторонними швами при наложении второго шва с обратной стороны соединения в нем могут возникнуть продольные горячие трещины. Чтобы предупредить возникновение такого вида трещин необходимы тщательный выбор типа электродов и строгое выдерживание технологического режима дуговой сварки. В зависимости от диаметра стыкуемых стержней протяженные сварные швы могут быть однопроходными и многопроходными. Ток для дуговой сварки выбирают в зависимости от типа электродов. При этом при дуговой сварке арматуры в вертикальном положении ток должен быть на 10–20% меньше, чем для горизонтальных стержней.
Рис. 2.
Ручная дуговая сварка арматуры многослойными швами без дополнительных технологических элементов
При небольших объемах работ и наличии сварщиков высокой квалификации возможна дуговая сварка арматуры многослойными швами без формующих элементов. Таким способом рекомендуется вести дуговую сварку стыковых соединений арматуры в вертикальном положении следующих классов арматурной стали: A-1 (Ø 20 – 40 мм), А-2 (Ø 20–80 мм), А-3 (Ø 20–40 мм). Конструктивные формы торцов арматурных стержней при их стыковке показаны на рис. 3. Формы разделки, углы скосов и их направление, притупление и их размеры, зазоры между торцами стержней стандартизированы.
Рис. 3. Стыковые сварные соединения арматуры, выполненные без дополнительных элементов
а – вертикальных однорядных соосных стержней при свободном доступе с двух сторон к месту сварки; б-то же, при доступности соединения с одной стороны; в-горизонтальных соосных стержней с разделкой торцов
Дуговую сварку арматуры выполняют одиночным электродом. Сварной шов накладывают сначала с одной стороны разделки, затем с другой на всю ее ширину. В процессе заплавления разделки наплавленный металл периодически очищают от шлака. Режим дуговой электросварки устанавливают в соответствии с паспортными данными электродов. Обычно для этого вида электросварки применяют электроды с фтористокальциевым покрытием типа Э55 или Э50А.
Ручная дуговая сварка арматуры с принудительным формированием шва
В ряде случаев по проекту необходимы сварные швы крестовых соединений арматуры с принудительным формированием шва. Для таких арматурных изделий рекомендуется применять стержни диаметром 14–40 мм из стали классов A-1, A-2, А-3. Предварительно стержни собирают в кондукторах, обеспечивающих плотное их примыкание друг к другу, или же фиксации стержней достигают с помощью прихваток сваркой. При этом кондукторы и прихватки не должны препятствовать установке формующих элементов.
Ручная дуговая точечная сварка прихватками двух стержней
В условиях строительной площадки при возведении монолитных железобетонных конструкций зданий и инженерных сооружений в качестве арматурных изделий широко применяют сетки и каркасы, изготовляемые по месту. В таких изделиях имеется множество различных крестовых соединений, сварку которых производят с помощью ручной дуговой сварки точками.
Ограниченное применение большинства марок стали классов А-2 и A-3 вызвано тем, что при точечной сварке в контакте крестового соединения стержней быстро отводится теплота от наплавленного металла, что приводит к местному закаливанию стали, а следовательно, и к повышению ее хрупкости. Особенно чувствительны к указанным термическим воздействиям среднеуглеродистые и низкоуглеродистые арматурные стали.
Ванная полуавтоматическая сварка арматуры под флюсом
Сварка арматуры с применением техники ванной полуавтоматической сварки горизонтальных арматурных стержней выполняется с помощью дополнительных технологических элементов: разъемных форм или съемных подкладок (стальных, медных, графитовых). Наиболее благоприятные условия кристаллизации металла шва создаются в медных и графитовых формующих устройствах, что позволяет получить металл шва с высокими показателями механических свойств.
Формующие устройства устанавливают симметрично зазору между торцами стыкуемых стержней арматуры (рис. 4). На расстоянии 40–50 мм от вертикальной оси стыка на стержни накладывают 2–3 витка шнурового асбеста для плотного примыкания арматуры к форме. Затем в плавильное пространство засыпают 20–30 г. флюса. Если используют медные формы, то до их установки флюс засыпают на дно формы слоем в 5–7 мм. Такая мера позволяет усилить сварной шов в нижней части стыка.
Рис. 4. Установка разъемных форм и медной подкладки на свариваемые стержни при ванной сварке арматуры
1 – шпуровой асбест; 2 – флюс; 3 – центрирующая рамка – указатель границ плавильного пространства
Возбуждают сварочную дугу, касаясь концом проволоки нижней кромки торца арматурного стержня. Проплавление нижней части торца стержня происходит при колебательных движениях проволоки поперек оси стержней в течение 5–15 с. Затем аналогичную операцию проплавления выполняют со вторым стержнем. Схемы перемещения конца электродной проволоки во время сварки арматуры при заполнении ванны жидким металлом показаны на рис. 5. При сварке арматуры диаметром 45 мм и более можно использовать присадку в виде металлической крупки, опилок, рубленой проволоки в количестве 25–35% от объема металла сварного шва. Для поддержания оптимальной глубины шлаковой ванны (15–20 мм) периодически порциями добавляют флюс.
Рис. 5. Схемы перемещения конца электродной проволоки (показано стрелками) при полуавтоматической ванной сварке горизонтальных стержней арматуры (форма условно не обозначена)
а – в начальный период проплавления нижних кромок торцов стержней (к – точка касания электродной проволокой торцов стержней для возбуждения дуги); б – в процессе заполнения разделки стержней; в-на заключительном этапе 1 – флюс; 2 – электродная проволока; 3 – шлаковая ванна; 4 – металл шва.
Дуговую сварку стыковых соединений вертикальных стержней под флюс, как правило, выполняют в съемных медных или графитовых формах. После возбуждения дуги конец электродной проволоки перемещают колебательными движениями по схеме, приведенной на рис. 6. После полного проплавления торца нижнего стержня во избежание подреза верхнего стержня в процессе электросварки регулируют напряжение, снимая его ступенями на 15–25% (2–4 раза). Режим ванной дуговой сварки стыковых соединений вертикальных стержней аналогичен сварке горизонтальных арматурных стержней.
















