124481 (690029), страница 5
Текст из файла (страница 5)
Таблица 5.16 Значения
,
, Nдвi для заготовки 250
250 мм
| № клети | | | Nдвi, МВт |
| 1 | 2 | 3 | 4 |
| 1 | 0,2 | 0,57 | 0,55 |
| 2 | 1 | 2,86 | 2,83 |
| 3 | 1,5 | 6,00 | 3,47 |
| 4 | 2 | 8,00 | 4,79 |
| 1 | 2 | 3 | 4 |
| 5 | 2,5 | 10,00 | 5,25 |
| 6 | 3 | 12,00 | 6,51 |
| 7 | 3,5 | 14,00 | 6,51 |
| 8 | 4 | 16,00 | 7,67 |
-
Вспомогательное оборудование
Все механизмы, применяемые в прокатных цехах для выполнения различных вспомогательных операций, сопровождающих процесс обработки прокатных изделий, полуфабрикатов и исходных материалов, можно разделить на две группы: 1) транспортирующие, обеспечивающие перемещение исходных материалов, полупродукта и готовых изделий (подачу слитков, блюмов, слябов, заготовки, горячекатаных рулонов к станам, передачу их к различным агрегатам и к рабочим валкам прокатного стана, уборку металла от стана после прокатки и т. д.); 2) обрабатывающие, работа которых связана с проведением операций, не относящихся непосредственно к деформации металла, но технологически необходимых для последующей обработки его.
К первой группе механизмов относят: рольганги; транспортеры; конвейеры; шлепперы; холодильники, назначение которых обеспечивать продольное и поперечное перемещение металла; манипуляторы, предназначенные для поперечного перемещения металла и направления его в валки; подъемные столы, поворотные механизмы; толкатели; опрокидыватели, предназначенные для перемещения металла (блюмов, слябов, заготовки, рулонов) в горизонтальной и вертикальной плоскостях или для изменения положения рулона, листа (из вертикального в горизонтальное положение и наоборот и т. д.).
Ко второй группе относятся механизмы, предназначенные для резки металла (ножницы с параллельными ножами, гильотинные, дисковые, летучие); правильные машины (ролико-правильные машины, растяжные машины); машины для обработки и отделки поверхности (травильные агрегаты непрерывного и периодического действия, агрегаты нанесения технологического покрытия, например термостойкого покрытия, цинкования, лужения, лакирования и электроизоляционного и декоративного покрытий, промасливающие машины, чистильно-моечные агрегаты для чистки, промывания и обезжиривания поверхности листовой стали, агрегаты для шлифовки полос и листов, для полировки листов, для электрохимической полировки). К этой группе также могут быть отнесены механизмы, обеспечивающие сматывание и свертывание полос в рулоны (моталки, свертывающие машины, захлестыватели), разматыватели и машины для распушивания рулонов перед высокотемпературным отжигом, контрольно-перемоточные агрегаты, сортировочные устройства, машины для обвязки и упаковки проката.
В прокатных цехах для перемещения исходных материалов, полупродукта и готовых изделий применяют следующие механизмы:
| Подача слитков от нагревательных колодцев к приемному рольгангу стана | Слитковоз |
| Безударная выдача слябов из методической печи | Устройство для выдачи слябов |
| Перемещение слитков, слябов, блюмов, заготовок и раската в продольном направлении (перемещение совпадает с продольной осью) | Транспортные, рабочие, приводные и гравитационные рольганги |
| Подача профилей на резку пачками, передача пачек профилей от ножниц на холодильник | Рольганги с косорасположенными роликами |
| Перемещение раската в направлении, параллельном его оси | Шлепперы |
| То же, с подачей в валки | Манипуляторы |
| Изменение положения раската: кантование относительно продольной оси манипуляторы в горизонтальной плоскости | Поворотные механизмы Кантователи |
| Создание запаса металла перед агрегатом в цехах холодной прокатки | Накопители |
| Точная установка рулона в горизонтальном положении по оси разматывателя или моталки | Подъемные столы с гидравлическим или пневматическим приводами |
| Перемещение раската, блюма, сляба, заготовки путем толкания | Толкатели |
| Перемещение прокатанного металла и его охлаждение | Холодильники |
| Подача металла на холодильники, штабелирующие столы, выдача металла из печи | Выталкиватели и сталкиватели |
| Остановка металла, движущегося по рольгангу, в определенном месте | Упоры с пневматическим или электрическим приводами |
| Опрокидывание слитков из вертикального в горизонтальное положение при доставке клещевым краном | Стационарные опрокидыватели |
| Штабелирование проката | Укладыватели, подъемные штабелирующие столы |
| Подъем сляба над рольгангом и поворот его | Подъемно-поворотные механизма |
| Передача рулонов | Конвейеры и транспортеры |
Для проведения операций резки, правки, обработки и отделки поверхностного металла в прокатных цехах применяют следующие механизмы:
| Резка прокатанного металла: заготовок и профилей квадратного и прямоугольного сечений в горячем состоянии перед или после прокатки мелких профилей в холодном состоянии листов, полос, сутунки, штрипсов в холодном и горячем состоянии кромок у листов и ленты, разрезание широких полос на узкие ленты движущегося металла (на ходу) балок, рельсов, заготовок квадратного и круглого сечений, а также фасонных профилей на мерные длины | Ножницы с параллельными ножами Ножницы с наклонными ножами (гильотинные) Дисковые ножницы Летучие ножницы Дисковые пилы для горячего резания (диски зубчатые), для холодного (пилы трения) |
| Правка прокатанного металла: Сортового Листового тонких листов из специальных сталей и сплавов балок, швеллеров в плоскости наибольшей жесткости их поперечного сечения, дополнительная правка концов сортовых профилей | Сортоправильные роликовые машины Листоправильные роликовые машины Растяжные машины Вертикальные и горизонтальные шатунно-эксцентриковые правильные прессы |
| Сматывание и разматывание прокатанного металла: горячекатаных полос холоднокатаных полос горячей проволоки и круглой стали диаметром 10—25 мм в бунты | Роликовые барабанные моталки Моталки барабанного типа Моталки с вращающимся и неподвижными бунтами |
| Свертывание горячекатаной протравленной полосы | Моталки роликогибочного типа |
| Разматывание рулонов перед холодной прокаткой, резкой, в агрегатах очистки, нанесения покрытий, термической обработки | Разматыватели |
| Отгибание конца полосы, свернутой в рулон | Скребковый или электромагнитный отгибатель конца полосы |
| Образование на барабане моталки первых витков холоднокатаной полосы | Ременный захлестыватель |
| Подготовка металла к прокатке: удаление окалины с поверхности горячекатаных полос осмотр качества поверхности холоднокатаных полос и удаление дефектных участков подготовка рулонов к высокотемпературному отжигу нанесение технологического декоративного или защитного покрытий очистка поверхности листовой стали от остатков покрытий и загрязнений сортировка холоднокатаной листовой стали промасливание поверхности листов маркировка и клеймение проката упаковка и обвязка проката | Травильные агрегаты непрерывного и периодического действий Контрольно-перемоточные агрегаты Агрегаты распушивания рулонов Полистные и непрерывные агрегаты нанесения покрытий Чистильно-моечные машины Сортировочные агрегаты Промасливающие машины Маркировочные и клеймовочные машины Упаковочные и вязальные машины |
| Утилизация отходов: сматывание обрезанной кромки крошение кромки пакетирование обрезки | Кромкомоталка Кромкокрошительные ножницы Пакетир-прессы |
Расчет необходимого числа единиц оборудования ведут с учетом обеспечения заданной или принятой производительности, по скорости (транспортирующие механизмы), числу циклов (ножницы) либо по другим технологическим параметрам (скорости травления, нанесения покрытия, режимом термической обработки), определяющим возможность использования того или иного механизма в прокатном цехе [3, с. 146].
Из выше перечисленного оборудования примем то, которое необходимо для непрерывно-заготовочного цеха.
Рольганги. Для транспортирования металла к прокатному стану, задачи его в валки, приема из валков и передвижения к вспомогательным машинам (ножницам, пилам, правильным машинам и т. д.) служат рольганги. Современные прокатные станы характеризуются поточным технологическим процессом обработки металла, поэтому общая длина рольгангов весьма значительна, а масса их иногда достигает 20—30 % от массы механического оборудования всего прокатного стана.
По своему назначению рольганги разделяют на рабочие и транспортные. Рабочими называют рольганги, расположенные непосредственно у рабочей клети стана и служащие для задачи прокатываемого металла в валки и приема его из валков. Транспортными называют все остальные рольганги, установленные перед рабочей клетью и за ней и связывающие между собой отдельные вспомогательные машины и устройства стана.
По конструкции рольганги выполняют с групповым и индивидуальным приводом роликов и с холостыми роликами.
Скорость вращения роликов рабочих рольгангов должна быть на 10—15 % выше скорости выходящего из валков металла, а у транспортных рольгангов она принимается в зависимости от типа и назначения стана и характера выполняемых технологических операций.
В соответствии с выполняемыми операциями различают рольганги: приемные, рабочие и транспортные.
Рабочий рольганг принимает слиток от слитковоза и передает на подводящий рольганг, который транспортирует его к рабочему рольгангу перед клетью. Первые ролики этого рольганга принимают на себя удары при опрокидывании на них слитков, и поэтому их делают цельноковаными. Часто по образующей их бочки выполняют продольное рифление, что способствует лучшему сцеплению со слитком.
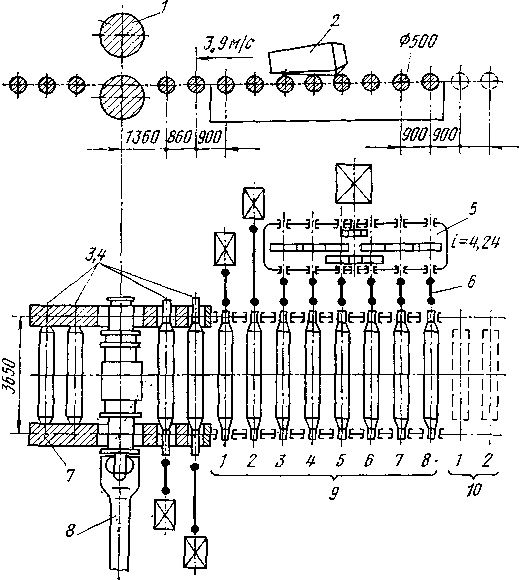
Рассмотрим рабочий рольганг блюминга 1300 (рис. 5.1).
Рабочий рольганг состоит из восьми роликов. Первые два ролика имеют индивидуальный привод от электродвигателей постоянного ток типа ДП-92 мощностью 135/43 кВт (470/150 об/мин) через зубчатые муфты удлиненного типа; максимальная окружная скорость роликов 4 м/с. Остальные шесть роликов имеют групповой привод от электродвигателя мощностью 200 кВт (500 об/мин) через редуктор (1=4,24) и паразитные промежуточные шестерни (0=37); окружная скорость роликов 3,1 м/с. Все ролики цельнокованые, диаметр 500 мм, длина бочки 2800 мм.
Рисунок 5.1 Рабочий рольганг блюминга 1300















