124471 (690024)
Текст из файла
ВВЕДЕНИЕ
В настоящее время для извлечения металлов из лома карбидов металлов, полученных путем спекания и содержащих, например WC и Со, карбиды подвергают обжигу при температуре> 1700 С (что значительно превышает обычную температуру спекания, составляющую 1400—1450 °С), а затем охлаждают. После этого обрабатываемый продукт, который становится хрупким, измельчают в порошок. При использовании этого метода для отделения карбида вольфрама от кобальта требуется очень сложная дополнительная обработка, которая сопровождается загрязнением окружающей среды. В работе рассмотрены способы извлечения вольфрама из отходов промышленных производств.
Глава 1. Пропитка порошковых формовок
Технологические приемы, используемые при получении материалов методом пропитки, отличаются главным образом способами создания давления на жидкий металл, которое должно обеспечить заполнение пор в порошковых формовках. При самопроизвольной пропитке это давление создается без приложения внешних сил, только за счет капиллярных эффектов. При вакуумной пропитке (вакуумном всасывании) заполнение пор жидкостью происходит за счет разности между атмосферным давлением и давлением, создаваемым в порах при вакуумировании пропитываемого материала. Эта разность, естественно, не может превышать величину атмосферного давления. Пропитка, осуществляемая под воздействием перепада давлений, превышающего атмосферное, например, с помощью сжатых газов или механическим путем, называется пропиткой под давлением. Давление пропитки может возникать также при наложении ультразвуковых колебаний (ультразвуковая пропитка), магнитного поля (магнитно-динамическая пропитка) и др.
1.1 Самопроизвольная пропитка
Самопроизвольная (свободная) пропитка пористых материалов осуществляется при полном их погружении в пропитывающую жидкую фазу. Преимущество этого метода - возможность использования обычной литейной оснастки и получение изделий сложной конфигурации, недостаток - наличие пор и пустот, образующихся в результате объемной усадки при кристаллизации и недостаточного заполнения порового пространства. Во всех случаях необходимым условием самопроизвольной пропитки является смачивание жидкой фазой поверхности пропитываемого материала.
Свободная пропитка редко осуществляется на воздухе из-за опасности окисления материалов. Чаще она проводится в инертной атмосфере или вакууме. Схема установки для пропитки в среде инертных газов приведена на Рисунок 1.
Рисунок 1 – Схема установки для самопроизвольной пропитки
Заготовка 8 помещается в камеру 5, которая закрывается графитовой пробкой 4, на которой расположен графитовый плавильный тигель 1 с матричным сплавом. Через отверстие в запорном плунжере 2 в тигель подается инертный газ, включается нагрев, матричный материал расплавляется, после чего плунжер 2 поднимается и жидкий металл поступает в камеру 5, пропитывая пористый каркас.
Самопроизвольную пропитку используется для изготовления изделий из псевдосплавов и керметов.
1.2 Вакуумная пропитка
Вакуумная пропитка является разновидностью пропитки под давлением, при которой в качестве движущей силы процесса используют атмосферное давление. Вакуумирование позволяет защитить пористые каркасы от окисления, как правило, улучшает смачивание, позволяет уменьшить время контакта каркаса с жидким металлом.
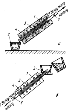
Рисунок 2 показывает схему получения материалов вакуумной пропиткой с нижним и верхним расположением тигля.
Рисунок 2 – Схема вакуумной пропитки с нижним (а) и верхним (б) расположением тигля. 1 – печь сопротивления, 2 – тигель, 3 – металлическая форма, 4 – каркас; 5 – пористая пробка.
Пропитка под давлением предусматривает заполнение пор жидким металлом под давлением, превышающим ~0,1 МПа. Она может осуществляться с помощью поршневых и компрессорных машин для литья под давлением. В первом случае, расплавленный металл вытесняется в форму, где находится пропитываемая заготовка, с помощью поршня, а во втором, сжатый воздух давит на поверхность расплавленного металла и гонит его в форму, в которой осуществляется пропитка. Широко применяется также пропитка под давлением инертных газов.
Для получения изделий, имеющих форму тела вращения (трубы, втулки, кольца), можно использовать центробежную пропитку. Подлежащий пропитке каркас помещают во вращающуюся форму, в которую заливают расплавленный металл. Под действием центробежных сил он отбрасывается к стенкам формы, пропитывая при этом пористую заготовку. Отсутствие литников и выпоров, точность получаемых размеров и высокая производительность придают этому методу большую экономичность.
Пропиткой под давлением можно получать детали сложной конфигурации с толщиной стенок 1–3 мм, при этом их форма и размеры максимально приближены к заданным и часто не требуют дополнительной механической обработки.
1.3 Ультразвуковая пропитка
Скорость движения жидкости по капиллярам и качество заполнения пор существенно интенсифицируются под действием ультразвуковых колебаний.
Рисунок 3 – Схема ультразвуковой пропитки: 1 – сосуд с жидкостью; 2 – пропитываемая заготовка; 3 – пропитывающая жидкость; 4 – нагреватель; 5 – мембрана; 6 – магнитостриктор.
Одна из возможных схем ультразвуковой пропитки приведена на Рисунок 34. В ультразвуковом поле изделия пропитываются в несколько раз быстрее, чем при самопроизвольной пропитке. Простота и технологичность позволяют легко включить ультразвуковую пропитку в поточную линию производства изделий из порошков.
1.4 Керметы, получаемые методом пропитки
Метод пропитки позволяет изготавливать композиции из различных веществ, сочетая в одном материале металл с керамикой, полимерами, графитом и другими материалами и варьируя в широких пределах эксплуатационные характеристики изделий.
Керметы (керамико-металлические материалы) – материалы, представляющие собой композиции одной или нескольких керамических фаз с металлами. Керамическую фазу в керметах обычно составляют порошки оксидов, карбидов, нитридов и других тугоплавких соединений. Считается, что объемная доля керамики в керметах может изменяться от 0,15 до 0,85. Керметы классифицируют по природе керамической составляющей (оксидные, карбидные, нитридные, боридные) и по применению (жаропрочные, износостойкие, высокоогнеупорные, коррозионно-стойкие и др.).
Микроструктура керметов может представлять собой керамическую матрицу, внутри которой расположены металлические включения; металлическую матрицу с изолированными между собой керамическими частицами; два равноправных каркаса из металла и керамики и статистическую смесь керамических и металлических частиц. Выбор той или иной структуры диктуется назначением материала и технологией его получения.
Керметы изготавливают методами порошковой металлургии – прессованием и твердофазным спеканием, жидкофазным спеканием, пропиткой, экструзией, горячим прессованием, прокаткой и др.
Изготовление керметов методом пропитки используют реже, чем жидкофазное спекание. Это связано с тем, что в большинстве случаев стремятся получить структуру кермета, при которой каждая частица карбида окружена слоем металла, чтобы обеспечить повышенные показатели ударной вязкости и трещиностойкости, а такую структуру легче получить жидкофазным спеканием, чем пропиткой. Тем не менее, в ряде случаев целесообразно использовать метод пропитки, который позволяет получать изделия сложной формы с практически нулевой пористостью, регулировать время контактирования тугоплавкого соединения с жидким металлом (сплавом) и пригоден для выпуска деталей больших серий.
Работоспособность кермета контролируется как свойствами его составляющих и их относительной концентрацией, так и прочностью их связи, а также структурой тугоплавкого каркаса, формирующегося на стадии предварительного спекания под пропитку. На этой стадии необходимо обеспечить требуемую пористость, определенный размер пор и зерен, а также прочность самого каркаса.
Одним из наиболее важных моментов в регулировании свойств керметов является управление межфазным взаимодействием. Оптимальным в смысле обеспечения прочности является термодинамически равновесная адгезия между фазами.
Теоретические оценки и накопленный экспериментальный опыт по межфазному взаимодействию позволяют установить правила выбора металлических матриц для керметов. В керметах, содержащих оксиды, металлическая составляющая должна иметь меньшее сродство к кислороду, чем металл оксида, или образовывать оксиды, изоморфные основной оксидной составляющей кермета (например, оксид алюминия - хром). В керметах на основе карбидов рекомендуется в качестве металлической фазы применять металлы, которые не образуют карбидов. Металлическая связка нитридных керметов не должна образовывать стойких нитридов, а силицидных – не должна взаимодействовать с кремнием, поскольку последний в силицидах имеет практически такую же активность, как в свободном состоянии.
Прочность связи на межфазной границе можно регулировать в широких пределах при получении керметов за счет введения в расплавленный металл адгезионно-активных добавок.
Керметы типа металл - тугоплавкое соединение используют в качестве фрикционных, антифрикционных, конструкционных, огнеупорных, износостойких, эрозионностойких и абразивных материалов. Рассмотрим некоторые керметы, получаемые пропиткой карбидных каркасов металлическими расплавами.
1.5 Керметы на основе карбида вольфрама
Наиболее распространенными керметами являются сплавы системы WC-Co. При нагреве прессовки из карбида вольфрама, на которую сверху положен чистый кобальт (Рисунок 4, а), происходит частичное спекание карбидных частиц. При температурах 1550 К образуется эвтектика и в местах контакта прессовки с кобальтом появляется жидкая фаза, пропитывающая карбидный каркас (Рисунок 4, б).
При более низких температурах растворение карбида в кобальте пренебрежимо мало. Десятиминутная выдержка при 1720 К приводит к полному расплавлению кобальта и пропитке каркаса, однако при этом верх изделия плотнее и богаче связующим металлом, чем его нижняя часть. Для выравнивания состава по всему объему требуется выдержка 2–4 ч при той же температуре (Рисунок 35, в). На поверхности каркаса в процессе пропитки образуются раковины глубиной 1-3 мм в результате растворения карбида вольфрама в кобальте. При охлаждении до комнатной температуры происходит выделение карбида вольфрама из раствора и рост его частиц (Рисунок 35, г). Структура твердого сплава состоит из частиц карбид; (1), окруженных матрицей из кобальтовой фазы (). В процессе высокотемпературной выдержки происходит растворение первоначальных карбидных мостиков и усадка материала.
Рисунок 4 – Схема пропитки карбида вольфрама чистым кобальтом (а – г) и сплавами кобальта с карбидом вольфрама эвтектического (д, е) и заэвтектического состава (ж, з): а, д, ж – 293 -1553 К; б – 1553 К; в – 1673-1753 К; г,е.з – 293 К.
При пропитке пористого карбидного каркаса сплавом эвтектического состава (Co-27WC) раковины на поверхности образца не образуются (Рисунок 35, д, е), наблюдается только незначительная шероховатость поверхности. Если же для пропитки используют сплав с избытком карбида (Рисунок 35, ж, з), то на пропитываемом изделии остается легко удаляемый слой из карбида вольфрама и кобальта. Таким образом, предварительное насыщение металла элементами, из которых состоит тугоплавкое соединение, позволяет устранить появление раковин.
Пропиткой спрессованного карбида вольфрама медью, медно-никелевым сплавом Cu–10%Ni, марганцевым мельхиором МНМц60-20–20 и медносеребряным сплавом получали керметы, предназначенные для работы в торцевых уплотнениях насосов, перекачивающих кислоты и щелочи.
1.6 Керметы на основе карбида титана
Характеристики
Тип файла документ
Документы такого типа открываются такими программами, как Microsoft Office Word на компьютерах Windows, Apple Pages на компьютерах Mac, Open Office - бесплатная альтернатива на различных платформах, в том числе Linux. Наиболее простым и современным решением будут Google документы, так как открываются онлайн без скачивания прямо в браузере на любой платформе. Существуют российские качественные аналоги, например от Яндекса.
Будьте внимательны на мобильных устройствах, так как там используются упрощённый функционал даже в официальном приложении от Microsoft, поэтому для просмотра скачивайте PDF-версию. А если нужно редактировать файл, то используйте оригинальный файл.
Файлы такого типа обычно разбиты на страницы, а текст может быть форматированным (жирный, курсив, выбор шрифта, таблицы и т.п.), а также в него можно добавлять изображения. Формат идеально подходит для рефератов, докладов и РПЗ курсовых проектов, которые необходимо распечатать. Кстати перед печатью также сохраняйте файл в PDF, так как принтер может начудить со шрифтами.















