124369 (689988)
Текст из файла
Содержание
Введение
1.Характеристика предприятия
2. Устройство системы смазки двигателя
2.1 Назначение и общее устройство системы смазки
2.2 Принцип работы системы смазки
2.3 Отказы и неисправности системы смазки
3. Техническое обслуживание системы смазки
4. Ремонт масляного насоса
5. Охрана труда
5.1 Техника безопасности при проведении технического обслуживания автомобиля
Литература
Введение
Автомобилестроение Республики Беларусь
Беларусь специализируется на производстве грузовых автомобилей. В последние годы здесь совершен прорыв в качестве выпускаемых грузовиков, автобусов и специальных машин. На предприятиях отрасли выпускаются машины грузоподъемностью до 220 тонн. Наращиваются объемы производства и улучшается качество продукции. Только Минский автомобильный завод выпускает более ста модификаций грузовых автомобилей. Это единственное предприятие в СНГ, которое выпускает магистральные автопоезда, соответствующие требованиям ЕВРО-2. На 5-ом Российском международном автосалоне, который проходил 23-29 августа 2001 года, МАЗ вновь, уже по традиции, продемонстрировал новинку производства - седельный тягач, соответствующий нормам стандарта "Евро-3". Уже до конца 2001 года завод готов выполнять заказы потребителей на поставку такой машины. Этот седельный тягач представлен в составе автопоезда с новым трехосным полуприцепом. Кроме того, впервые завод подготовил к серийному производству новый самосвальный автопоезд и автобус большой вместимости марки "МАЗ-107".
Автомобилестроение включает 35 предприятий и организаций, выпускающих автомобили и автопоезда для международных перевозок, самосвалы и лесовозы, полноприводные автомобили повышенной проходимости, сверхтяжелые карьерные самосвалы и самосвальные автоприцепы, погрузчики, самоходные скреперы, грузовые прицепы и полуприцепы, прицепы-дачи к легковым автомобилям, велосипеды, мотоциклы, комплектующие и запчасти к автомобильной технике. В состав отрасли входят специализированные научно-исследовательские и конструкторско-технологические институты, которые обеспечивают разработку новых изделий, технологий и оборудования.
ОСНОВНЫЕ ПРЕДПРИЯТИЯ АВТОМОБИЛЕСТРОИТЕЛЬНОГО КОМПЛЕКСА БЕЛАРУСИ:
Минский автомобильный завод выпускает автомобили и автопоезда, седельные тягачи для междугородных и международных перевозок, самосвалы, лесовозы, грузовые прицепы и полуприцепы, городские и междугородные автобусы, прицепы-дачи к легковым автомобилям.
Минский завод колесных тягачей выпускает автопоезда-тяжеловозы большой грузоподъемности, внедорожные полноприводные колесные шасси и самосвалы, автокраны.
Белорусский автомобильный завод в г. Жодино выпускает тяжелые и сверхтяжелые карьерные самосвалы, грузовые, грузопассажирские и санитарные автомобили малой грузоподъемности, погрузчики.
Могилевский автомобильный завод им. С. М. Кирова выпускает самоходные скреперы, автопоезда для подземных рудников и тоннелей, тягачи для буксировки самолетов, погрузчики для горных работ, автобетоносмесители.
Минский моторный завод выпускает четырех- и шестицилиндровые дизельные двигатели для автотракторостроения, в том числе с турбонаддувом.
Минский мотоциклетный и велосипедный завод выпускает дорожные, спортивные, горные, туристические велосипеды, мотоциклы.
Гродненское предприятие "Белкард" выпускает карданные валы к автомобильной технике.
Борисовский завод "Автогидроусилитель" выпускает гидроусилители рулевого управления для автомобилей.
Борисовский завод автотракторного электрооборудования выпускает стартеры и другое электрооборудование для автотракторной техники.
Гродненский завод автомобильных агрегатов выпускает амортизаторы, тормозные камеры, детские велосипеды.
1. Характеристика предприятия
Место нахождения предприятия:
230768, г. Гродно, ул. Суворова, 256.
Площадь территории, занимаемая предприятием, составляет 8,1 га, из них сдано в аренду 0,61 га. Основной задачей ДУП «ГАП №1» является обеспечением устойчивых транспортных связей между постановщиками и потребителями, осуществлений социально-значимых перевозок, оказаний платных услуг населению и юридическим лицам, создание оптимальных условий труда и быта работников предприятия.
Основными заказчиками автотранспорта является: ОАО « Гродненский мясокомбинат», ОАО « Продсервис», ОАО « Гродномолкомбинат», РУПП « Гроднохлебпром», табачная фабрика « Неман», КШП Ленинского и Октябрьского районов и прочие. Дочернее унитарное предприятие «Грузовой автомобильный парк №1» г. Гродно осуществляет перевозки хлебобулочных, молочных, мясных бакалейных товаров и т.д. в закрытые учреждения и торговую сеть города. ДУП « ГАП №1» полностью удовлетворяет потребности заказчиков в перевозках, имеет лицензии на осуществлении всех видов грузовых перевозок, в том числе на перевозку опасных грузов, а также на выполнение всех видов ремонта, технического обслуживания грузовых и легковых автомобилей. Удельный вес автомобилей, работающих на сжатом газе, составляет в их общем количестве- 80,6%.
Основные виды деятельности ДУП «ГАП №1»:
-
Внутригородские, социально-значимые перевозки;
-
Междугородные и международные перевозки грузов;
Удельный вес городских перевозок в общем объёме доходов составляет 66,3%, междугородных- 24,8%, международных- 8,9%.
-
Услуги экспедиционного характера;
-
Техническое обслуживание, ремонт, мойка и санитарная обработка автомобилей и автобусов, услуги автосервиса;
-
Проведений государственного технического осмотра механических транспортных средств;
-
Услуги по переоборудованию, монтажу и обслуживанию газобаллонной аппаратуры на автомобилях;
-
Прочие виды услуг (первичная медико-санитарная помощь и освидетельствование водителей на доступ к работе, проведений контроля технического состояния автотранспортных средств перед выездом на линию, платная стоянка автомобилей).
2. Устройство системы смазки двигателя
2.1 Назначение и общее устройство системы смазки
Смазочная система предназначена для подачи масла к трущимся поверхностям с целью уменьшения трения, охлаждения поверхностей и удаления продуктов изнашивания из зон трения.
Если рабочие поверхности деталей абсолютно сухие и непосредственно соприкасаются одна с другой, то такое трение называется сухим. Работа механизмов при сухом трении требует значительных затрат энергии и сопровождается повышенным изнашиванием, а также значительным выделением теплоты.
Трение между рабочими поверхностями, разделенными достаточно толстым слоем масла, называется жидкостным. В этом случае усилие, необходимое для перемещения деталей, значительно сокращается и резко уменьшается их изнашивание. В ДВС жидкостное трение удается осуществить в основном только в подшипниках коленчатого вала на рабочих режимах. Остальные сопряженные пары движутся возвратно-поступательно или качаются, поэтому на их поверхностях не удается сохранить масляный слой достаточной толщины. Такое трение, когда рабочие поверхности разделены лишь тонкой пленкой масла (0,1 мм и менее), называется граничным. В зависимости от толщины пленки граничное трение может быть полужидкостным или полусухим. Последнее характеризуется возможностью «схватывания» микровыступов трущихся поверхностей, склонностью к задирам и эрозивному изнашиванию.
Полужидкостное трение наиболее характерно для деталей цилинд-ропоршневой группы. В паре «выпускной клапан—направляющая втулка» возможно возникновение полусухого трения.
Нельзя допускать и избыточного смазывания, так как это может привести к попаданию масла в камеру сгорания и на электроды свечей зажигания, вследствие чего увеличивается нагарообразование на днищах поршней, стенках камеры сгорания и клапанах. Это приводит к перегреву и перебоям в работе двигателя, а также к перерасходу масла.
Требования, предъявляемые к смазочной системе:
• бесперебойная подача масла к трущимся деталям на всех режимах работы двигателя, на подъемах и спусках автомобиля с уклоном до 35 % и при крене до 25 %, при температуре окружающей среды от +50 до -50°С, при положительных и отрицательных горизонтальных и вертикальных ускорениях;
• достаточная степень очистки масла от механических примесей;
• продолжительная работа двигателя под нагрузкой без перегрева масла;
• прочная конструкция;
• удобство технического обслуживания.
В зависимости от способа подачи масла к трущимся поверхностям различают следующие способы смазывания:
• разбрызгивание и посредством масляного тумана;
• под давлением;
• комбинированное.
Под давлением масло подводится к трущимся деталям из главной масляной магистрали, давление в которой создается насосом.
Разбрызгивание осуществляется специальными форсунками или подвижными частями КШМ (путем создания масляного тумана, стекающего в картер из масла).
Комбинированная система смазывания сочетает в себе первые два способа.
Под давлением масло подводится к коренным и шатунным подшипникам коленчатого вала, опорам распределительного вала, сочленениям привода ГРМ, зубчатым колесам привода распределительного вала, топливному насосу высокого давления дизеля.
В некоторых двигателях под давлением смазываются сопряжения верхней головки шатуна с поршневым пальцем.
Разбрызгиванием масло подается на зеркало цилиндра из отверстия в кривошипной головке шатуна, а также разбрызгивается форсунками на днище поршня. Форсунки могут быть расположены и в нижней части цилиндра.
Существует способ смазывания самотеком, когда подача масла осуществляется по каналам из резервуаров, карманов и различных углублений, расположенных выше смазываемых поверхностей.
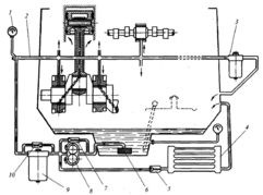
Рис. 1. Смазочная система с «мокрым» картером: 1 — манометр; 2— главная масляная магистраль; 3 — фильтр тонкой очистки; 4 — масляный радиатор; 5 — предохранительный клапан радиатора; 6 — маслозаборник; 7 — редукционный клапан; 8 — масляный насос; 9 — фильтр грубой очистки; 10 — перепускной клапан фильтра.
В зависимости от места размещения основного запаса масла смазочные системы могут быть с «мокрым» (рис. 1) или «сухим» (рис. 2) картером.
Наибольшее распространение на автомобильных двигателях получили смазочные системы с «мокрым» картером, которые имеют более простую конструкцию. В этом случае основной запас масла находится в поддоне картера и при работе двигателя масло подается к трущимся деталям масляным насосом.
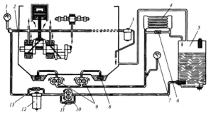
В системах с «сухим» картером основной запас масла содержится в отдельном масляном баке 5 и масло подается к трущимся деталям нагнетающей секцией масляного насоса. Стекающее в поддон масло полностью удаляется из него откачивающими секциями масляного насоса 9 и вновь подается в масляный бак.
Смазочная система с «сухим» картером обеспечивает продолжительную работу на крутых подъемах, спусках и при кренах без утечки масла через уплотнительные манжеты коленчатого вала, а также дает возможность уменьшить высоту двигателя. Кроме того, при «сухом» картере масло в меньшей степени нагревается от горячих деталей и подвергается воздействию картерных газов, благодаря чему дольше служит.
Рис. 2. Смазочная система с «сухим» картером: 1 — манометр; 2 — главная масляная магистраль; 3 — фильтр тонкой очистки; 4 — масляный радиатор; 5 — масляный бак; 6 — перепускной клапан радиатора; 7 — указатель температуры масла; 8 — маслозаборник; 9 — откачивающие секции масляного насоса; 10 — нагнетающая секция масляного насоса; 11 — редукционный клапан; 12 — фильтр грубой очистки; 13 — перепускной клапан фильтра; 14 — картер двигателя
В смазочных системах автомобильных ДВС используются специальные моторные масла, которые в России классифицируют в соответствии с ГОСТ 17479.1-85.
К моторным маслам предъявляется ряд требований:
• низкая температура застывания;
• минимальное изменение вязкости при максимальном изменении температуры;
Характеристики
Тип файла документ
Документы такого типа открываются такими программами, как Microsoft Office Word на компьютерах Windows, Apple Pages на компьютерах Mac, Open Office - бесплатная альтернатива на различных платформах, в том числе Linux. Наиболее простым и современным решением будут Google документы, так как открываются онлайн без скачивания прямо в браузере на любой платформе. Существуют российские качественные аналоги, например от Яндекса.
Будьте внимательны на мобильных устройствах, так как там используются упрощённый функционал даже в официальном приложении от Microsoft, поэтому для просмотра скачивайте PDF-версию. А если нужно редактировать файл, то используйте оригинальный файл.
Файлы такого типа обычно разбиты на страницы, а текст может быть форматированным (жирный, курсив, выбор шрифта, таблицы и т.п.), а также в него можно добавлять изображения. Формат идеально подходит для рефератов, докладов и РПЗ курсовых проектов, которые необходимо распечатать. Кстати перед печатью также сохраняйте файл в PDF, так как принтер может начудить со шрифтами.
















